TOP
|
特許
|
意匠
|
商標
特許ウォッチ
Twitter
他の特許を見る
公開番号
2025164629
公報種別
公開特許公報(A)
公開日
2025-10-30
出願番号
2024076822
出願日
2024-04-18
発明の名称
転落防止階段
出願人
個人
代理人
主分類
B66B
9/08 20060101AFI20251023BHJP(巻上装置;揚重装置;牽引装置)
要約
【課題】本発明は安全に階上に移動できる階段昇降人力装置と転落防止装置を提供する。
【解決手段】既設の階段に階段板を踏まず定位置で足踏み力と手動力で階段の昇降を省力で転落防止が出来る安全装置である。
【選択図】図3
特許請求の範囲
【請求項1】
階段の各段を足踏みで昇降不要の階段昇降人力装置と転落防止装置。
続きを表示(約 200 文字)
【請求項2】
昇降装置内での定位置足踏み力・手動力で階段の昇降。
【請求項3】
ペタル入力・円形動輪入力・省力変換装置・階段昇降装置ワイヤ―ロ―プ巻取り巻き戻し動輪。
稼働方法は歯車・滑車・スクリュ回転昇降方法
【請求項4】
本階段昇降装置にブレーキ・各段にストップ装置・緊急停止装置。
【請求項5】
階段より転落防止手摺・枠囲。
発明の詳細な説明
【技術分野】
【0001】
本発明は、従来からの通常型足踏み階段での転落事故によるケガ、死亡の多発による防止対策として階段昇降安全装置の提供をする。
続きを表示(約 1,700 文字)
【背景技術】
【0002】
一般的の日本家屋に於いてもその建築には階上、階下に移動するに梯子状にて一段毎に片足の踏力で階上階下に移動するため不安定になり定位置で省力の足踏力と手動によるその解決を行った。
【先行技術文献】
【0003】
【発明の概要】
【発明が解決しようとする課題】
【0004】
これは次のような欠点があった。
イ階段の踏み板での階上階下の移動には常に片足による動作で特に1段の踏み外しに於いても頭部より転倒重大な事故は後を絶たない現状。
ロ階上より転落防止には、手摺棒は落下防止には不完全。
ハ電動による階上階下の移動装置はあるがその設置費用は多額であり該当するすべての家屋に到底普及は困難である。
【問題を解決するための手段】
【0005】
既設の階段に階段板を踏まず定位置で足踏み力と手動力で階段の昇降を省力で転落防止を出来る安全装置を開発した。
【発明の効果】
【0006】
階段による落下・躓き事故の回避と脚力の弱い方々に合理的コストで安心を提供。
【図面の簡単な説明】
【0007】
転落防止階段の1階より2階に設置した側面図。
転落防止階段の横面図。
転落防止階段の側面拡大図。
転落防止階段の正面図。
転落防止階段の本発明のユニット装置図。
【本発明を実施する形態】
【0008】
以下、発明を実施する形態について説明
本発明の転落防止階段は既設の階段に設置と階段の昇降には定位置で階段昇降装置内で省力足踏み力・手動でも行う。
【符号の説明】
【0009】
[図1]転落防止階段の1階より2回に設置した側面図
1.家屋の1階の梁に設置図
2.階段昇降装置のレ―ル
3.階段昇降装置のワイヤ―ロ-プ
4.階段昇降装置の移動床面
5,階段昇降装置の昇降入力足踏みペタル
6.階段昇降装置のペタル入力で伝達円形動輪稼働
7.階段昇降装置の円形動輪力の省力変換装置
8.階段昇降装置移動のワイヤ―ロ-プ巻取り戻し動輪
9.階段昇降装置の稼働動輪軸
10.階段昇降装置
[図2]転落防止階段横面図
1.既設階段設置設梁
2.階段昇降装置レ―ル
3.階段昇降装置ワイヤ―ロ-プ
4.階段昇降装置移動床面
5.階段昇降装置入力足踏みペタル
6.階段昇降装置ベタル入力伝達円形動輪
7.階段昇降装置円形動輪省力の変換装置
8.階段昇降装置のワイヤ―ロ-プ巻取り戻し動輪
9.階段昇降稼働動輪軸
10.階段昇降装置
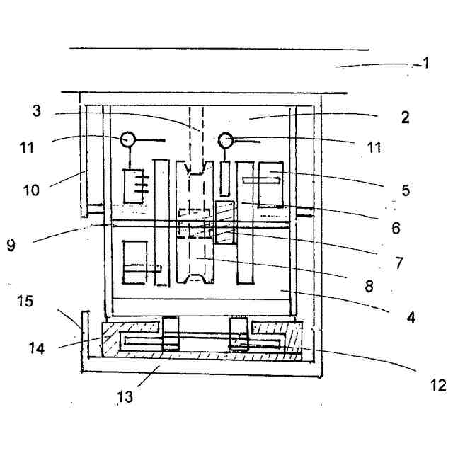
[図3]転落防止階段の側面拡大図
1.梁
2.階段昇降装置レ―ル
3.階段昇降装置ワイヤ―ロ-プ
4.階段昇降装置移動床面
5.階段昇降装置入力伝達足踏みペタル
6.階段昇降装置ペタル入力伝達円形動輪
7.階段昇降装置円型動輪省力変換装置
8.階段昇降装置のワイヤ―ロ-プ巻取り巻き戻し動輪
9.階段昇降装置稼働軸
10.階段昇降装置
11.階段昇降装置ブレーキ・ストッパー装置
12.階段昇降装置移動軌道レ-ル輪コマ
13.階段昇降装置より転落防止枠
14階段昇降装置レ-ル軌道拡大図
[図4]転落防止階段正面図
1.既設階設置段梁
2.階段昇降装置レ-ル
3.階段昇降装置ワイヤ―ロ-プ
4.階段昇降装置移動床面
5.階段昇降装置入力伝達足踏みペタル
6.階段昇降装置ペタル入力伝達円形動輪
7.階段昇降円型動輪省力変換装置
8.階段昇降装置のワイヤ―ロ-プ巻取り巻く戻し動輪
9.階段昇降装置稼働軸
10.階段昇降装置
11.階段昇降装置ブレ-キ・ストッパ―装置
12.階段昇降装置移動軌道レ―ル輪コマ
この特許をJ-PlatPat(特許庁公式サイト)で参照する
関連特許
個人
自走手摺
3か月前
個人
転落防止階段
2日前
ユニパルス株式会社
吊具
4か月前
個人
海上コンテナ昇降装置
10か月前
ユニパルス株式会社
吊具装置
11か月前
ユニパルス株式会社
荷役装置
9か月前
水戸工業株式会社
吊り具
6か月前
ユニパルス株式会社
リフト装置
5か月前
株式会社豊田自動織機
荷役車両
9か月前
株式会社豊田自動織機
荷役車両
10か月前
株式会社いうら
車椅子用昇降機
3か月前
株式会社豊田自動織機
産業車両
1か月前
株式会社豊田自動織機
産業車両
11か月前
ユニパルス株式会社
荷役助力装置
4か月前
ユニパルス株式会社
荷役助力装置
3か月前
大栄産業株式会社
クランプ
5か月前
株式会社大林組
安全支援システム
2か月前
株式会社伊藤
滑り止め装置
2か月前
岐阜工業株式会社
運搬台車
3日前
個人
垂直自動搬送機
1か月前
個人
エアバック式レスキュー用品
25日前
愛知製鋼株式会社
受け架台
2か月前
ユニパルス株式会社
荷役助力装置
6か月前
白山工業株式会社
バランサ
7か月前
株式会社ユピテル
システム等
6か月前
株式会社キトー
タイヤ用吊具
6か月前
株式会社豊田自動織機
フォークリフト
1か月前
フジテック株式会社
エレベータ
9か月前
新英運輸株式会社
自動車用台車
6か月前
大和ハウス工業株式会社
吊上具
2か月前
株式会社五十鈴製作所
搬送装置
5か月前
株式会社豊田自動織機
フォークリフト
8か月前
中国計量大学
電子安全クランプ
1か月前
有限会社サエキ
玉掛用器具
10か月前
中坪造園有限会社
吊り荷降ろし具
5か月前
フジテック株式会社
エスカレータ
6か月前
続きを見る
他の特許を見る