TOP
|
特許
|
意匠
|
商標
特許ウォッチ
Twitter
他の特許を見る
公開番号
2025039426
公報種別
公開特許公報(A)
公開日
2025-03-21
出願番号
2023146515
出願日
2023-09-08
発明の名称
バランサ
出願人
白山工業株式会社
代理人
個人
主分類
B66F
19/00 20060101AFI20250313BHJP(巻上装置;揚重装置;牽引装置)
要約
【課題】より軽量で扱いやすいバランサを提供すること。
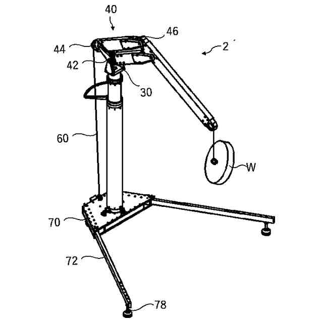
【解決手段】基台bから上方に延在する支柱10と、支柱10に対して流体圧Pにより上下に移動可能な支持体20と、支持体20に支持される等比伸縮機構40であって、等比伸縮機構40の中央の支点42が支持体に水平軸回りに回転可能に支持され、等比伸縮機構40の両端44、48のうち一方の端点48で対象物Wを吊下する、等比伸縮機構40と、等比伸縮機構40の両端44、48のうち他方の端点44に一端62が接続され、他端64が上下方向に拘束され、鉛直方向に延在して軸方向に伸縮しない運動拘束部材60を備える、バランサ1。
【選択図】図1
特許請求の範囲
【請求項1】
基台から上方に延在する支柱と;
前記支柱に対して流体圧により上下に移動可能な支持体と;
前記支持体に支持される等比伸縮機構であって、該等比伸縮機構の中央の支点が前記支持体に水平軸回りに回転可能に支持され、前記等比伸縮機構の両端のうち一方の端点で対象物を吊下する、等比伸縮機構と;
前記等比伸縮機構の前記両端のうち他方の端点に一端が接続され、他端が上下方向に拘束され、鉛直方向に延在して軸方向に伸縮しない運動拘束部材を備える;
バランサ。
続きを表示(約 590 文字)
【請求項2】
前記流体圧は、前記支柱の内部に充填された流体の圧力である;
請求項1に記載のバランサ。
【請求項3】
前記運動拘束部材は、前記他方の端点と、前記基台または前記支柱に固定された固定点とを繋ぐワイヤまたはリンクである;
請求項1に記載のバランサ。
【請求項4】
水平方向に延在する支持脚を有し、キャスタを備える可動な基台をさらに備える;
請求項3に記載のバランサ。
【請求項5】
前記等比伸縮機構を前記支持体に対し垂直軸方向回りに回転可能とする等比伸縮機構回転要素を備える;
請求項1ないし請求項4のいずれか1項に記載のバランサ。
【請求項6】
前記運動拘束部材はリンクで構成され、
前記リンクの支柱に対する回転運動を拘束するストッパを有する;
請求項1ないし請求項4のいずれか1項に記載のバランサ。
【請求項7】
前記支柱は、前記基台に対し鉛直軸回りに回転可能であり、
前記運動拘束部材を固定する固定点は、前記支柱と共に回転する;
請求項1ないし請求項4のいずれか1項に記載のバランサ。
【請求項8】
前記等比伸縮機構がパンタグラフ機構である;
請求項1ないし請求項4のいずれか1項に記載のバランサ。
発明の詳細な説明
【技術分野】
【0001】
本発明は、バランサに関する。特に、軽量で扱いやすいバランサに関する。
続きを表示(約 1,600 文字)
【背景技術】
【0002】
従来から重量物を高い位置決め精度で搬送するための搬送具として、ロードバランサ(本書では、単に「バランサ」と称する。)が知られている。例えば非特許文献1に開示されているバランサでは、支柱上に鉛直軸回りに回転可能な駆動部を有し、駆動部から平行リンク機構を用いたアームで荷重を吊下する。平行リンクの対向する2支点間の長さをエアシリンダで調整して、荷重を支える。
【0003】
また、非特許文献2に開示されたバランサでは、支柱上に鉛直軸回りに回転可能な駆動部を有し、駆動部から平行リンク機構を用いたアームで荷重を吊下する。平行リンクの片方のリンクを駆動部からエアシリンダで斜め方向に引き寄せることで、平行リンクの駆動部に対する角度を調整して、荷重を支える。
【先行技術文献】
【非特許文献】
【0004】
URL:https://premium.ipros.jp/piotec/product/detail/2000113824/
URL:https://www.toyokoken.co.jp/products/detail_balancer.php?id=27P5MLK
【発明の概要】
【発明が解決しようとする課題】
【0005】
非特許文献1に開示されたバランサおよび非特許文献2に開示されたバランサでは、リンク機構が支持する荷重をエアシリンダによりバランスさせており、また、カウンタウェイトを支柱上の駆動部に持たせており、バランサそのものが大きくなりがちであり、支持する荷重に応じて適切なカウンタウェイトとする必要があり、さらなる軽量化および使いやすさが求められていた。
【0006】
そこで、本発明は、より軽量で扱いやすいバランサを提供することを課題とする。
【課題を解決するための手段】
【0007】
上記課題を解決するために、本発明の第1の態様に係るバランサ1は、例えば図1に示すように、基台bから上方に延在する支柱10と、支柱10に対して流体圧Pにより上下に移動可能な支持体20と、支持体20に支持される等比伸縮機構40であって、等比伸縮機構40の中央の支点42が支持体20に水平軸回りに回転可能に支持され、等比伸縮機構40の両端44、48のうち一方の端点48で対象物Wを吊下する、等比伸縮機構40と、等比伸縮機構40の両端44、48のうち他方の端点44に一端62が接続され、他端64が上下方向に拘束され、鉛直方向に延在して軸方向に伸縮しない運動拘束部材60を備える。
【0008】
このように構成すると、等比伸縮機構の一端で荷重を吊下し、他の一端の上下方向を運動拘束部材で拘束し、その間で支持体により上下移動可能に支持するので、支持体を上下に移動することで吊下する対象物を上下移動することができる。すなわち、支持体を上下移動するだけであるので、シンプルな構造のため軽量で扱いやすいバランサとなる。
【0009】
また、本発明の第2の態様に係るバランサ1では、例えば図1に示すように、流体圧Pは、支柱10内部に充填された流体Fの圧力である。このように構成すると、支柱の内部に充填された流体で支持体を上下する流体圧を得られるので、支柱がシリンダとして機能し、構造がシンプルで軽量となる。
【0010】
また、本発明の第3の態様に係るバランサ1では、例えば図1に示すように、運動拘束部材は、他方の端点44と、基台bまたは支柱10に固定された固定点64とを繋ぐワイヤ60またはリンクである。このように構成すると、運動拘束部材が他方の端点と固定点とを繋ぐワイヤまたはリンクであるので、構造がシンプルで軽量となる。
(【0011】以降は省略されています)
この特許をJ-PlatPat(特許庁公式サイト)で参照する
関連特許
白山工業株式会社
植物這い上がり防止装置
1か月前
白山工業株式会社
光給電式震源装置及びそれを用いた観測システム
7か月前
個人
自走手摺
4か月前
個人
転落防止階段
22日前
ユニパルス株式会社
吊具
5か月前
個人
小型クレーン
16日前
個人
海上コンテナ昇降装置
11か月前
ユニパルス株式会社
吊具装置
11か月前
ユニパルス株式会社
荷役装置
10か月前
水戸工業株式会社
吊り具
7か月前
株式会社豊田自動織機
産業車両
2か月前
株式会社いうら
車椅子用昇降機
3か月前
株式会社豊田自動織機
荷役車両
11か月前
株式会社豊田自動織機
荷役車両
10か月前
ユニパルス株式会社
リフト装置
5か月前
岐阜工業株式会社
運搬台車
23日前
個人
エアバック式レスキュー用品
1か月前
大栄産業株式会社
クランプ
6か月前
愛知製鋼株式会社
受け架台
3か月前
ユニパルス株式会社
荷役助力装置
5か月前
ユニパルス株式会社
荷役助力装置
6か月前
株式会社大林組
安全支援システム
2か月前
白山工業株式会社
バランサ
8か月前
ユニパルス株式会社
荷役助力装置
4か月前
個人
垂直自動搬送機
2か月前
株式会社伊藤
滑り止め装置
3か月前
株式会社キトー
タイヤ用吊具
6か月前
株式会社ユピテル
システム等
7か月前
個人
アウトリガー用転倒防止ベース
15日前
中国計量大学
電子安全クランプ
1か月前
株式会社豊田自動織機
フォークリフト
2か月前
株式会社豊田自動織機
フォークリフト
8か月前
株式会社五十鈴製作所
搬送装置
5か月前
フジテック株式会社
エレベータ
10か月前
大和ハウス工業株式会社
吊上具
3か月前
新英運輸株式会社
自動車用台車
6か月前
続きを見る
他の特許を見る