TOP
|
特許
|
意匠
|
商標
特許ウォッチ
Twitter
他の特許を見る
公開番号
2025058786
公報種別
公開特許公報(A)
公開日
2025-04-09
出願番号
2023168930
出願日
2023-09-28
発明の名称
エスカレータ
出願人
フジテック株式会社
代理人
個人
主分類
B66B
29/04 20060101AFI20250402BHJP(巻上装置;揚重装置;牽引装置)
要約
【課題】欄干の下部の通路側の表面と踏段の側縁との間の隙間に物が挟まれるのを好適に抑制することができるエスカレータを提供する。
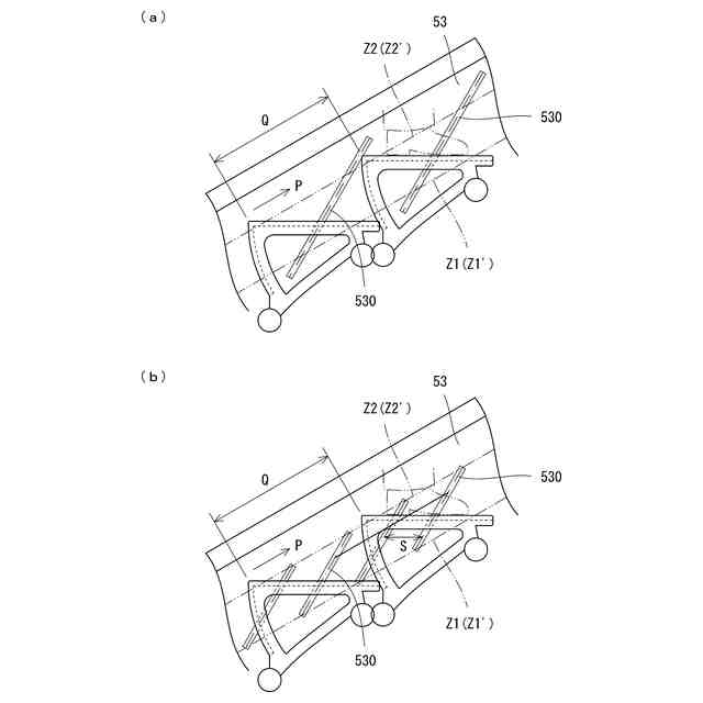
【解決手段】エスカレータは、欄干の下部53の通路側の表面に、踏段41の側縁と接触しないように突出しかつ下記(A)及び(B)の条件を満たす凸条部530を移動方向Pに所定のピッチで複数備える。(A)凸条部530が水平方向に対する移動方向Pの傾斜角度R1よりも大きい傾斜角度R2で傾斜する、(B)凸条部530の下側が線Z1と交わるとともに、凸条部530の上側が線Z2と交わる
【選択図】図4
特許請求の範囲
【請求項1】
無端状に連結されて通路に沿って循環移動する複数の踏段からなる無端搬送体により乗客を斜め上方に搬送する搬送部と、無端搬送体の側方に通路に沿って配置され、ハンドレールを循環移動可能に支持する欄干とを備える上りのエスカレータであって、
欄干の下部の通路側の表面に、踏段の側縁と接触しないように突出しかつ下記(A)及び(B)の条件を満たす凸条部を移動方向に所定のピッチで複数備える
エスカレータ。
(A)凸条部が水平方向に対する移動方向の傾斜角度よりも大きい傾斜角度で傾斜する
(B)凸条部の下側が線Z1と交わるとともに、凸条部の上側が線Z2と交わる
線Z1:前記表面における線Y1との交点を通り移動方向と平行な線
(線Y1:1つの踏段の移動方向側の隣の踏段の先縁を通る鉛直面と当該1つの踏段の上面との交線)
線Z2:前記表面における線Y2との交点を通り移動方向と平行な線
(線Y2:当該1つの踏段の移動方向と反対側の隣の踏段の基縁を通る鉛直面と当該1つの踏段の上面との交線)
続きを表示(約 420 文字)
【請求項2】
凸条部は、さらに下記(C)の条件を満たす
請求項1に記載のエスカレータ。
(C)移動方向における凸条部のピッチが移動方向における踏段のピッチの33%以上である
【請求項3】
凸条部は、さらに下記(D)の条件を満たす
請求項1又は請求項2に記載のエスカレータ。
(D)移動方向における凸条部のピッチが移動方向における踏段のピッチの100%又は100%以下である
【請求項4】
凸条部は、さらに下記(E)の条件を満たす
請求項1又は請求項2に記載のエスカレータ。
(E)水平方向における凸条部間の距離が25cm以下である
【請求項5】
凸条部は、さらに下記(F)の条件を満たす
請求項1又は請求項2に記載のエスカレータ。
(F)凸条部の傾斜角度と移動方向の傾斜角度との差が30°±10°の範囲内である
発明の詳細な説明
【技術分野】
【0001】
本発明は、循環移動する無端搬送体により乗客を階上に搬送する上りのエスカレータに関する。
続きを表示(約 1,800 文字)
【背景技術】
【0002】
エスカレータは、無端状に連結されて通路に沿って循環移動する複数の踏段(ステップ)からなる無端搬送体により乗客を搬送する搬送部と、無端搬送体の側方に通路に沿って配置され、ハンドレールを循環移動可能に支持する欄干とを備える。乗客は、乗り口から無端搬送体の始端部(乗客受け入れ部)まで移動し、無端搬送体に乗り込むと、無端搬送体により搬送され、しかる後、無端搬送体の終端部(乗客送り出し部)に到達すると、降り口まで移動し、そのまま移動してエスカレータを後にする。
【0003】
ところで、欄干の下部の通路側の表面(スカートガードの表面)と踏段の側縁との間には、数ミリという僅かではあるが隙間が生じている。このため、乗客を階上に搬送する上りのエスカレータにおいては、無端搬送体への乗り込み時や無端搬送体による搬送中において、この隙間に衣服、靴、サンダル等の履物又は小物(以下、これらをまとめて「物」という)が挟まれるといった事例が発生し得る。これは、踏段の側縁に対して欄干の下部の通路側の表面が斜め下方に相対移動することで、物が欄干の下部の通路側の表面に引きずられ、隙間に引き込まれることが原因だと考えられる。
【0004】
この対策として、特許文献1には、スカートガードの表面に潤滑剤を塗布することが記載されている。また、別の対策として、特許文献2には、スカートガードの表面に複数の凹凸を形成することが記載されている。さらに別の対策として、特許文献3には、スカートガードの表面に、移動方向に沿って延伸する突条を移動方向と直交する方向に複数配列して形成することが記載されている。
【先行技術文献】
【特許文献】
【0005】
特開2015-168561号公報
特開2000-118938号公報
特開2010-189099号公報
【発明の概要】
【発明が解決しようとする課題】
【0006】
しかし、これらの対策は、隙間に挟まれた物又は挟まれそうになる物を積極的に排除する構成となっておらず、挟まれ抑制構造としては十分でないという問題がある。
【0007】
そこで、本発明は、かかる事情に鑑みてなされたもので、欄干の下部の通路側の表面と踏段の側縁との間の隙間に物が挟まれるのを好適に抑制することができるエスカレータを提供することを課題とする。
【課題を解決するための手段】
【0008】
本発明に係るエスカレータは、
無端状に連結されて通路に沿って循環移動する複数の踏段からなる無端搬送体により乗客を斜め上方に搬送する搬送部と、無端搬送体の側方に通路に沿って配置され、ハンドレールを循環移動可能に支持する欄干とを備える上りのエスカレータであって、
欄干の下部の通路側の表面に、踏段の側縁と接触しないように突出しかつ下記(A)及び(B)の条件を満たす凸条部を移動方向に所定のピッチで複数備える
エスカレータである。
(A)凸条部が水平方向に対する移動方向の傾斜角度よりも大きい傾斜角度で傾斜する
(B)凸条部の下側が線Z1と交わるとともに、凸条部の上側が線Z2と交わる
線Z1:前記表面における線Y1との交点を通り移動方向と平行な線
(線Y1:1つの踏段の移動方向側の隣の踏段の先縁を通る鉛直面と当該1つの踏段の上面との交線)
線Z2:前記表面における線Y2との交点を通り移動方向と平行な線
(線Y2:当該1つの踏段の移動方向と反対側の隣の踏段の基縁を通る鉛直面と当該1つの踏段の上面との交線)
【0009】
ここで、本発明に係るエスカレータの一態様として、
凸条部は、さらに下記(C)の条件を満たす
(C)移動方向における凸条部のピッチが移動方向における踏段のピッチの33%以上である
との構成を採用することができる。
【0010】
また、本発明に係るエスカレータの他態様として、
凸条部は、さらに下記(D)の条件を満たす
(D)移動方向における凸条部のピッチが移動方向における踏段のピッチの100%又は100%以下である
との構成を採用することができる。
(【0011】以降は省略されています)
この特許をJ-PlatPat(特許庁公式サイト)で参照する
関連特許
フジテック株式会社
乗客コンベア
1日前
フジテック株式会社
マンコンベヤ
1日前
フジテック株式会社
フック掛け器具
3日前
フジテック株式会社
表示装置、表示制御方法、および、表示制御プログラム
3日前
フジテック株式会社
表示装置、表示制御方法、および、表示制御プログラム
9日前
フジテック株式会社
施工参照情報生成装置、施工参照情報生成方法、および、施工参照情報生成プログラム
1日前
個人
自走手摺
3か月前
個人
転落防止階段
9日前
個人
小型クレーン
3日前
ユニパルス株式会社
吊具
5か月前
個人
海上コンテナ昇降装置
11か月前
ユニパルス株式会社
荷役装置
10か月前
ユニパルス株式会社
吊具装置
11か月前
株式会社豊田自動織機
荷役車両
10か月前
株式会社豊田自動織機
荷役車両
9か月前
ユニパルス株式会社
リフト装置
5か月前
水戸工業株式会社
吊り具
7か月前
株式会社いうら
車椅子用昇降機
3か月前
株式会社豊田自動織機
産業車両
11か月前
株式会社豊田自動織機
産業車両
1か月前
ユニパルス株式会社
荷役助力装置
4か月前
株式会社大林組
安全支援システム
2か月前
愛知製鋼株式会社
受け架台
2か月前
ユニパルス株式会社
荷役助力装置
5か月前
個人
垂直自動搬送機
1か月前
株式会社伊藤
滑り止め装置
3か月前
岐阜工業株式会社
運搬台車
10日前
大栄産業株式会社
クランプ
5か月前
白山工業株式会社
バランサ
7か月前
ユニパルス株式会社
荷役助力装置
6か月前
個人
エアバック式レスキュー用品
1か月前
株式会社ユピテル
システム等
7か月前
株式会社キトー
タイヤ用吊具
6か月前
個人
アウトリガー用転倒防止ベース
2日前
株式会社豊田自動織機
フォークリフト
8か月前
大和ハウス工業株式会社
吊上具
2か月前
続きを見る
他の特許を見る