TOP
|
特許
|
意匠
|
商標
特許ウォッチ
Twitter
他の特許を見る
10個以上の画像は省略されています。
公開番号
2025144903
公報種別
公開特許公報(A)
公開日
2025-10-03
出願番号
2024044820
出願日
2024-03-21
発明の名称
スクロール圧縮機
出願人
サンデン株式会社
代理人
個人
主分類
F04C
18/02 20060101AFI20250926BHJP(液体用容積形機械;液体または圧縮性流体用ポンプ)
要約
【課題】吐出ポートやオイルセパレータの位置が異なる設計が要求される場合にも、リアケーシングと固定スクロール間をシールするガスケットを共用することができるスクロール圧縮機を提供する。
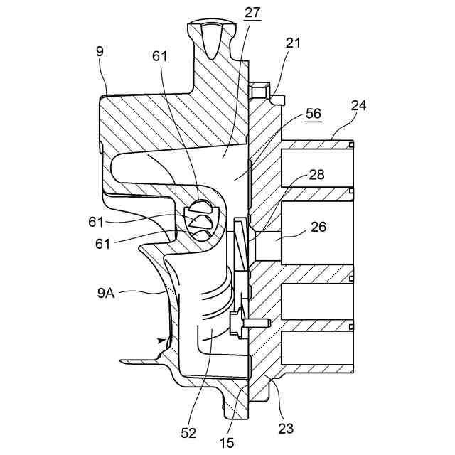
【解決手段】吐出室27は、第一チャンバ56と、第二チャンバ57から成り、第二チャンバ57は、リアケーシング9の隔壁53により第一チャンバ56と区画されており、吐出ポート51は、リアケーシング9の上部に設けられ、第二チャンバ57は、第一チャンバ56の上方にて吐出ポート51に隣接する位置に画成される。リアケーシング9と固定スクロールとの接合部に介設されたシール用のガスケット15は、隔壁53の端面と固定スクロール間をシールする隔壁シール部66を有し、隔壁シール部66は、隔壁53よりも少なくとも円周方向に広い領域に対応する寸法で構成されている。
【選択図】図12
特許請求の範囲
【請求項1】
固定スクロールとリアケーシングとの間に吐出室が構成され、前記固定スクロールの吐出孔から前記吐出室に吐出された作動流体が、オイルセパレータを経て吐出ポートより前記リアケーシング外に吐出されるスクロール圧縮機において、
前記吐出室は、第一チャンバと、第二チャンバから成り、該第二チャンバは、前記リアケーシングの隔壁により前記第一チャンバと区画されており、
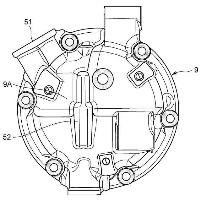
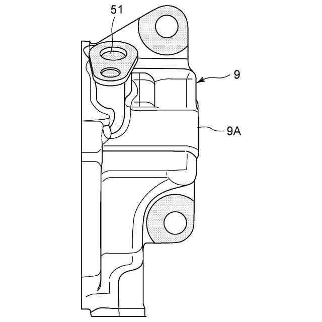
前記吐出ポートは、前記リアケーシングの上部に設けられ、前記第二チャンバは、少なくともその一部が前記第一チャンバの上方であって前記吐出ポートに隣接する位置に画成され、
前記固定スクロールの吐出孔から前記第一チャンバに吐出された前記作動流体が、前記オイルセパレータを経て前記第二チャンバに流入し、該第二チャンバを経て前記吐出ポートに至ると共に、
前記リアケーシングと前記固定スクロールとの接合部に介設されたシール用のガスケットを備え、
該ガスケットは、前記隔壁の端面と前記固定スクロール間をシールする隔壁シール部を有し、該隔壁シール部は、前記隔壁よりも少なくとも円周方向に広い領域に対応する寸法、又は、円環状に構成されていることを特徴とするスクロール圧縮機。
続きを表示(約 660 文字)
【請求項2】
前記隔壁シール部は、前記リアケーシングの円周方向における180°に渡る領域に対応する寸法で構成されていることを特徴とする請求項1に記載のスクロール圧縮機。
【請求項3】
前記固定スクロールの吐出孔は、前記固定スクロールの中央に位置しており、
前記吐出ポートは、前記吐出孔から見て一側から他側に渡る範囲の何れかの位置における前記リアケーシング上部に設けられ、
前記第二チャンバは、前記吐出ポートが設けられた位置に応じて、当該吐出ポートに隣接する位置に、前記隔壁により画成されることを特徴とする請求項1に記載のスクロール圧縮機。
【請求項4】
前記隔壁は、前記吐出孔、若しくは、その近傍を中心とする円弧形状部を有し、
前記ガスケットの内縁部は、前記円弧形状部に沿った円弧形状とされていることを特徴とする請求項3に記載のスクロール圧縮機。
【請求項5】
前記リアケーシングは一面が開口した容器状を呈し、前記ガスケットを介して前記固定スクロールが前記リアケーシングに接合されることにより、前記開口が閉塞され、前記リアケーシングと前記固定スクロール間の空間全体が前記吐出室となることを特徴とする請求項1に記載のスクロール圧縮機。
【請求項6】
前記オイルセパレータを経ること無く前記第一チャンバと前記第二チャンバを連通するバイパス通路を備えたことを特徴とする請求項1乃至請求項5のうちの何れかに記載のスクロール圧縮機。
発明の詳細な説明
【技術分野】
【0001】
本発明は、固定スクロールから吐出室に吐出された作動流体が、オイルセパレータを経て吐出ポートより吐出されるスクロール圧縮機に関する。
続きを表示(約 1,900 文字)
【背景技術】
【0002】
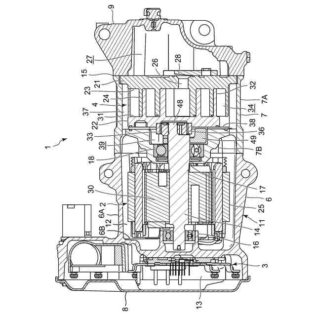
従来よりこの種スクロール圧縮機は、鏡板の表面に渦巻き状のラップを備えた固定スクロールと、鏡板の表面に渦巻き状のラップを備えた可動スクロールから成る圧縮機構を備え、各スクロールのラップを対向させてラップ間に圧縮室を形成し、固定スクロールに対して可動スクロールを公転旋回運動させることにより、圧縮室で作動流体(冷媒)を圧縮するように構成されている。
【0003】
そして、圧縮された作動流体は、固定スクロールの吐出孔からリアケーシングの吐出室内に吐出され、オイルセパレータを経てオイルと分離された後、吐出ポートからリアケーシング外に吐出される構成とされていた。また、この種のスクロール圧縮機ではリアケーシングと固定スクロールの接合部にガスケットが介設され、吐出室がシールされる構造とされていた(例えば、特許文献1、特許文献2参照)。
【先行技術文献】
【特許文献】
【0004】
特開2020-20280号公報
特許第6181405号公報
【発明の概要】
【発明が解決しようとする課題】
【0005】
ここで、吐出室は固定スクロールの吐出孔から圧縮された作動流体が吐出される第一チャンバと、オイルセパレータと吐出ポートとの間に構成される第二チャンバから構成され、第一チャンバに吐出された作動流体がオイルセパレータを経て第二チャンバに流入し、この第二チャンバを経て吐出ポートに至る構成とされるが、渦巻容積が拡大された場合は、第一チャンバを広げて吐出脈動を抑制する必要がある。
【0006】
そこで、第一チャンバを拡大し、第二チャンバの容積を縮小して小部屋化し、吐出ポート近傍に配置する構造とした場合、顧客に要求される吐出ポートやオイルセパレータの位置に応じて第二チャンバの位置も変更されることになる。一方で、リアケーシングと固定スクロールとの接合部をシールするガスケットには、第一チャンバと第二チャンバとを区画するリアケーシングの隔壁の端面と固定スクロールとの間をシールする隔壁シール部も形成する必要があるが、上記のように第二チャンバの位置が変化した場合、隔壁の位置も変化するため、それに応じて隔壁シール部の形状が異なるガスケットをそれぞれ準備する必要が生じると云う問題があった。
【0007】
本発明は、係る従来の技術的課題を解決するために成されたものであり、吐出ポートやオイルセパレータの位置が異なる設計が要求される場合にも、リアケーシングと固定スクロール間をシールするガスケットを共用することができるスクロール圧縮機を提供することを目的とする。
【課題を解決するための手段】
【0008】
本発明のスクロール圧縮機は、固定スクロールとリアケーシングとの間に吐出室が構成され、固定スクロールの吐出孔から吐出室に吐出された作動流体が、オイルセパレータを経て吐出ポートよりリアケーシング外に吐出されるものであって、吐出室は、第一チャンバと、第二チャンバから成り、この第二チャンバは、リアケーシングの隔壁により第一チャンバと区画されており、吐出ポートは、リアケーシングの上部に設けられ、第二チャンバは、少なくともその一部が第一チャンバの上方であって吐出ポートに隣接する位置に画成され、固定スクロールの吐出孔から第一チャンバに吐出された作動流体が、オイルセパレータを経て第二チャンバに流入し、この第二チャンバを経て吐出ポートに至ると共に、リアケーシングと固定スクロールとの接合部に介設されたシール用のガスケットを備え、このガスケットは、隔壁の端面と固定スクロール間をシールする隔壁シール部を有し、この隔壁シール部は、隔壁よりも少なくとも円周方向に広い領域に対応する寸法、又は、円環状に構成されていることを特徴とする。
【0009】
請求項2の発明のスクロール圧縮機は、上記発明において隔壁シール部は、リアケーシングの円周方向における180°に渡る領域に対応する寸法で構成されていることを特徴とする。
【0010】
請求項3の発明のスクロール圧縮機は、請求項1の発明において固定スクロールの吐出孔は、固定スクロールの中央に位置しており、吐出ポートは、吐出孔から見て一側から他側に渡る範囲の何れかの位置におけるリアケーシング上部に設けられ、第二チャンバは、吐出ポートが設けられた位置に応じて、当該吐出ポートに隣接する位置に、隔壁により画成されることを特徴とする。
(【0011】以降は省略されています)
この特許をJ-PlatPat(特許庁公式サイト)で参照する
関連特許
サンデン株式会社
情報処理装置
20日前
サンデン株式会社
電力変換装置
2か月前
サンデン株式会社
可変容量型圧縮機
20日前
サンデン株式会社
スクロール圧縮機
1か月前
サンデン株式会社
スクロール圧縮機
1か月前
サンデン株式会社
スクロール圧縮機
1か月前
サンデン株式会社
車両用空気調和装置
20日前
サンデン株式会社
車両用空気調和装置
20日前
サンデン株式会社
車両用空気調和装置
20日前
サンデン株式会社
熱マネジメントシステム
20日前
サンデン株式会社
スクロール式コンプレッサ
1か月前
サンデン株式会社
車両用熱マネジメントシステム
1か月前
サンデン株式会社
車両用熱マネジメントシステム
1か月前
サンデン株式会社
車両用熱マネジメントシステム
1か月前
サンデン株式会社
車両用熱マネジメントシステム
1か月前
サンデン株式会社
車両用熱マネジメントシステム
1か月前
サンデン株式会社
充電制御システム及び配車管理システム
20日前
サンデン株式会社
電動圧縮機用モータ及びそれを備えた電動圧縮機
1か月前
個人
海流製造装置。
2か月前
株式会社スギノマシン
圧縮機
1か月前
株式会社ツインバード
送風装置
2か月前
株式会社ツインバード
送風装置
2か月前
日機装株式会社
遠心ポンプ
1か月前
カヤバ株式会社
電動ポンプ
12日前
カヤバ株式会社
電動ポンプ
3か月前
株式会社不二越
蓄圧装置
3か月前
ビッグボーン株式会社
送風装置
2か月前
株式会社ノーリツ
ロータリ圧縮機
2か月前
サンデン株式会社
可変容量型圧縮機
20日前
樫山工業株式会社
真空ポンプ
1か月前
株式会社不二越
ベーンポンプ
3か月前
サンデン株式会社
スクロール圧縮機
1か月前
サンデン株式会社
スクロール圧縮機
1か月前
サンデン株式会社
スクロール圧縮機
1か月前
小倉クラッチ株式会社
ルーツブロア
3か月前
株式会社島津製作所
真空ポンプ
2か月前
続きを見る
他の特許を見る