TOP
|
特許
|
意匠
|
商標
特許ウォッチ
Twitter
他の特許を見る
公開番号
2025144379
公報種別
公開特許公報(A)
公開日
2025-10-02
出願番号
2024044125
出願日
2024-03-19
発明の名称
車両用熱マネジメントシステム
出願人
サンデン株式会社
代理人
弁理士法人平和国際特許事務所
主分類
B60K
11/02 20060101AFI20250925BHJP(車両一般)
要約
【課題】システム信頼性を向上することが可能な車両用熱マネジメントシステムを提供すること。
【解決手段】制御装置は、車両用熱マネジメントシステム10の立上時において、冷房運転要求および車載機器冷却要求があった時に、所定値に固定された流量割合で分岐部43を制御する立上制御を実行する車両用熱マネジメントシステム10。
【選択図】図8
特許請求の範囲
【請求項1】
圧縮機、高温側熱交換器、減圧装置、および低温側熱交換器を含む冷媒回路と、
前記低温側熱交換器に接続され、クーラコアを含む低温側熱媒体回路と、
車載機器温調部を含む車載機器温調回路と、
前記低温側熱媒体回路と前記車載機器温調回路とが接続された状態で、前記低温側熱交換器で熱交換した熱媒体が前記クーラコア側に流れる流量と前記車載機器温調部側に流れる流量との割合を制御する分岐部と、
各部を制御する制御装置と、
を備えた車両用熱マネジメントシステムであって、
前記制御装置は、前記車両用熱マネジメントシステムの立上時において、冷房運転要求および車載機器冷却要求があった時に、所定値に固定された流量割合で前記分岐部を制御する立上制御を実行することを特徴とする車両用熱マネジメントシステム。
続きを表示(約 440 文字)
【請求項2】
前記制御装置は、前記立上制御の実行から所定時間の経過後、または、前記低温側熱交換器に入る熱媒体の温度が所定の閾値となった場合に、前記立上制御を終了することを特徴とする請求項1に記載の車両用熱マネジメントシステム。
【請求項3】
前記制御装置は、前記低温側熱媒体回路における前記分岐部の出口から前記低温側熱交換器の入口までの経路の容量と、前記低温側熱媒体回路と前記車載機器温調回路とが接続された時に、前記低温側熱媒体回路および前記車載機器温調回路によって構成される熱媒体経路のうち、前記分岐部の出口から前記低温側熱交換器の入口までの経路の容量とに基づいて決定した固定の前記流量割合で分岐部を制御することを特徴とする請求項1に記載の車両用熱マネジメントシステム。
【請求項4】
前記車載機器温調回路は、熱媒体を循環させる循環路と、前記循環路に設置された循環ポンプとを有することを特徴とする請求項1に記載の車両用熱マネジメントシステム。
発明の詳細な説明
【技術分野】
【0001】
本発明は、車両用熱マネジメントシステムに関する。
続きを表示(約 1,500 文字)
【背景技術】
【0002】
従来、自動車等の車両に搭載される車両用熱マネジメントシステムとして、その内部を流れる熱媒体を利用してバッテリ等の車載機器の温調を行う車載機器温調部を備えたものが知られている(例えば、特許文献1を参照)。
【先行技術文献】
【特許文献】
【0003】
特開2016-107931号公報
【発明の概要】
【発明が解決しようとする課題】
【0004】
ところが、特許文献1に記載の車両用熱マネジメントシステムには、システム信頼性の観点で改善の余地がある。
【0005】
そこで、本発明は、これらの問題点を解決するものであり、簡素な構成で、システム信頼性を向上することが可能な車両用熱マネジメントシステムを提供することを目的とするものである。
【課題を解決するための手段】
【0006】
本発明は、圧縮機、高温側熱交換器、減圧装置、および低温側熱交換器を含む冷媒回路と、前記低温側熱交換器に接続され、クーラコアを含む低温側熱媒体回路と、車載機器温調部を含む車載機器温調回路と、前記低温側熱媒体回路と前記車載機器温調回路とが接続された状態で、前記低温側熱交換器で熱交換した熱媒体が前記クーラコア側に流れる流量と前記車載機器温調部側に流れる流量との割合を制御する分岐部と、各部を制御する制御装置と、を備えた車両用熱マネジメントシステムであって、前記制御装置は、前記車両用熱マネジメントシステムの立上時において、冷房運転要求および車載機器冷却要求があった時に、所定値に固定された流量割合で前記分岐部を制御する立上制御を実行することにより、前記課題を解決するものである。
【発明の効果】
【0007】
本発明は、簡素な構成で、システム信頼性を向上できる。
【図面の簡単な説明】
【0008】
本発明の一実施形態に係る車両用熱マネジメントシステムにおける冷房運転時の一態様を示す説明図。
車両用熱マネジメントシステムにおける除湿暖房運転時の一態様を示す説明図。
車両用熱マネジメントシステムにおける除湿暖房運転時の他の態様を示す説明図。
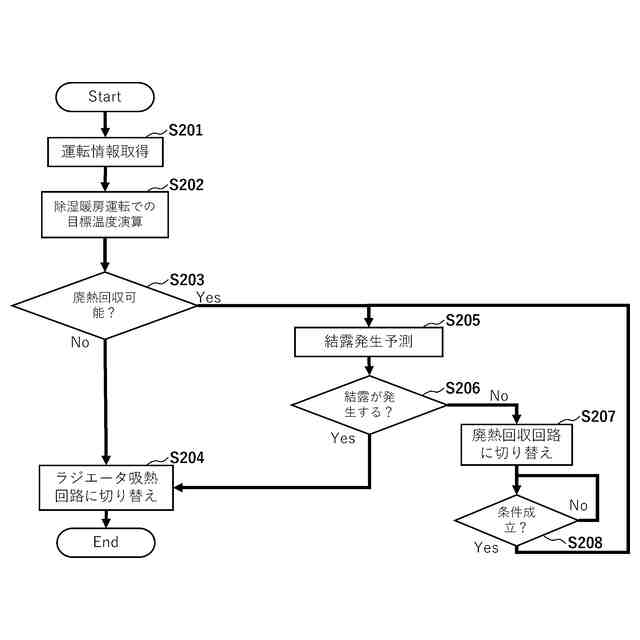
車両用熱マネジメントシステムにおける制御例1のフローチャート。
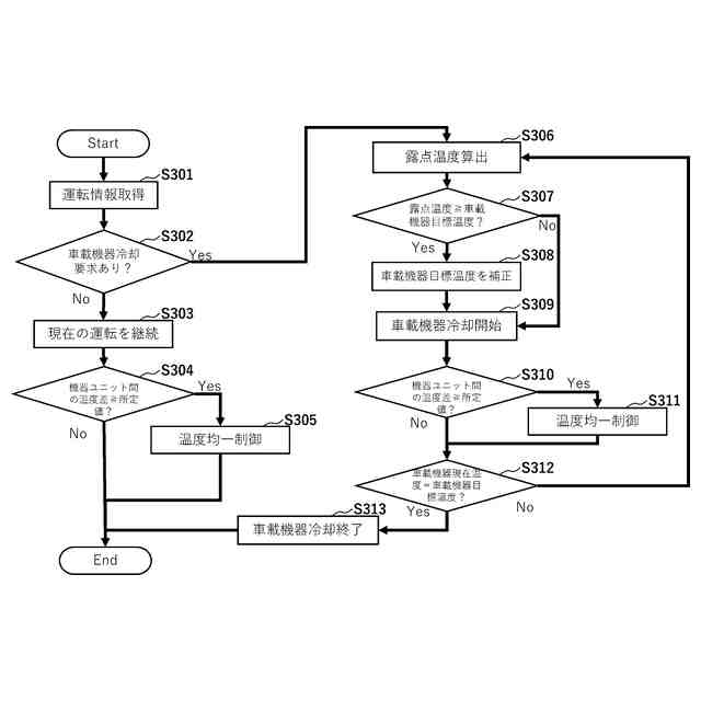
車両用熱マネジメントシステムにおける制御例2のフローチャート。
車両用熱マネジメントシステムにおける制御例3のフローチャート。
車両用熱マネジメントシステムにおける制御例4のフローチャート。
車両用熱マネジメントシステムにおける制御例5のフローチャート。
【発明を実施するための形態】
【0009】
以下に、本発明の一実施形態に係る車両用熱マネジメントシステム10について、図面に基づいて説明する。
なお、本明細書で使用する「上流」「下流」の用語は、冷媒、熱媒体の流れ方向における上流または下流を意味する。
【0010】
まず、車両用熱マネジメントシステム10は、電気自動車等の車両に搭載され、車室内の空調を行うものであり、図1に示すように、冷媒回路20と、高温側熱媒体回路30と、低温側熱媒体回路40と、車載機器温調回路50と、モータ温調回路60と、ラジエータ回路70と、流路切替装置80と、HVAC90と、換気装置(図示しない)と、制御装置(図示しない)とを備えている。
(【0011】以降は省略されています)
この特許をJ-PlatPat(特許庁公式サイト)で参照する
関連特許
サンデン株式会社
スクロール圧縮機
25日前
サンデン株式会社
スクロール圧縮機
25日前
サンデン株式会社
スクロール圧縮機
25日前
サンデン株式会社
スクロール式コンプレッサ
26日前
サンデン株式会社
車両用熱マネジメントシステム
26日前
サンデン株式会社
車両用熱マネジメントシステム
26日前
サンデン株式会社
車両用熱マネジメントシステム
26日前
サンデン株式会社
車両用熱マネジメントシステム
26日前
サンデン株式会社
車両用熱マネジメントシステム
26日前
サンデン株式会社
電動圧縮機用モータ及びそれを備えた電動圧縮機
29日前
個人
タイヤレバー
3か月前
個人
前輪キャスター
2か月前
個人
上部一体型自動車
25日前
個人
ルーフ付きトライク
2か月前
個人
タイヤ脱落防止構造
2か月前
個人
ホイルのボルト締結
3か月前
日本精機株式会社
表示装置
2か月前
個人
車両通過構造物
3か月前
井関農機株式会社
作業車両
4か月前
井関農機株式会社
作業車両
4か月前
日本精機株式会社
表示装置
2か月前
日本精機株式会社
表示装置
2か月前
個人
キャンピングトライク
4か月前
日本精機株式会社
表示装置
2か月前
個人
マスタシリンダ
1か月前
個人
アクセルのソフトウェア
4か月前
個人
キャンピングトレーラー
4か月前
個人
車両用スリップ防止装置
4か月前
個人
常設収納型サンバイザー
4日前
個人
乗合路線バスの客室装置
3か月前
日本精機株式会社
車載表示装置
6日前
個人
車載小物入れ兼雨傘収納具
3か月前
日本精機株式会社
車載表示装置
1日前
株式会社ニフコ
保持装置
3か月前
日本精機株式会社
車室演出装置
2か月前
個人
音声ガイド、音声サービス
3か月前
続きを見る
他の特許を見る