TOP
|
特許
|
意匠
|
商標
特許ウォッチ
Twitter
他の特許を見る
公開番号
2025112524
公報種別
公開特許公報(A)
公開日
2025-08-01
出願番号
2024006800
出願日
2024-01-19
発明の名称
蓄圧装置
出願人
株式会社不二越
代理人
個人
,
個人
主分類
F04B
17/04 20060101AFI20250725BHJP(液体用容積形機械;液体または圧縮性流体用ポンプ)
要約
【課題】ポンプを不要として系を小型化し、さらに蓄圧中に常時通電する必要のない蓄圧装置を提供する。
【解決手段】蓄圧装置100は、コイル110の内側に配置されたプランジャ120と、プランジャの内周に配置された第1テーパリング132とシャフト10の間に配置された第1転動体134と、ハウジング102に取り付けられた第2テーパリング142とシャフトとの間に配置された第2転動体144と、シャフトを挿通し第1、第2転動体の係合を解除する第1リテーナ150、第2リテーナ160と、シャフトと連結されるピストン204により容積が変動する圧力室206と、ピストンに当接し圧力室の容積が小さくなる方向にシャフトを付勢するリターンスプリング210を収容するスプリング室208と、圧力室に設けられた吸入ポート214a、吐出ポート214bに配置され吐出方向、吸入方向の流れを制限する吸入弁222a、吐出弁222bとを有する。
【選択図】図1
特許請求の範囲
【請求項1】
電磁アクチュエータと圧力部とを備える蓄圧装置であって、
前記電磁アクチュエータは、
前記シャフトを巻回するコイルと、
前記コイルの内側に配置されたプランジャと、
前記プランジャの内周に配置された第1テーパリングと、
前記第1テーパリングと前記シャフトの間に配置された第1転動体と、
ハウジングに取り付けられた第2テーパリングと、
前記第2テーパリングと前記シャフトとの間に配置された第2転動体と、
前記シャフトを挿通し、前記第1テーパリングにおける前記第1転動体の係合を解除する第1リテーナと、
前記シャフトを挿通し、前記第2テーパリングにおける前記第2転動体の係合を解除する第2リテーナと、を有し、
前記圧力部は、
前記シャフトと連結されるピストンと、
前記ピストンによって容積が変動する圧力室と、
前記ピストンによって区画されたスプリング室であって、前記シャフトを挿通して該ピストンに当接し、前記圧力室の容積が小さくなる方向に前記シャフトを付勢するリターンスプリングを収容するスプリング室と、
前記圧力室に設けられた吸入ポートおよび吐出ポートと、
前記吸入ポートに配置され吐出方向の流れを制限する吸入側チェック弁と、
前記吐出ポートに配置され吸入方向の流れを制限する吐出側チェック弁と、を有し、
前記コイルに対して所定範囲内の電流が流れた場合には、前記プランジャおよび前記第1リテーナを吸着し、
前記コイルに対して前記所定範囲よりも大きい電流が流れた場合には、さらに前記第2リテーナを吸着することを特徴とする蓄圧装置。
発明の詳細な説明
【技術分野】
【0001】
本発明は、電磁アクチュエータを備える蓄圧装置に関する。
続きを表示(約 1,900 文字)
【背景技術】
【0002】
車両には、例えば油圧源として機能する蓄圧装置が搭載される。特許文献1には、ピストン式のアキュムレータ(蓄圧装置)が記載されている。この蓄圧装置は、圧力室と、ピストンと、ピストンの戻りを防止するディテント機構(戻り防止機構)と、スプリングと、アーマチュア(プランジャ)とを備え、アイドリングストップ時の油圧源として機能する。圧力室には、ポンプによって油が供給される。
【先行技術文献】
【特許文献】
【0003】
米国特許第7992592号
【発明の概要】
【発明が解決しようとする課題】
【0004】
しかし特許文献1の蓄圧装置では、エンジン停止後のスタート時に、クラッチを動かすクラッチ係合油圧を供給するポンプが必要となるため、系が大型化するという問題がある。また蓄圧中は常に通電が必要となり、消費電力が増加してしまう。
【0005】
本発明は、このような課題に鑑み、ポンプを不要として系を小型化し、さらに蓄圧中に常時通電する必要のない蓄圧装置を提供することを目的としている。
【課題を解決するための手段】
【0006】
上記課題を解決するために、本発明にかかる蓄圧装置の代表的な構成は、電磁アクチュエータと圧力部とを備える蓄圧装置であって、電磁アクチュエータは、シャフトを巻回するコイルと、コイルの内側に配置されたプランジャと、プランジャの内周に配置された第1テーパリングと、第1テーパリングとシャフトの間に配置された第1転動体と、ハウジングに取り付けられた第2テーパリングと、第2テーパリングとシャフトとの間に配置された第2転動体と、シャフトを挿通し、第1テーパリングにおける第1転動体の係合を解除する第1リテーナと、シャフトを挿通し、第2テーパリングにおける第2転動体の係合を解除する第2リテーナと、を有し、圧力部は、シャフトと連結されるピストンと、ピストンによって容積が変動する圧力室と、ピストンによって区画されたスプリング室であって、シャフトを挿通してピストンに当接し、圧力室の容積が小さくなる方向にシャフトを付勢するリターンスプリングを収容するスプリング室と、圧力室に設けられた吸入ポートおよび吐出ポートと、吸入ポートに配置され吐出方向の流れを制限する吸入側チェック弁と、吐出ポートに配置され吸入方向の流れを制限する吐出側チェック弁と、を有し、コイルに対して所定範囲内の電流が流れた場合には、プランジャおよび第1リテーナを吸着し、コイルに対して所定範囲よりも大きい電流が流れた場合には、さらに第2リテーナを吸着することを特徴とする。
【発明の効果】
【0007】
本発明によれば、ポンプを不要として系を小型化し、さらに蓄圧中に常時通電する必要のない蓄圧装置を提供することができる。
【図面の簡単な説明】
【0008】
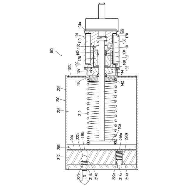
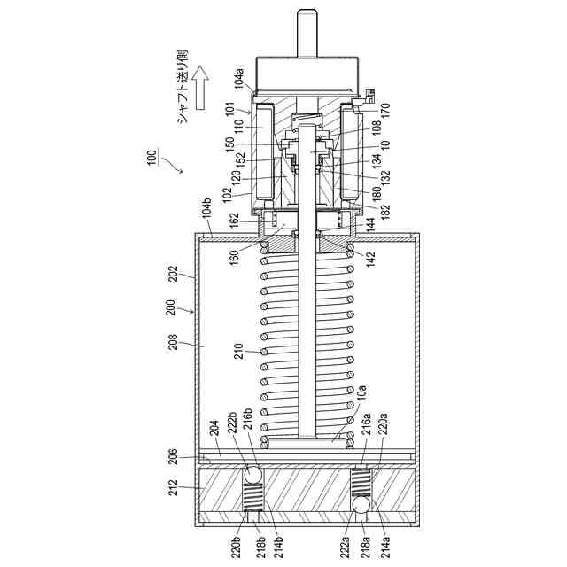
本発明の実施形態における蓄圧装置の全体構成図である。
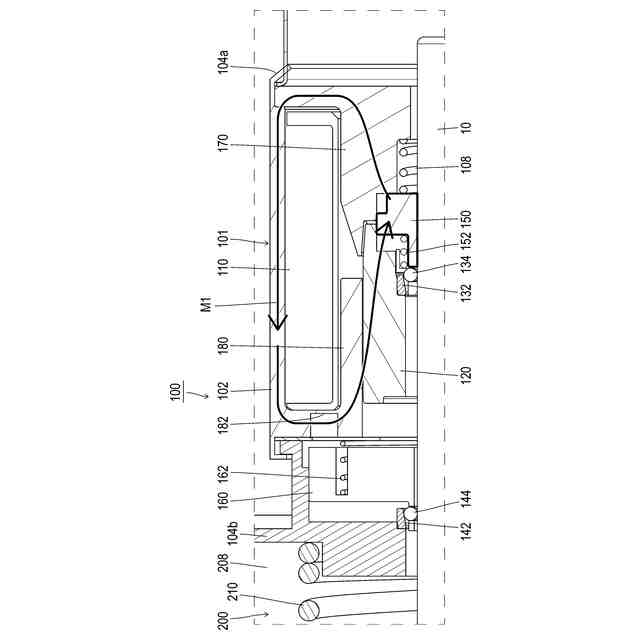
図1の蓄圧装置の一部を拡大して示す図である。
図1の蓄圧装置において所定範囲内の弱い電流でコイルを励磁した状態を説明する図である。
図3に後続する蓄圧装置のステップ動作を説明する図である。
本発明の実施形態における蓄圧装置のコイルに流れる電流について説明する図である。
ステップ動作を行った後の蓄圧装置の全体構成図である。
図4の蓄圧装置のステップ動作に後続して所定範囲よりも大きい強い電流でコイルを励磁した状態を説明する図である。
図7に後続してシャフトが初期位置に戻った状態の蓄圧装置の全体構成図である。
【発明を実施するための形態】
【0009】
以下に添付図面を参照しながら、本発明の好適な実施形態について詳細に説明する。かかる実施形態に示す寸法、材料、その他具体的な数値などは、発明の理解を容易とするための例示に過ぎず、特に断る場合を除き、本発明を限定するものではない。なお、本明細書および図面において、実質的に同一の機能、構成を有する要素については、同一の符号を付することにより重複説明を省略し、また本発明に直接関係のない要素は図示を省略する。
【0010】
図1は、本発明の実施形態における蓄圧装置100の全体構成図である。蓄圧装置100は、電磁アクチュエータ101と圧力部200とを備え、例えば車両のアイドリングストップ時の油圧源として機能する。ただし蓄圧装置100は、油圧源に限られず、他の流体(例えば空気)を用いた圧力源としても機能する。
(【0011】以降は省略されています)
この特許をJ-PlatPat(特許庁公式サイト)で参照する
関連特許
株式会社不二越
硬質材料
23日前
株式会社不二越
ロボット
10日前
株式会社不二越
射出成形機
1か月前
株式会社不二越
電磁切替弁
1か月前
株式会社不二越
ブローチ盤
23日前
株式会社不二越
駆動伝達装置
1か月前
株式会社不二越
アクチュエータ
1か月前
株式会社不二越
熱処理システム
1か月前
株式会社不二越
ロボットシステム
1か月前
株式会社不二越
ロボット操作装置
1か月前
株式会社不二越
ロボットシステム
1か月前
株式会社不二越
ロボットシステム
1か月前
株式会社不二越
エッジ仕上げ装置
23日前
株式会社不二越
油圧駆動システム
1か月前
株式会社不二越
ノンリーク三方弁
13日前
株式会社不二越
垂直多関節ロボット
24日前
株式会社不二越
スカイビング加工機
1か月前
株式会社不二越
スカイビング加工機
1か月前
株式会社不二越
複合アクチュエータ
13日前
株式会社不二越
移動ロボットシステム
13日前
株式会社不二越
斜板式ピストンポンプ
4日前
株式会社不二越
可変容量制御ピストンポンプ
13日前
株式会社不二越
X線回折測定装置及びプログラム
13日前
株式会社不二越
センサ及びセンサを備えるロボット
1か月前
株式会社不二越
データ修復機能を有する回路システム
1か月前
株式会社不二越
マルテンサイト系ステンレス鋼焼結体
1か月前
株式会社不二越
マルテンサイト系ステンレス鋼焼結体
1か月前
株式会社不二越
マルテンサイト系ステンレス鋼焼結体
1か月前
株式会社不二越
歯車加工用合金鋼およびそれを用いた歯車
23日前
株式会社不二越
転がり軸受用転動体およびそれを用いた転がり軸受
1か月前
株式会社不二越
転がり軸受用軌道輪およびそれを用いた転がり軸受
1か月前
国立大学法人 東京大学
静電容量式センサ及びロボットシステム
1か月前
個人
海流製造装置。
25日前
株式会社スギノマシン
圧縮機
3日前
株式会社ツインバード
送風装置
23日前
ダイニチ工業株式会社
空調装置
4か月前
続きを見る
他の特許を見る