TOP
|
特許
|
意匠
|
商標
特許ウォッチ
Twitter
他の特許を見る
10個以上の画像は省略されています。
公開番号
2025141908
公報種別
公開特許公報(A)
公開日
2025-09-29
出願番号
2025039222
出願日
2025-03-12
発明の名称
複合アクチュエータ
出願人
株式会社不二越
代理人
個人
,
個人
主分類
F16D
48/02 20060101AFI20250919BHJP(機械要素または単位;機械または装置の効果的機能を生じ維持するための一般的手段)
要約
【課題】製品の大型化やコストの増大を避けつつ、大ストローク化および大出力化を図ることが可能な複合アクチュエータを提供する。
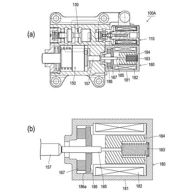
【解決手段】本発明にかかる複合アクチュエータの代表的な構成は、対象部品を移動させて保持する複数のアクチュエータを備えた複合アクチュエータ100であって、当該複合アクチュエータは、三方弁110と、三方弁によって動作するスプール弁130と、スプール弁から出力される圧油によって動作するピストン150と、ピストンが移動した位置で該ピストンを保持する保持用アクチュエータ170と、を備える。
【選択図】図1
特許請求の範囲
【請求項1】
対象部品を移動させて保持する複数のアクチュエータを備えた複合アクチュエータであって、
当該複合アクチュエータは、
三方弁と、
前記三方弁によって動作するスプール弁と、
前記スプール弁から出力される圧油によって動作するピストンと、
前記ピストンが移動した位置で該ピストンを保持する保持用アクチュエータと、
を備えることを特徴とする複合アクチュエータ。
続きを表示(約 700 文字)
【請求項2】
前記保持用アクチュエータは電磁ソレノイドであることを特徴とする請求項1に記載の複合アクチュエータ。
【請求項3】
前記保持用アクチュエータは磁石を内蔵して磁力によって保持する磁石内蔵ソレノイドであることを特徴とする請求項1に記載の複合アクチュエータ。
【請求項4】
前記ピストンは、該ピストンの突出方向に配列した複数のピストン室を有する多段ピストンであることを特徴とする請求項1に記載の複合アクチュエータ。
【請求項5】
前記ピストンは、
前記ピストンの引込側に配置された第1ピストンと、
前記第1ピストンより前記ピストンの突出側に配置された第2ピストンと、
前記スプール弁から出力される圧油を導く連通路と、を備え、
前記連通路は、前記第1ピストンの第1ピストン室と前記第2ピストンの第2ピストン室との両方に前記圧油を導くことを特徴とする請求項4に記載の複合アクチュエータ。
【請求項6】
前記ピストンには、前記保持用アクチュエータの位置まで延びて該ピストンとともに移動するピンが取り付けられていて、
前記保持用アクチュエータは、
前記ピストンの移動方向に対して直交方向に配置されていて、
磁石を内蔵して磁力によって2位置保持する磁石内蔵ソレノイドであり、
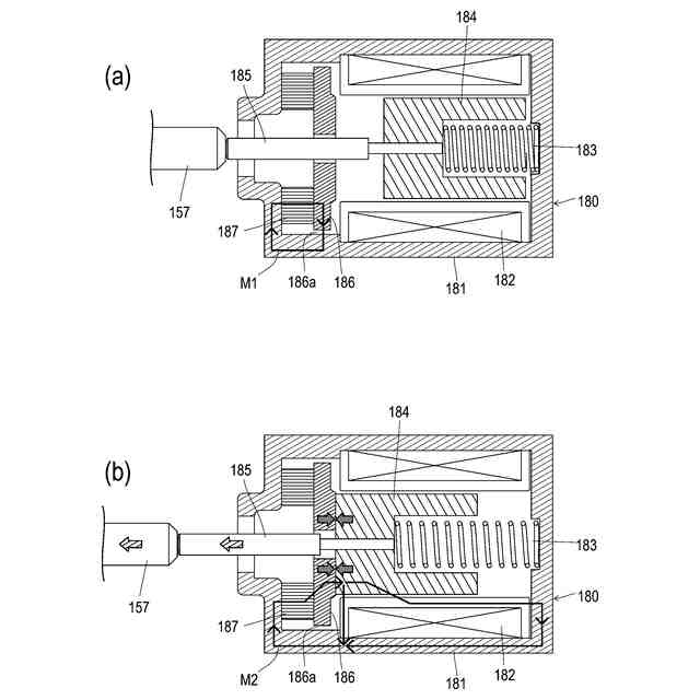
前記ピストンが突出方向に移動した位置で前記ピンと係合し、該ピンとの係合を非通電状態で維持することによって、前記ピストンの突出状態を保持することを特徴とする請求項1に記載の複合アクチュエータ。
発明の詳細な説明
【技術分野】
【0001】
本発明は、対象部品を移動させて保持する複数のアクチュエータを備えた複合アクチュエータに関する。
続きを表示(約 1,400 文字)
【背景技術】
【0002】
車両には、例えばクラッチを動作させるクラッチアクチュエータが搭載されている。その例として特許文献1に「自動車の動力伝達系統において使用される駆動アセンブリ」が開示されている。特許文献1の駆動アセンブリは、「回転駆動可能なハウジングと、出力部と、ハウジングと出力部との間の動力経路に配置された第1のクラッチ部および第2のクラッチ部と、トルクを伝達するために第1のクラッチ部と第2のクラッチ部とを互いに選択的に接続することができるようにクラッチを作動させる制御可能なアクチュエータと、クラッチの作動時に軸方向に可動なターゲットエレメントと、クラッチの少なくとも1つのクラッチ位置を決定するためにターゲットエレメントと協働するセンサと」を備えている。
【0003】
特許文献1の駆動アセンブリは、車両のクラッチの係合およびその係合解除を行うためのものである。特許文献1では、電磁石が通電すると、ハウジングおよびアンカエレメントに磁束が発生し、アンカエレメントおよびスリーブが一体となって突出部を突出させる方向に移動する(クラッチ係合)。電磁石が非通電となると、摺動ディスクからのリターン力によってアンカエレメントおよびスリーブが一体となって突出部から離れる方向に移動する(クラッチ係合解除)。
【先行技術文献】
【特許文献】
【0004】
特許第6525553号公報
【発明の概要】
【発明が解決しようとする課題】
【0005】
特許文献1のような駆動アセンブリにおいて大ストローク化や大出力化を図る場合には、コイルの巻き数を増やしたり、電磁石の吸着面積を拡大したりする必要がある。すると、製品が大型化してしまい、規格サイズから逸脱したり、コストが増大してしまう可能性がある。
【0006】
本発明は、このような課題に鑑み、製品の大型化やコストの増大を避けつつ、大ストローク化および大出力化を図ることが可能な複合アクチュエータを提供することを目的としている。
【課題を解決するための手段】
【0007】
上記課題を解決するために、本発明にかかる複合アクチュエータの代表的な構成は、対象部品を移動させて保持する複数のアクチュエータを備えた複合アクチュエータであって、当該複合アクチュエータは、三方弁と、三方弁によって動作するスプール弁と、スプール弁から出力される圧油によって動作するピストンと、ピストンが移動した位置で該ピストンを保持する保持用アクチュエータと、を備える。
【0008】
保持用アクチュエータは電磁ソレノイドであってもよい。また保持用アクチュエータは磁石を内蔵して磁力によって保持する磁石内蔵ソレノイドであってもよい。
【0009】
ピストンは、ピストンの突出方向に配列した複数のピストン室を有する多段ピストンであってもよい。
【0010】
ピストンは、ピストンの引込側に配置された第1ピストンと、第1ピストンよりピストンの突出側に配置された第2ピストンと、スプール弁から出力される圧油を導く連通路と、を備え、連通路は、第1ピストンの第1ピストン室と第2ピストンの第2ピストン室との両方に圧油を導くようにしてもよい。
(【0011】以降は省略されています)
この特許をJ-PlatPat(特許庁公式サイト)で参照する
関連特許
株式会社不二越
硬質材料
1か月前
株式会社不二越
ロボット
22日前
株式会社不二越
電磁切替弁
1か月前
株式会社不二越
射出成形機
1か月前
株式会社不二越
ブローチ盤
1か月前
株式会社不二越
駆動伝達装置
1か月前
株式会社不二越
アクチュエータ
1か月前
株式会社不二越
熱処理システム
1か月前
株式会社不二越
ロボットシステム
1か月前
株式会社不二越
ロボットシステム
1か月前
株式会社不二越
エッジ仕上げ装置
1か月前
株式会社不二越
ロボットシステム
1か月前
株式会社不二越
ロボット操作装置
1か月前
株式会社不二越
ノンリーク三方弁
25日前
株式会社不二越
X線測定システム
9日前
株式会社不二越
X線測定システム
8日前
株式会社不二越
油圧駆動システム
1か月前
株式会社不二越
スカイビング加工機
1か月前
株式会社不二越
複合アクチュエータ
25日前
株式会社不二越
スカイビング加工機
1か月前
株式会社不二越
垂直多関節ロボット
1か月前
株式会社不二越
移動ロボットシステム
25日前
株式会社不二越
斜板式ピストンポンプ
16日前
株式会社不二越
固定構造および固定治具
今日
株式会社不二越
ロボットに用いる伝送路
7日前
株式会社不二越
可変容量制御ピストンポンプ
25日前
株式会社不二越
X線回折測定装置及びプログラム
25日前
株式会社不二越
センサ及びセンサを備えるロボット
1か月前
株式会社不二越
データ修復機能を有する回路システム
1か月前
株式会社不二越
マルテンサイト系ステンレス鋼焼結体
1か月前
株式会社不二越
マルテンサイト系ステンレス鋼焼結体
1か月前
株式会社不二越
センサシステム及びロボットシステム
7日前
株式会社不二越
超硬合金およびこれを用いた切削工具
今日
株式会社不二越
歯車加工用合金鋼およびそれを用いた歯車
1か月前
株式会社不二越
冷間金型用合金鋼およびそれを用いた冷間金型
今日
株式会社不二越
転がり軸受用転動体およびそれを用いた転がり軸受
1か月前
続きを見る
他の特許を見る