TOP
|
特許
|
意匠
|
商標
特許ウォッチ
Twitter
他の特許を見る
公開番号
2025174390
公報種別
公開特許公報(A)
公開日
2025-11-28
出願番号
2024080751
出願日
2024-05-17
発明の名称
歯切工具用部品およびそれを用いた歯切工具
出願人
株式会社不二越
代理人
弁理士法人酒井国際特許事務所
,
個人
主分類
B23F
21/10 20060101AFI20251120BHJP(工作機械;他に分類されない金属加工)
要約
【課題】内歯車の加工時には切削加工時に発生する切りくずを適切に外部へ排出することのできる歯切工具用部品およびそれを用いた歯切工具を提供する。
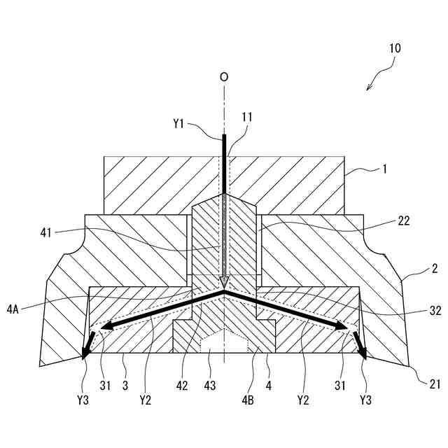
【解決手段】複数の切れ刃21を外周面に備える円盤状の歯切工具本体2と、軸状のツーリング1と、を互いに締結するための歯切工具用部品3,4において、歯切工具用部品3,4は、一端側にはツーリング1の軸内に嵌め込むネジ部4A、他端側には六角穴43を備えたボルト頭4B、をそれぞれ備えるボルト部品4を有して、ボルト部品4の内部に軸方向に形成された油孔41と該軸方向の油孔41を起点として径方向に延びる複数の油孔42を設ける。
【選択図】図1
特許請求の範囲
【請求項1】
複数の切れ刃を外周面に備える円盤状の歯切工具本体と、軸状のツーリングと、を互いに締結するための歯切工具用部品であって、前記歯切工具用部品は、当該一端側に前記ツーリングの軸内に嵌め込むネジ部と、当該他端側には六角穴を備えたボルト頭と、を備えるボルト部品を有しており、前記ボルト部品の内部には、軸方向に形成された油孔と、該軸方向の油孔を起点として径方向に延びる複数の油孔と、が設けられていることを特徴とする歯切工具用部品。
続きを表示(約 390 文字)
【請求項2】
中央部に貫通穴を備えたリング部品であって、前記貫通穴の内周面から放射状に延びる複数の油孔が設けられているリング部品をさらに有していることを特徴とする請求項1に記載の歯切工具用部品。
【請求項3】
複数の切れ刃を外周面に備える円盤状の歯切工具本体と、軸状のツーリングと、中央部に貫通穴を備えたリング部品と、一端側に前記ツーリングの軸内に嵌め込むネジ部および他端側に六角穴を備えたボルト頭を具備するボルト部品と、を有しており、前記ボルト頭を前記リング部品の貫通穴に嵌め込んだ状態で前記ネジ部を用いて前記歯切工具本体を前記ツーリングに締結し、かつ前記ボルト部品の中心軸から前記ネジ部の径方向に向けて設けられた油孔の開口部と前記リング部品の貫通穴の内周面から径方向へ向けて設けられた油孔の前記内周面側の開口部が互いに接続されていることを特徴とする歯切工具。
発明の詳細な説明
【技術分野】
【0001】
本発明は、スカイビングカッタやピニオンカッタなどの歯切工具に脱着できる歯切工具用部品およびその歯切工具用部品を用いた歯切工具に関する。
続きを表示(約 1,700 文字)
【背景技術】
【0002】
従来、歯切工具を使用した歯車加工時には、工作機械側からのクーラント(冷却剤)の供給が行われる。もしくは、工作機械側から歯切工具本体に設けられた油孔(冷却剤が通るための流路)を介して、歯切工具や被削材に冷却剤が吐出される(特許文献1参照)。
【先行技術文献】
【特許文献】
【0003】
特開2021-154443号公報
【発明の概要】
【発明が解決しようとする課題】
【0004】
しかし、内歯車の加工時にはクーラント(冷却剤)の供給が外部から行われる、もしくは歯切工具本体から外部に向けて行われる場合がある。その場合、切削加工時に発生する切りくずが、被削材内部に滞留するので、外部へ排出することができないという問題があった。加えて、内歯車加工時に発生する切りくずが被削材内部に滞留することで、滞留した切りくずと歯切工具が互いに噛み込むことで、歯切工具の切れ刃に異常損傷が発生する場合があった。
【0005】
そこで、本発明は、特に内歯車の加工時には切削加工時に発生する切りくずを適切に外部へ排出することのできる歯切工具用部品およびそれを用いた歯切工具を提供することを課題とする。
【課題を解決するための手段】
【0006】
本発明の歯切工具用部品は、複数の切れ刃を外周面に備える円盤状の歯切工具本体と、軸状のツーリングと、を互いに締結するための歯切工具用部品であり、歯切工具用部品は、当該一端側に前記ツーリングの軸内に嵌め込むネジ部と、当該他端側には六角穴を備えたボルト頭と、を備えるボルト部品を有しており、ボルト部品の内部には、軸方向に形成された油孔と、該軸方向の油孔を起点として径方向に延びる複数の油孔と、が設けられている。
【0007】
また、歯切工具の発明は、複数の切れ刃を外周面に備える円盤状の歯切工具本体と、軸状のツーリングと、中央部に貫通穴を備えたリング部品と、一端側にツーリングの軸内に嵌め込むネジ部および他端側に六角穴を備えたボルト頭を具備するボルト部品と、を有して、ボルト頭をリング部品の貫通穴に嵌め込んだ状態でネジ部を用いて歯切工具本体をツーリングに締結し、かつボルト部品の中心軸からネジ部の径方向に向けて設けられた油孔の開口部とリング部品の貫通穴の内周面から径方向へ向けて設けられた油孔の内周面側の開口部が互いに接続されている。
【発明の効果】
【0008】
本発明の歯切工具用部品およびそれを用いた歯切工具は、複数の切れ刃を外周面に備える円盤状の歯切工具本体と、軸状のツーリングと、中央部に貫通穴を備えたリング部品と、一端側にツーリングの軸内に嵌め込むネジ部および他端側に六角穴を備えたボルト頭を具備するボルト部品と、を有して、ボルト頭をリング部品の貫通穴に嵌め込んだ状態でネジ部を用いて歯切工具本体をツーリングに締結し、かつボルト部品の中心軸からネジ部の径方向に向けて設けられた油孔の開口部とリング部品の貫通穴の内周面から径方向へ向けて設けられた油孔の内周面側の開口部が互いに接続されている。そのため、工作機械側から流入するエアー(圧縮空気)やクーラント(冷却剤)を歯切工具用部品の切れ刃の刃先やすくい面に適切に供給する。したがって、内歯車の加工時には切削加工時に発生する切りくずを適切に外部へ排出することができる。
【図面の簡単な説明】
【0009】
本発明の実施形態に係る歯切工具10の模式断面図である。
【発明を実施するための形態】
【0010】
本発明に係る歯切工具用部品およびそれを用いた歯切工具について図面を用いて説明する。本発明の一実施形態である歯切工具10の模式断面図を図1に示す。本発明に係る歯切工具10は、図1に示す様に回転中心Oを中心として形成された回転体形状(円環状)の工具である。歯切工具10は、図1に示す様にツーリング1、歯切工具本体2、リング部品3、ボルト部品4の各部品から少なくとも形成される。以下、これらの部品について、詳細に説明する。
(【0011】以降は省略されています)
この特許をJ-PlatPat(特許庁公式サイト)で参照する
関連特許
株式会社不二越
硬質材料
2か月前
株式会社不二越
ロボット
1か月前
株式会社不二越
エンドミル
22日前
株式会社不二越
流路切換弁
1日前
株式会社不二越
歯車加工装置
17日前
株式会社不二越
歯車加工装置
17日前
株式会社不二越
X線測定装置
22日前
株式会社不二越
歯車加工装置
17日前
株式会社不二越
X線測定システム
1か月前
株式会社不二越
噛み込み検知装置
1か月前
株式会社不二越
ノンリーク三方弁
2か月前
株式会社不二越
回転駆動システム
3日前
株式会社不二越
X線測定システム
1か月前
株式会社不二越
垂直多関節ロボット
9日前
株式会社不二越
複合アクチュエータ
2か月前
株式会社不二越
移動ロボットシステム
2か月前
株式会社不二越
斜板式ピストンポンプ
1か月前
株式会社不二越
ロボットに用いる伝送路
1か月前
株式会社不二越
固定構造および固定治具
1か月前
株式会社不二越
可変容量制御ピストンポンプ
2か月前
株式会社不二越
X線回折測定装置及びプログラム
2か月前
株式会社不二越
ダイヤモンド膜の密着性能評価方法
3日前
株式会社不二越
センサシステム及びロボットシステム
1か月前
株式会社不二越
超硬合金およびこれを用いた切削工具
1か月前
株式会社不二越
歯車加工用合金鋼およびそれを用いた歯車
2か月前
株式会社不二越
歯切工具用部品およびそれを用いた歯切工具
1日前
株式会社不二越
冷間金型用合金鋼およびそれを用いた冷間金型
1か月前
株式会社不二越
直動軸受用合金鋼およびそれを用いた直動軸受
1か月前
個人
フライス盤
2か月前
麗豊実業股フン有限公司
ラクトバチルス・パラカセイNB23菌株及びそれを筋肉量の増加や抗メタボリック症候群に用いる用途
6か月前
株式会社北川鉄工所
回転装置
5か月前
日東精工株式会社
ねじ締め機
6か月前
日東精工株式会社
ねじ締め機
2か月前
日東精工株式会社
ねじ締め機
3か月前
日東精工株式会社
ねじ締め機
1か月前
日東精工株式会社
ねじ締め装置
2か月前
続きを見る
他の特許を見る