TOP
|
特許
|
意匠
|
商標
特許ウォッチ
Twitter
他の特許を見る
10個以上の画像は省略されています。
公開番号
2025168779
公報種別
公開特許公報(A)
公開日
2025-11-12
出願番号
2024073524
出願日
2024-04-30
発明の名称
歯車加工装置
出願人
株式会社不二越
代理人
個人
,
個人
主分類
B23F
23/12 20060101AFI20251105BHJP(工作機械;他に分類されない金属加工)
要約
【課題】クーラント、エアーまたはミストの吐出量を減らしつつ、加工精度を向上させることができる歯車加工装置を提供する。
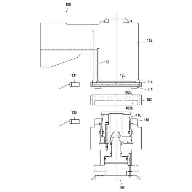
【解決手段】本発明にかかる歯車加工装置100は、ワーク102の内径を保持して回転させるワーク主軸108と、ワークの他端102bを支持するテールストック112と、テールストックと同軸に取り付けられ、ワークに隣接するように配置される吐出プレート114と、吐出プレートに設けられ吐出口130を含む流路131と、吐出プレートの内部に設けられ、流路にクーラント、エアーまたはミストを供給する供給路120と、を備え、吐出口は、ワークに形成される歯形に沿って配列され、供給路から供給されたクーラント、エアーまたはミストをワークに向かって吐出することを特徴とする。
【選択図】図5
特許請求の範囲
【請求項1】
ワークの内径または一端を保持して回転させるワーク主軸と、
前記ワークの他端を支持するテールストックと、
前記テールストックと同軸に取り付けられ、前記ワークに隣接するように配置される吐出プレートと、
前記吐出プレートに設けられ吐出口を含む流路と、
前記吐出プレートの内部に設けられ、前記流路にクーラント、エアーまたはミストを供給する供給路と、を備え、
前記吐出口は、前記ワークに形成される歯形に沿って配列され、前記供給路から供給された前記クーラント、エアーまたはミストを前記ワークに向かって吐出することを特徴とする歯車加工装置。
続きを表示(約 390 文字)
【請求項2】
前記吐出プレートは、前記ワークより小さい歯車形状であって、
前記吐出口は、前記ワークの歯先、歯面、歯底に向かってクーラント、エアーまたはミストを吐出する穴であることを特徴とする請求項1に記載の歯車加工装置。
【請求項3】
前記吐出プレートは、
ベースと、
前記ベースの側面の全周にわたって前記ワークの歯に対応して設けられた複数の取付穴と、
前記複数の取付穴に差し込まれ、前記流路が形成されたノズルとを有し、
前記吐出プレートの形状は、前記複数の取付穴に前記ノズルを差し込むことによって歯車形状となることを特徴とする請求項2に記載の歯車加工装置。
【請求項4】
前記吐出口は、前記ワークの歯先、歯面、歯底に対応する位置に配置された穴または溝であることを特徴とする請求項1に記載の歯車加工装置。
発明の詳細な説明
【技術分野】
【0001】
本発明は、ワークを切削または研削して歯車を加工する歯車加工装置に関する。
続きを表示(約 1,400 文字)
【背景技術】
【0002】
歯車を加工する加工法として、加工対象物であるワークに対して工具を相対的に移動させて加工する方法(例えばスカイビング加工、シェーパ加工やホブ加工)が知られている。このような加工法では、加工中のワークや工具に向かってクーラントを吐出することにより、ワークや工具を冷却したり、加工中に生じる切り屑を排出したりしている。
【0003】
例えば特許文献1には、スローアウェイチップおよびフライスカッタが記載されている。フライスカッタのカッタ本体は、切削液供給孔とチップ取り付け座面とを有する。スローアウェイチップは、板状のチップであって、カッタ本体のチップ取り付け座面に着脱自在に取り付けられていて、さらに切削液供給溝が設けられている。
【0004】
カッタ本体の切削液供給孔は、カッタ本体に貫設されていてスローアウェイチップに切削液(クーラント)を供給する。また切削液供給孔は、チップ取り付け座面に開口し、かつチップ取り付け座面に密着したスローアウェイチップの切削液供給溝に連通している。
【先行技術文献】
【特許文献】
【0005】
特開平8-39387号公報
【発明の概要】
【発明が解決しようとする課題】
【0006】
特許文献1では、フライスカッタのカッタ本体に孔を設け、スローアウェイチップに溝を設けることで、スローアウェイチップの切刃に向かってクーラントを吐出している。つまり特許文献1では、工具側を貫通する流路からクーラントを吐出して、ワークや切削工具を冷却したり、切り屑を排出したりしている。
【0007】
しかし、歯切り加工では一般に工具の回転数はワークの回転数よりも高い。したがって特許文献1のように工具からクーラントを吐出する場合、クーラントが激しく飛散してしまうため、クーラントの吐出量を増やす必要があった。なおクーラントを用いるウェット加工に限らず、エアーを用いるドライ加工やミストを用いるセミドライ加工においても、工具からエアーやミストを吐出する場合、エアーやミストの吐出量を増やす必要がある。
【0008】
また、工具として砥石を用いた場合には、工具近傍の吐出ノズルからクーラントを吐出すると、砥石にクーラントが浸み込んで重量バランスが崩れて偏心する。すると砥石が振動してしまうため、加工精度が低下してしまうという問題がある。
【0009】
本発明は、このような課題に鑑み、クーラント、エアーまたはミストの吐出量を減らしつつ、加工精度を向上させることができる歯車加工装置を提供することを目的としている。
【課題を解決するための手段】
【0010】
上記課題を解決するために、本発明にかかる歯車加工装置の代表的な構成は、ワークの内径または一端を保持して回転させるワーク主軸と、ワークの他端を支持するテールストックと、テールストックと同軸に取り付けられ、ワークに隣接するように配置される吐出プレートと、吐出プレートに設けられ吐出口を含む流路と、吐出プレートの内部に設けられ、流路にクーラント、エアーまたはミストを供給する供給路と、を備え、吐出口は、ワークに形成される歯形に沿って配列され、供給路から供給されたクーラント、エアーまたはミストをワークに向かって吐出することを特徴とする。
(【0011】以降は省略されています)
この特許をJ-PlatPat(特許庁公式サイト)で参照する
関連特許
株式会社不二越
エンドミル
1か月前
株式会社不二越
流路切換弁
9日前
株式会社不二越
歯車加工装置
25日前
株式会社不二越
X線測定装置
1か月前
株式会社不二越
歯車加工装置
25日前
株式会社不二越
歯車加工装置
25日前
株式会社不二越
電動油圧ポンプ
2日前
株式会社不二越
空冷式油圧装置
2日前
株式会社不二越
電動油圧ポンプ
2日前
株式会社不二越
回転駆動システム
11日前
株式会社不二越
X線測定システム
1か月前
株式会社不二越
X線測定システム
2日前
株式会社不二越
噛み込み検知装置
1か月前
株式会社不二越
X線測定システム
1か月前
株式会社不二越
垂直多関節ロボット
17日前
株式会社不二越
斜板式ピストンポンプ
2か月前
株式会社不二越
ロボットに用いる伝送路
1か月前
株式会社不二越
固定構造および固定治具
1か月前
株式会社不二越
ダイヤモンド膜の密着性能評価方法
11日前
株式会社不二越
センサシステム及びロボットシステム
1か月前
株式会社不二越
超硬合金およびこれを用いた切削工具
1か月前
株式会社不二越
歯切工具用部品およびそれを用いた歯切工具
9日前
株式会社不二越
冷間金型用合金鋼およびそれを用いた冷間金型
1か月前
株式会社不二越
直動軸受用合金鋼およびそれを用いた直動軸受
1か月前
個人
フライス盤
2か月前
麗豊実業股フン有限公司
ラクトバチルス・パラカセイNB23菌株及びそれを筋肉量の増加や抗メタボリック症候群に用いる用途
6か月前
株式会社北川鉄工所
回転装置
5か月前
日東精工株式会社
ねじ締め機
3か月前
日東精工株式会社
ねじ締め機
6か月前
日東精工株式会社
ねじ締め機
2か月前
日東精工株式会社
ねじ締め機
1か月前
日東精工株式会社
ねじ締め装置
2か月前
株式会社ダイヘン
溶接電源装置
4か月前
株式会社ダイヘン
溶接電源装置
4か月前
株式会社ダイヘン
溶接電源装置
4か月前
キヤノン電子株式会社
加工装置
1か月前
続きを見る
他の特許を見る