TOP
|
特許
|
意匠
|
商標
特許ウォッチ
Twitter
他の特許を見る
公開番号
2025161587
公報種別
公開特許公報(A)
公開日
2025-10-24
出願番号
2024064903
出願日
2024-04-12
発明の名称
固定構造および固定治具
出願人
株式会社不二越
代理人
個人
主分類
F16M
5/00 20060101AFI20251017BHJP(機械要素または単位;機械または装置の効果的機能を生じ維持するための一般的手段)
要約
【課題】ボルトの締付力を固定治具によって伝達する場合でも、産業用機械の底部を強固に固定できる固定構造および固定治具を提供する。
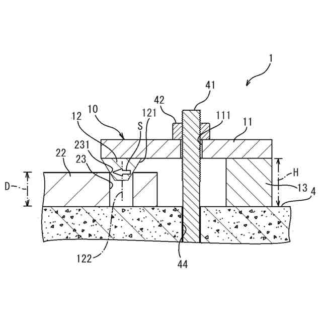
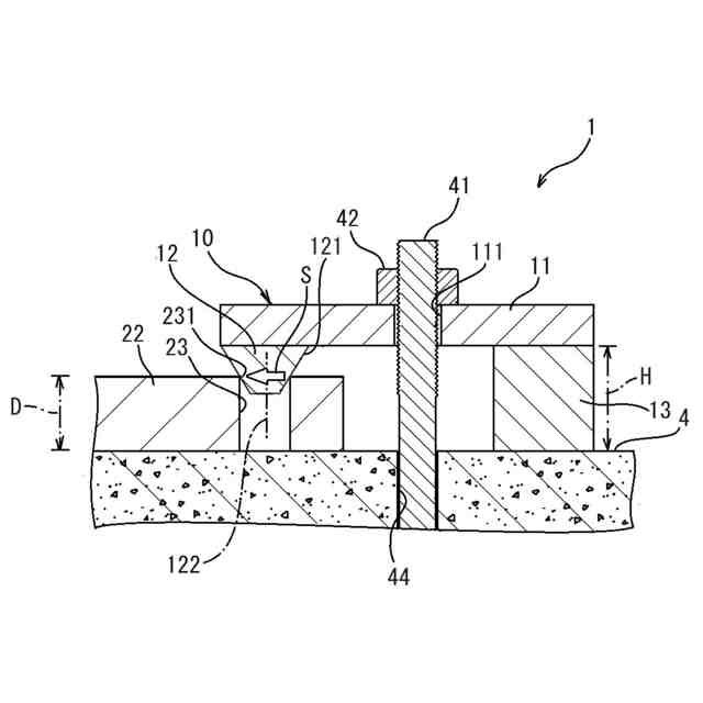
【解決手段】固定構造1は、産業用ロボットの底部の敷板22を設置面4に固定するものである。固定構造1では、敷板22に設置面4と反対側の頂端が開口した孔23が設けられ、その孔23に、固定治具10の治具本体11の一方の端部に設けられた嵌入突起12が頂端の開口から嵌入される。嵌入突起12の外周面は、嵌入突起12が突出端に行くにつれ窄まるように傾いた傾斜部分121を有し、傾斜部分121と孔23の頂端の開口縁231とが当接する。治具本体11の他方の端部に、設置面4に設置する設置部13が設けられ、敷板22の外側において、固定治具10が、治具本体11の一方の端部と他方の端部の間に形成された貫通孔111に通されたボルト41を用いて設置面4に締結される。
【選択図】図3
特許請求の範囲
【請求項1】
産業用機械の底部を設置面に固定する固定構造であって、
前記産業用機械の底部に、前記設置面と反対側の頂端が開口した孔または穴から構成された被嵌入部が設けられ、
前記被嵌入部に、固定治具の治具本体の一方の端部に設けられた嵌入突起が前記頂端の開口から嵌入され、
前記嵌入突起の外周面は、前記嵌入突起が突出端側に行くにつれ窄まるように傾いた傾斜部分を有し、前記傾斜部分と前記被嵌入部の前記頂端の開口縁とが当接し、
前記治具本体の他方の端部に、前記設置面に設置する設置部が設けられ、
前記産業用機械の前記底部の外側において、前記固定治具が、前記治具本体の前記一方の端部と前記他方の端部の間に形成された貫通孔に通されたボルトを用いて前記設置面に締結されたことを特徴とする固定構造。
続きを表示(約 540 文字)
【請求項2】
前記設置部は、前記治具本体の前記他方の端部と前記設置面との間に配置されるスペーサであることを特徴とする請求項1記載の固定構造。
【請求項3】
前記産業用機械は、産業用ロボットであることを特徴とする請求項1記載の固定構造。
【請求項4】
産業用機械の底部を設置面に固定するための固定治具であって、
前記産業用機械の底部の外側でボルトを用いて前記設置面に締結され、
治具本体と、
前記治具本体の一方の端部に設けられた嵌入突起と、
前記治具本体の他方の端部に設けられた、前記設置面に設置する設置部と、
を具備し、
前記治具本体の前記一方の端部と前記他方の端部の間に前記ボルトを通すための貫通孔が設けられ、
前記嵌入突起は、前記産業用機械の底部に設けられた、頂端が開口した孔または穴から構成された被嵌入部に前記頂端の開口から嵌入されるものであり、
前記嵌入突起の外周面は、前記嵌入突起が突出端側に行くにつれ窄まるように傾いた傾斜部分を有し、
前記嵌入突起を前記被嵌入部に嵌入した際に、前記傾斜部分と前記被嵌入部の前記頂端の開口縁とが当接することを特徴とする固定治具。
発明の詳細な説明
【技術分野】
【0001】
本発明は、産業用機械の底部の固定構造とこれに用いる固定治具に関する。
続きを表示(約 1,600 文字)
【背景技術】
【0002】
産業用ロボットの設置に当たり、産業用ロボットの底部の敷板をボルトとナットを用いて設置面に固定することがある。これは、敷板の貫通孔にボルト(アンカーボルト)を通してボルトを設置面に固定し、ボルトの敷板からの突出部分にナットを締め込むことで、ナットと設置面の間で敷板を挟んで固定するというものである。
【0003】
この方法は、ナットの締め込みによるボルトの締付力(ボルトの引張力の反力)を直接敷板に加えるものであるが、敷板の範囲内にボルトを設けることができない場合、締付力を直接敷板に加えることができない。そのため、クランプ型の固定治具を用い、敷板の範囲外に設けたボルトの締付力を敷板に伝達することもある。これは、固定治具の一端を敷板上に載せ、固定治具にボルトを通してボルトを設置面に固定し、ボルトの固定治具からの突出部分にナットを締め込んで固定治具を設置面側に締結することで、固定治具の一端と設置面の間で敷板を挟んで固定するというものである。
【0004】
特許文献1に、産業用ロボットとは異なるものの、自動販売機を設置面に設置する類似の方法及び固定構造が示されている。これは、自動販売機の脚部下端の皿部を設置面に設置した状態で、皿部の上に固定金具の一端を被せるように配置し、且つ固定金具の他端に設置面から突出するボルトを通してボルトの固定金具からの突出部分にナットを締め込むものである。
【先行技術文献】
【特許文献】
【0005】
特許第5329707号公報
【発明の概要】
【発明が解決しようとする課題】
【0006】
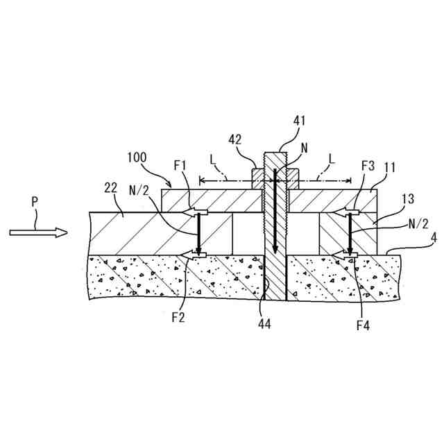
敷板の貫通孔にボルトを通し、ボルトの締付力を直接敷板に加える場合、設置面と平行な水平方向の外力に対する産業用ロボットの固定に関し、敷板と設置面との間の摩擦抵抗だけでなく、敷板の貫通孔に通したボルトのせん断抵抗も固定力として期待できる。
【0007】
これに対し、クランプ型の固定治具を用いてボルトの締付力を敷板に伝達する場合、設置面と平行な水平方向の外力に対する産業用ロボットの固定は、治具本体と敷板との間、および敷板と設置面との間の摩擦抵抗を用いるものとなる。しかしながら、これらの摩擦抵抗はボルトのせん断抵抗に比べて弱い。よって、産業用ロボットの底部の固定構造として、ボルトの締付力を固定治具によって伝達する場合でも、産業用ロボットの底部を強固に固定できるものが求められていた。これは産業用ロボットに限らず、その他の産業用機械に関しても同様である。
【0008】
上記課題に鑑み、本発明は、ボルトの締付力を固定治具によって伝達する場合でも、産業用機械の底部を強固に固定できる固定構造および固定治具を提供することを目的とする。
【課題を解決するための手段】
【0009】
上記課題を解決するための第1の発明は、産業用機械の底部を設置面に固定する固定構造であって、前記産業用機械の底部に、前記設置面と反対側の頂端が開口した孔または穴から構成された被嵌入部が設けられ、前記被嵌入部に、固定治具の治具本体の一方の端部に設けられた嵌入突起が前記頂端の開口から嵌入され、前記嵌入突起の外周面は、前記嵌入突起が突出端側に行くにつれ窄まるように傾いた傾斜部分を有し、前記傾斜部分と前記被嵌入部の前記頂端の開口縁とが当接し、前記治具本体の他方の端部に、前記設置面に設置する設置部が設けられ、前記産業用機械の前記底部の外側において、前記固定治具が、前記治具本体の前記一方の端部と前記他方の端部の間に形成された貫通孔に通されたボルトを用いて前記設置面に締結されたことを特徴とする固定構造である。
【0010】
前記設置部は、例えば、前記治具本体の前記他方の端部と前記設置面との間に配置されるスペーサである。
(【0011】以降は省略されています)
この特許をJ-PlatPat(特許庁公式サイト)で参照する
関連特許
株式会社不二越
ロボット
2か月前
株式会社不二越
流路切換弁
10日前
株式会社不二越
エンドミル
1か月前
株式会社不二越
X線測定装置
1か月前
株式会社不二越
歯車加工装置
26日前
株式会社不二越
歯車加工装置
26日前
株式会社不二越
歯車加工装置
26日前
株式会社不二越
電動油圧ポンプ
3日前
株式会社不二越
空冷式油圧装置
3日前
株式会社不二越
電動油圧ポンプ
3日前
株式会社不二越
ノンリーク三方弁
2か月前
株式会社不二越
X線測定システム
1か月前
株式会社不二越
X線測定システム
1か月前
株式会社不二越
噛み込み検知装置
1か月前
株式会社不二越
回転駆動システム
12日前
株式会社不二越
X線測定システム
3日前
株式会社不二越
垂直多関節ロボット
18日前
株式会社不二越
複合アクチュエータ
2か月前
株式会社不二越
斜板式ピストンポンプ
2か月前
株式会社不二越
固定構造および固定治具
1か月前
株式会社不二越
ロボットに用いる伝送路
1か月前
株式会社不二越
X線回折測定装置及びプログラム
2か月前
株式会社不二越
ダイヤモンド膜の密着性能評価方法
12日前
株式会社不二越
超硬合金およびこれを用いた切削工具
1か月前
株式会社不二越
センサシステム及びロボットシステム
1か月前
株式会社不二越
歯切工具用部品およびそれを用いた歯切工具
10日前
株式会社不二越
直動軸受用合金鋼およびそれを用いた直動軸受
1か月前
株式会社不二越
冷間金型用合金鋼およびそれを用いた冷間金型
1か月前
個人
留め具
1か月前
個人
鍋虫ねじ
3か月前
個人
紛体用仕切弁
3か月前
個人
ホース保持具
7か月前
個人
回転伝達機構
4か月前
個人
差動歯車用歯形
5か月前
個人
給排気装置
2か月前
個人
ジョイント
2か月前
続きを見る
他の特許を見る