TOP
|
特許
|
意匠
|
商標
特許ウォッチ
Twitter
他の特許を見る
公開番号
2025144010
公報種別
公開特許公報(A)
公開日
2025-10-02
出願番号
2024043563
出願日
2024-03-19
発明の名称
電動オイルポンプ
出願人
NTN株式会社
代理人
個人
,
個人
主分類
F04C
15/00 20060101AFI20250925BHJP(液体用容積形機械;液体または圧縮性流体用ポンプ)
要約
【課題】電動オイルポンプにおいてモータ部の出力軸の支持軸受を効率良く潤滑する。
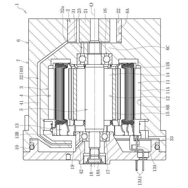
【解決手段】ポンプ部2及びモータ部3を収容するハウジング6を備え、モータ部3の出力軸5が、第1及び第2転がり軸受16,17によりハウジング6に対して回転自在に支持され、出力軸5が回転するのに伴って、出力軸5の軸方向一方側の端部に設けたインナロータ21がポンプ室6A内で回転することにより、オイルが吸入及び吐出されると共に、ポンプ室6A内のオイルが給油路を介して第2転がり軸受17に供給される電動オイルポンプ1である。第2転がり軸受17にオイルを供給する第2給油路32は、モータ室6Bの第2転がり軸受17の収容空間とポンプ室6Aとを連通している。
【選択図】図1
特許請求の範囲
【請求項1】
オイルを吸入及び吐出するポンプ部と、該ポンプ部を駆動するモータ部と、前記ポンプ部及び前記モータ部を軸方向に並べた状態で収容するハウジングとを備え、
前記モータ部の出力軸が、その外周に結合したロータの軸方向一方側及び他方側にそれぞれ配した第1及び第2転がり軸受により前記ハウジングに対して回転自在に支持され、
前記出力軸が回転するのに伴って、前記出力軸の軸方向一方側の端部に設けられたポンプロータがポンプ室内で回転することにより、前記オイルが吸入及び吐出されると共に、前記ポンプ室内の前記オイルが給油路を介して前記第1及び第2転がり軸受に供給される電動オイルポンプであって、
前記第2転がり軸受に前記オイルを供給する給油路は、前記ポンプ室と前記第2転がり軸受の収容空間とを連通していることを特徴とする電動オイルポンプ。
続きを表示(約 310 文字)
【請求項2】
前記第2転がり軸受に前記オイルを供給する給油路は、前記ハウジングに形成した外側給油路を含む請求項1に記載の電動オイルポンプ。
【請求項3】
前記第2転がり軸受に前記オイルを供給する給油路は、前記出力軸に形成した内側給油路を含む請求項1に記載の電動オイルポンプ。
【請求項4】
前記第2転がり軸受を潤滑した前記オイルをオイルタンクに排出する径方向のドレーン孔が前記ハウジングに設けられ、
前記ドレーン孔の孔中心と前記給油路の始端との軸方向離間距離が、前記第2転がり軸受の軸受中心と前記給油路の始端との軸方向離間距離よりも大きい請求項1に記載の電動オイルポンプ。
発明の詳細な説明
【技術分野】
【0001】
本発明は、例えば自動車等の車両に搭載される油圧機器にオイル(作動油)を供給するための油圧供給源として用いられる電動オイルポンプに関する。
続きを表示(約 1,700 文字)
【背景技術】
【0002】
例えば下記の特許文献1には、電動モータを有するモータ部と、モータ部の出力を受けて駆動されるポンプ部とが軸方向に連ねて配置された電動オイルポンプが記載されている。この電動オイルポンプにおいて、電動モータの出力軸は、軸方向に間隔を空けて配置された二つの転がり軸受(第1及び第2転がり軸受)によってハウジングに対して回転自在に支持されている。
【0003】
出力軸を支持する転がり軸受の軸受性能を長期間に亘って安定的に発揮可能とするには、潤滑油やグリース等の潤滑剤による内部潤滑が必要になるところ、特許文献1の電動ポンプにおいては、ポンプ部の内部(ポンプ室)から漏れ出たドレンオイルを潤滑剤として活用するようにしている。
【0004】
より詳しくは、中空状に形成された電動モータの出力軸はポンプ部の入力軸の外周に嵌合されており、両転がり軸受のうち相対的にポンプ室に近い側に配置された第1転がり軸受には、ポンプ部の入力軸の外周に沿って形成された給油路を介して上記ドレンオイルが供給される一方で、両転がり軸受のうち相対的にポンプ室から離れた側(ロータを挟んで第1転がり軸受の軸方向反対側)に配置された第2転がり軸受には、第1転がり軸受を通過(潤滑)した後、電動モータのロータとステータの間(に形成される僅かな径方向隙間)に導入されたドレンオイルが供給される。
【先行技術文献】
【特許文献】
【0005】
特開2013-136965号公報
【発明の概要】
【発明が解決しようとする課題】
【0006】
上記のような軸受潤滑構造を採用した場合、ポンプ室に近接配置された第1転がり軸受には潤滑剤としてのドレンオイルを潤沢に供給することができる。その一方、第1転がり軸受を通過したドレンオイルは、電動モータのロータとステータの間(の径方向隙間)、及び電動モータの出力軸とポンプ部の入力軸の間(の径方向隙間)に導入されることから、第2転がり軸受には十分量のドレンオイルを供給することができず、第2転がり軸受の内部潤滑を適切に行うことができない可能性がある。
【0007】
そこで、本発明は、電動モータの出力軸をロータの軸方向両側で回転自在に支持する2つの転がり軸受を均等に潤滑可能とし、もって高品質で長寿命の電動オイルポンプを提供することを目的とする。
【課題を解決するための手段】
【0008】
上記の目的を達成するために創案された本発明は、オイルを吸入及び吐出するポンプ部と、ポンプ部を駆動するモータ部と、ポンプ部及びモータ部を軸方向に並べた状態で収容したハウジングとを備え、
モータ部の出力軸が、その外周に結合したロータの軸方向一方側及び他方側にそれぞれ配した第1及び第2転がり軸受によりハウジングに対して回転自在に支持され、
出力軸が回転するのに伴って、出力軸の軸方向一方側の端部に設けられたポンプロータがポンプ室内で回転することにより、オイルが吸入及び吐出されると共に、ポンプ室内のオイルが給油路を介して第1及び第2転がり軸受に供給される電動オイルポンプであって、
第2転がり軸受にオイルを供給する給油路は、ポンプ室と第2転がり軸受の収容空間とを連通していることを特徴とする。
【0009】
上記のように、ポンプ室と第2転がり軸受の収容空間とを連通する給油路を介して第2転がり軸受にオイルを供給するようにすれば、第2転がり軸受にオイルを直接的に供給することが可能となる。これにより、第1及び第2転がり軸受のうち、出力軸の軸方向一方側の端部に設けられるポンプロータ(が配置されるポンプ室)との軸方向離間距離が相対的に大きい第2転がり軸受にオイルを潤沢に供給すること、さらに言えば、第1及び第2転がり軸受を均等に潤滑することが可能になる。
【0010】
第2転がり軸受にオイルを供給する給油路は、ハウジングに形成した外側給油路、及び出力軸に形成した内側給油路の何れか一方又は双方を含むものとすることができる。
(【0011】以降は省略されています)
この特許をJ-PlatPat(特許庁公式サイト)で参照する
関連特許
NTN株式会社
基板
11日前
NTN株式会社
玉軸受
12日前
NTN株式会社
ハンド
6日前
NTN株式会社
玉軸受
19日前
NTN株式会社
玉軸受
20日前
NTN株式会社
作業装置
4日前
NTN株式会社
把持装置
6日前
NTN株式会社
軸受装置
18日前
NTN株式会社
把持装置
6日前
NTN株式会社
密封装置
4日前
NTN株式会社
転がり軸受
6日前
NTN株式会社
転がり軸受
12日前
NTN株式会社
円筒ころ軸受
20日前
NTN株式会社
シール付軸受
4日前
NTN株式会社
基板取付構造
18日前
NTN株式会社
状態監視装置
5日前
NTN株式会社
軸受用保持器
1か月前
NTN株式会社
等速自在継手
18日前
NTN株式会社
回転伝達装置
4日前
NTN株式会社
円すいころ軸受
11日前
NTN株式会社
車輪用軸受装置
20日前
NTN株式会社
保持器付きころ
8日前
NTN株式会社
モータユニット
8日前
NTN株式会社
電動モータ装置
20日前
NTN株式会社
リンク作動装置
今日
NTN株式会社
絶縁転がり軸受
1か月前
NTN株式会社
車輪用軸受装置
4日前
NTN株式会社
プランマブロック
18日前
NTN株式会社
電動オイルポンプ
5日前
NTN株式会社
動力伝達シャフト
18日前
NTN株式会社
状態監視システム
5日前
NTN株式会社
固定式等速自在継手
12日前
NTN株式会社
固定式等速自在継手
12日前
NTN株式会社
固定式等速自在継手
12日前
NTN株式会社
固定式等速自在継手
12日前
NTN株式会社
固定式等速自在継手
12日前
続きを見る
他の特許を見る