TOP
|
特許
|
意匠
|
商標
特許ウォッチ
Twitter
他の特許を見る
10個以上の画像は省略されています。
公開番号
2025169681
公報種別
公開特許公報(A)
公開日
2025-11-14
出願番号
2024074632
出願日
2024-05-02
発明の名称
ポンプシステムの運転方法、およびポンプシステム
出願人
株式会社荏原製作所
代理人
個人
,
個人
,
個人
主分類
F04D
9/04 20060101AFI20251107BHJP(液体用容積形機械;液体または圧縮性流体用ポンプ)
要約
【課題】ポンプケーシングから空気を確実に排出することで、主ポンプの運転始動を確実に実行することができるポンプシステムの運転方法を提供する。
【解決手段】ポンプシステムの運転方法は、ポンプケーシング6の吐出し側に連結された吐出弁27を閉じた状態で、主ポンプ5を起動し、真空ポンプ7の運転を開始し、ポンプケーシング6から吸込み槽1に延びるバイパス管40に設けられたバイパス弁41を中間開度まで開き、ポンプケーシング6内の満水が検出された後に、所定の第1待機時間をカウントし、所定の第1待機時間経過後に、バイパス弁41を閉じ、その後、吐出弁27を全開にする。
【選択図】図1
特許請求の範囲
【請求項1】
水を吸込み槽から吐出し槽に移送する主ポンプと、前記主ポンプのポンプケーシングに設けられた気液分離機構と、前記ポンプケーシング内の旋回流を防止する旋回防止板と、前記気液分離機構を介して前記ポンプケーシング内に連結され、前記ポンプケーシング内の空気を排出する真空ポンプを備えたポンプシステムの運転方法であって、
前記ポンプケーシングの吐出し側に連結された吐出弁を閉じた状態で、前記主ポンプを起動し、
前記真空ポンプの運転を開始し、
前記ポンプケーシングから前記吸込み槽に延びるバイパス管に設けられたバイパス弁を中間開度まで開き、
前記ポンプケーシング内の満水が検出された後に、所定の第1待機時間をカウントし、
前記所定の第1待機時間経過後に、前記バイパス弁を閉じ、その後、
前記吐出弁を全開にする、ポンプシステムの運転方法。
続きを表示(約 2,100 文字)
【請求項2】
前記バイパス弁を閉じた後であって、かつ前記吐出弁を全開にする前に、前記ポンプケーシング内の圧力が所定の目標圧力を超えているか否かを判定することをさらに含み、
前記ポンプケーシング内の圧力が前記所定の目標圧力を超えているときは、前記吐出弁を全開にする、請求項1に記載のポンプシステムの運転方法。
【請求項3】
前記ポンプケーシング内の圧力が前記所定の目標圧力を下回っているときは、前記バイパス弁を開き、
所定の第2待機時間をカウントし、
前記所定の第2待機時間経過後に、前記バイパス弁を閉じ、その後、
前記ポンプケーシング内の圧力が前記所定の目標圧力まで上昇しているか否かを再度判定することをさらに含む、請求項2に記載のポンプシステムの運転方法。
【請求項4】
前記ポンプケーシング内の満水が検出された後であって、かつ前記所定の第1待機時間をカウントする前に、前記真空ポンプの運転を停止することをさらに含む、請求項1に記載のポンプシステムの運転方法。
【請求項5】
前記バイパス弁を閉じた後、前記吐出弁を中間開度まで開き、その後、
前記真空ポンプの運転を停止することをさらに含み、
前記真空ポンプの運転を停止した後に、前記吐出弁を全開にする、請求項1に記載のポンプシステムの運転方法。
【請求項6】
前記吐出弁を全開にした後に、前記真空ポンプの運転を停止することをさらに含む、請求項1に記載のポンプシステムの運転方法。
【請求項7】
前記運転方法は、前記主ポンプの運転が停止した後に、管理運転モードを実行することをさらに含み、
前記管理運転モードは、
前記吐出弁および前記バイパス弁を閉じた状態で、前記主ポンプを起動し、
前記真空ポンプの運転を開始し、
前記バイパス弁を中間開度まで開き、
前記ポンプケーシング内の満水が検出された後に、前記真空ポンプの運転を停止し、その後、
前記バイパス弁を全開にする、請求項1に記載のポンプシステムの運転方法。
【請求項8】
前記運転方法は、前記吐出弁を全開にした状態で、前記主ポンプによる排水運転を行い、
前記主ポンプの排水運転中に、前記吸込み槽内の水位が低下して、第1小水量運転水位に達したときに、予め設定された連続運転最低流量と、前記主ポンプの排水運転時の運転点の流量との間の範囲内にある第1運転点を決定し、
前記第1運転点に対応する前記吐出弁の第1の開度を決定し、
前記吐出弁の開度を全開から前記第1の開度に変更し、
前記吸込み槽内の水位がさらに低下して、第2小水量運転水位に達したときに、前記予め設定された連続運転最低流量と、前記主ポンプの排水運転時の前記運転点の流量との間の範囲内にある第2運転点を決定し、
前記第2運転点に対応する前記吐出弁の第2の開度および前記バイパス弁の第3の開度を決定し、
前記吐出弁の開度を前記第1の開度から前記第2の開度に変更し、かつ前記バイパス弁の開度を全閉から前記第3の開度に変更することをさらに含む、請求項1に記載のポンプシステムの運転方法。
【請求項9】
水を吸込み槽から吐出し槽に移送する主ポンプと、
前記主ポンプのポンプケーシングに設けられた気液分離機構と、
前記ポンプケーシング内の旋回流を防止する旋回防止板と、
前記気液分離機構を介して前記ポンプケーシング内に連結され、前記ポンプケーシング内の空気を排出する真空ポンプと、
前記ポンプケーシングの吐出し側に連結された吐出弁と、
前記ポンプケーシングから前記吸込み槽に延びるバイパス管と、
前記バイパス管に設けられたバイパス弁と、
前記ポンプケーシング内の満水を検出する満水検出器と、
前記主ポンプ、前記真空ポンプ、前記吐出弁、および前記バイパス弁の動作を制御する動作制御部を備え、
前記動作制御部は、
前記吐出弁を閉じた状態で、前記主ポンプを起動させ、
前記真空ポンプの運転を開始させ、
前記バイパス弁を中間開度まで開き、
前記ポンプケーシング内の満水が検出された後に、所定の第1待機時間をカウントし、
前記所定の第1待機時間経過後に、前記バイパス弁を閉じ、その後、
前記吐出弁を全開にするように構成されている、ポンプシステム。
【請求項10】
前記動作制御部は、
前記バイパス弁を閉じた後であって、かつ前記吐出弁を全開にする前に、前記ポンプケーシング内の圧力が所定の目標圧力を超えているか否かを判定し、
前記ポンプケーシング内の圧力が前記所定の目標圧力を超えているときは、前記吐出弁を全開にするように構成されている、請求項9に記載のポンプシステム。
(【請求項11】以降は省略されています)
発明の詳細な説明
【技術分野】
【0001】
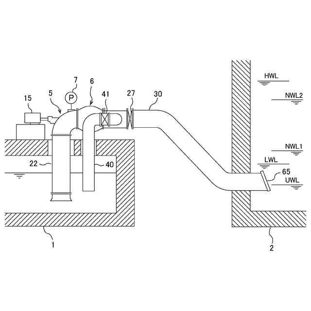
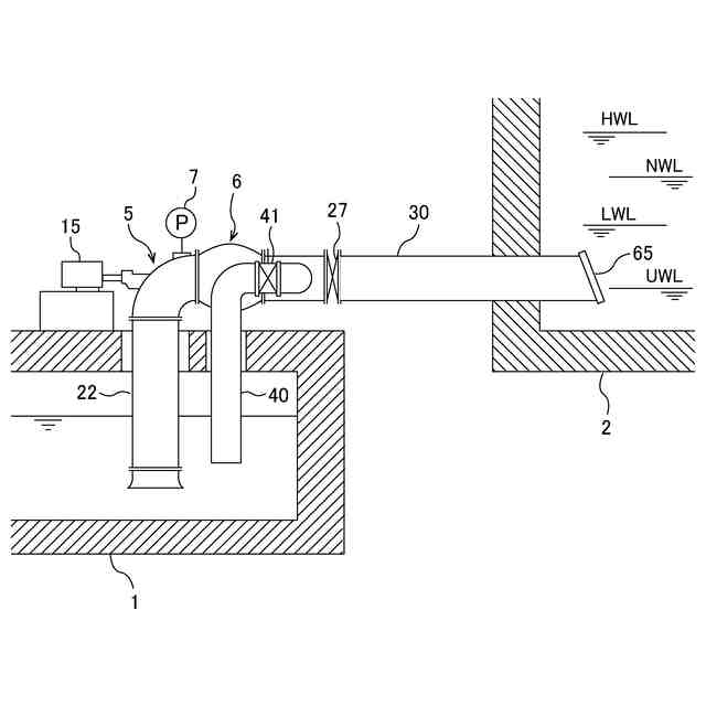
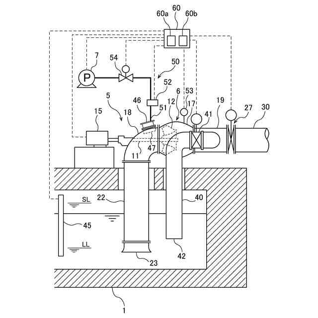
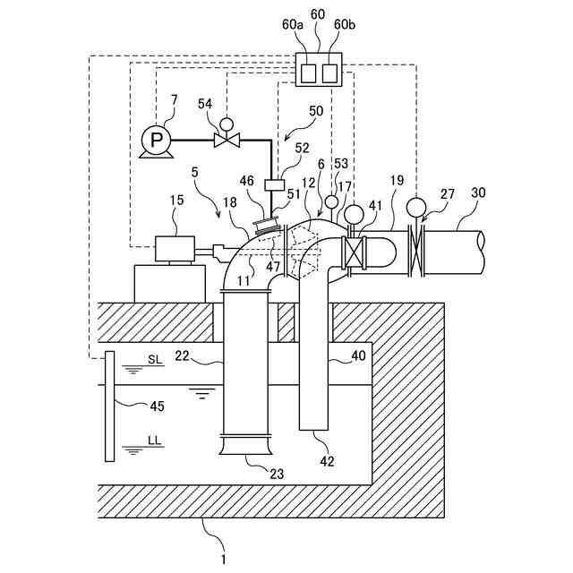
本発明は、水を吸込み槽から吐出し槽に移送する主ポンプと、主ポンプのポンプケーシング内の空気を排出する真空ポンプを備えたポンプシステムに関し、特にポンプシステムの始動方法に関する。
続きを表示(約 2,800 文字)
【背景技術】
【0002】
従来の吸い上げ式の横軸ポンプシステムにおいては、真空ポンプでポンプケーシング内部を吸気し、満水検出器で満水を検出した後に、駆動機である電動機を起動し横軸ポンプ(主ポンプ)を始動している。このような運転方法では、始動時におけるポンプトルク(ポンプ回転体を回転させるために必要なトルク)が大きくなり、十分な始動トルクを発生できる駆動システムを選定する必要があった。このような駆動システムにおいては、大きい始動トルクを発生するために必要な始動電流も大きくなるため、その始動電流を抑制するために高価な電動機や始動方式を採用する必要があった。
【0003】
上記のように、始動電流が大きい電動機を採用する場合、電力を供給する電源系統において、瞬時的な電圧降下を起すことがある。これを解消するために、構造が複雑で高価な巻線型電動機や、高価な始動装置(インバータやコンドルファ始動器等)を用いるか、あるいは電圧降下保障装置を別途設ける必要がある。これは、電力を供給する各電力会社は、他の電力需要家への影響を考慮し、系統の電圧降下について、制限を設けており、この制限から逸脱する設備の場合、設備側で制限を満たす設備を設けることが要求されるからである。
【0004】
そこで、これらの課題に対し、特許文献1に示されるように、気液分離機構と旋回防止板を用いたポンプ設備および運転方法が提供されている。この特許文献1は、主ポンプを運転させながら、真空ポンプでポンプケーシング内の空気を排出する技術を提供する。この技術によれば、電動機の始動電流を抑制し、安価で簡素な横軸ポンプを提供することができる。
【先行技術文献】
【特許文献】
【0005】
特開2011-256769号公報
【発明の概要】
【発明が解決しようとする課題】
【0006】
しかしながら、特許文献1に示される方法では、ドライ始動後の満水工程において、ケーシング内の空気が完全に吸気されずにわずかに空気が残り、主ポンプの揚程が低下する課題が残されていた。すなわち、水と空気の混合流体は密度が低いので、ポンプ性能が大きく低下し、主ポンプは水を吐き出すことができなくなってしまう。このような問題は、主ポンプの吐出し管に高い水圧が加わるときに生じやすい。例えば、吐出し槽の水位が吐出し管の排出口よりも高い場合、吐出し管の一部が主ポンプの羽根車よりも高い位置にある場合などに、上記問題は起こりうる。
【0007】
そこで、本発明は、ポンプケーシングから空気を確実に排出することで、主ポンプの運転始動を確実に実行することができるポンプシステムの運転方法、およびそのような運転方法を実行することができるポンプシステムを提供する。
【課題を解決するための手段】
【0008】
一態様では、水を吸込み槽から吐出し槽に移送する主ポンプと、前記主ポンプのポンプケーシングに設けられた気液分離機構と、前記ポンプケーシング内の旋回流を防止する旋回防止板と、前記気液分離機構を介して前記ポンプケーシング内に連結され、前記ポンプケーシング内の空気を排出する真空ポンプを備えたポンプシステムの運転方法であって、前記ポンプケーシングの吐出し側に連結された吐出弁を閉じた状態で、前記主ポンプを起動し、前記真空ポンプの運転を開始し、前記ポンプケーシングから前記吸込み槽に延びるバイパス管に設けられたバイパス弁を中間開度まで開き、前記ポンプケーシング内の満水が検出された後に、所定の第1待機時間をカウントし、前記所定の第1待機時間経過後に、前記バイパス弁を閉じ、その後、前記吐出弁を全開にする、ポンプシステムの運転方法が提供される。
【0009】
一態様では、前記運転方法は、前記バイパス弁を閉じた後であって、かつ前記吐出弁を全開にする前に、前記ポンプケーシング内の圧力が所定の目標圧力を超えているか否かを判定することをさらに含み、前記ポンプケーシング内の圧力が前記所定の目標圧力を超えているときは、前記吐出弁を全開にする。
一態様では、前記運転方法は、前記ポンプケーシング内の圧力が前記所定の目標圧力を下回っているときは、前記バイパス弁を開き、所定の第2待機時間をカウントし、前記所定の第2待機時間経過後に、前記バイパス弁を閉じ、その後、前記ポンプケーシング内の圧力が前記所定の目標圧力まで上昇しているか否かを再度判定することをさらに含む。
一態様では、前記運転方法は、前記ポンプケーシング内の満水が検出された後であって、かつ前記所定の第1待機時間をカウントする前に、前記真空ポンプの運転を停止することをさらに含む。
一態様では、前記運転方法は、前記バイパス弁を閉じた後、前記吐出弁を中間開度まで開き、その後、前記真空ポンプの運転を停止することをさらに含み、前記真空ポンプの運転を停止した後に、前記吐出弁を全開にする。
一態様では、前記運転方法は、前記吐出弁を全開にした後に、前記真空ポンプの運転を停止することをさらに含む。
【0010】
一態様では、前記運転方法は、前記主ポンプの運転が停止した後に、管理運転モードを実行することをさらに含み、前記管理運転モードは、前記吐出弁および前記バイパス弁を閉じた状態で、前記主ポンプを起動し、前記真空ポンプの運転を開始し、前記バイパス弁を中間開度まで開き、前記ポンプケーシング内の満水が検出された後に、前記真空ポンプの運転を停止し、その後、前記バイパス弁を全開にする。
一態様では、前記運転方法は、前記吐出弁を全開にした状態で、前記主ポンプによる排水運転を行い、前記主ポンプの排水運転中に、前記吸込み槽内の水位が低下して、第1小水量運転水位に達したときに、予め設定された連続運転最低流量と、前記主ポンプの排水運転時の運転点の流量との間の範囲内にある第1運転点を決定し、前記第1運転点に対応する前記吐出弁の第1の開度を決定し、前記吐出弁の開度を全開から前記第1の開度に変更し、前記吸込み槽内の水位がさらに低下して、第2小水量運転水位に達したときに、前記予め設定された連続運転最低流量と、前記主ポンプの排水運転時の前記運転点の流量との間の範囲内にある第2運転点を決定し、前記第2運転点に対応する前記吐出弁の第2の開度および前記バイパス弁の第3の開度を決定し、前記吐出弁の開度を前記第1の開度から前記第2の開度に変更し、かつ前記バイパス弁の開度を全閉から前記第3の開度に変更することをさらに含む。
(【0011】以降は省略されています)
この特許をJ-PlatPat(特許庁公式サイト)で参照する
関連特許
株式会社荏原製作所
研磨装置
11日前
株式会社荏原製作所
ポンプ装置
1か月前
株式会社荏原製作所
モータポンプ
1か月前
株式会社荏原製作所
往復動ポンプ
20日前
株式会社荏原製作所
熱媒体供給装置
1か月前
株式会社荏原製作所
立形多段ポンプ
26日前
株式会社荏原製作所
蒸気発電プラント
1か月前
株式会社荏原製作所
周波数制御システム
1か月前
株式会社荏原製作所
研磨方法および研磨装置
1か月前
株式会社荏原製作所
研磨装置および研磨方法
11日前
株式会社荏原製作所
研磨方法および研磨システム
20日前
株式会社荏原製作所
シールリングおよび往復動ポンプ
26日前
株式会社荏原製作所
基板処理方法および基板処理装置
11日前
株式会社荏原製作所
基板研磨装置および膜厚算出方法
9日前
株式会社荏原製作所
超伝導モータおよびモータシステム
4日前
株式会社荏原製作所
ウェーハの洗浄方法および洗浄装置
11日前
株式会社荏原製作所
基板接合方法および基板接合システム
1か月前
株式会社荏原製作所
ドレッサ洗浄装置および基板研磨装置
1か月前
株式会社荏原製作所
永久磁石型モータおよびモータシステム
4日前
株式会社荏原製作所
永久磁石型モータおよびモータシステム
4日前
株式会社荏原製作所
永久磁石型モータおよびモータシステム
4日前
株式会社荏原製作所
処理ヘッド、基板処理装置、および基板処理方法
12日前
株式会社荏原製作所
ポンプシステムの運転方法、およびポンプシステム
2日前
株式会社荏原製作所
永久磁石型モータ、モータシステム、およびポンプシステム
4日前
株式会社荏原製作所
基板洗浄装置のキャリブレーション方法および基板洗浄方法
1か月前
オリオン機械株式会社
ヒータおよびこれを有する液体温調装置
1か月前
株式会社荏原製作所
情報処理装置、情報処理方法、情報処理プログラム、及び、記録媒体
24日前
株式会社荏原製作所
ワークピースの膜厚推定に使用される参照スペクトルライブラリの作成方法
9日前
株式会社荏原製作所
めっき装置、およびめっき方法
17日前
株式会社荏原製作所
情報処理装置、基板研磨装置、推論装置、機械学習装置、情報処理方法、推論方法、及び、機械学習方法
1か月前
住友化学株式会社
メタノールの製造方法
1か月前
個人
海流製造装置。
2か月前
株式会社スギノマシン
圧縮機
1か月前
株式会社ツインバード
送風装置
1か月前
株式会社ツインバード
送風装置
1か月前
日機装株式会社
遠心ポンプ
1か月前
続きを見る
他の特許を見る