TOP
|
特許
|
意匠
|
商標
特許ウォッチ
Twitter
他の特許を見る
10個以上の画像は省略されています。
公開番号
2025178964
公報種別
公開特許公報(A)
公開日
2025-12-09
出願番号
2024085863
出願日
2024-05-27
発明の名称
送風装置
出願人
三菱電機株式会社
代理人
個人
主分類
F04D
29/52 20060101AFI20251202BHJP(液体用容積形機械;液体または圧縮性流体用ポンプ)
要約
【課題】風路が形成された風路部材を簡素化してネジ等の接合部材の使用を減らすことができる送風装置を得ること。
【解決手段】送風装置は、吹出口と吸込口とが形成された本体外箱と、本体外箱に収納され、吸込口から吹出口へ向かう気流を発生させるファンユニット2と、を備えている。ファンユニット2は、気流を発生させるファン3と、ファン3を駆動する電動機4と、発泡材料で形成され、吸込口から吹出口へ向かう気流の風路60が形成された風路部材6と、を有している。
【選択図】図4
特許請求の範囲
【請求項1】
吹出口と吸込口とが形成された本体外箱と、
前記本体外箱に収納され、前記吸込口から前記吹出口へ向かう気流を発生させるファンユニットと、を備え、
前記ファンユニットは、
気流を発生させるファンと、
前記ファンを駆動する電動機と、
発泡材料で形成され、前記吸込口から前記吹出口へ向かう気流の風路が形成された風路部材と、を有している、
ことを特徴とする送風装置。
続きを表示(約 1,200 文字)
【請求項2】
前記本体外箱の内部において固定された保持部材を更に有し、
前記風路部材には、前記保持部材に向かって突き出す突起部が設けられ、
前記保持部材には、前記突起部が嵌め込まれる嵌合孔が形成されており、
前記風路部材は、前記突起部が前記嵌合孔に嵌め込まれることで位置決めされる、
ことを特徴とする請求項1に記載の送風装置。
【請求項3】
前記突起部は、前記風路の開口縁に沿って筒状に形成されている、
ことを特徴とする請求項2に記載の送風装置。
【請求項4】
前記風路部材には、前記本体外箱に向かって突き出す突起部が設けられ、
前記本体外箱には、前記突起部が嵌め込まれる嵌合孔が形成されており、
前記風路部材は、前記突起部が前記嵌合孔に嵌め込まれることで位置決めされる、
ことを特徴とする請求項1に記載の送風装置。
【請求項5】
前記ファンユニットは、前記保持部材に前記風路部材を固定させる固定部材を更に有しており、
前記風路部材には、前記固定部材を配置する受け部が形成され、
前記固定部材は、前記受け部に配置され、前記保持部材に接合部材で接合される、
ことを特徴とする請求項2又は3に記載の送風装置。
【請求項6】
前記保持部材は、該保持部材の一部を切り起こして形成され、前記風路部材を固定させる固定部材を有しており、
前記風路部材には、前記固定部材を配置する受け部が形成されている、
ことを特徴とする請求項2又は3に記載の送風装置。
【請求項7】
前記ファンユニットは、前記本体外箱に前記風路部材を固定させる固定部材を更に有しており、
前記風路部材には、前記固定部材を配置する受け部が形成され、
前記固定部材は、前記受け部に配置され、前記本体外箱に接合部材で接合される、
ことを特徴とする請求項2から4のいずれか一項に記載の送風装置。
【請求項8】
前記固定部材は、対向する一対の側面部と、一対の前記側面部の一端部を繋ぐ連結面部と、を有するU字状とされ、前記風路部材に圧入されて取り付けられる、
ことを特徴とする請求項5に記載の送風装置。
【請求項9】
前記固定部材は、一方の前記側面部が他方の前記側面部に向かって傾斜させた構成とされている、
ことを特徴とする請求項8に記載の送風装置。
【請求項10】
前記固定部材は、一方の前記側面部の先端部が、他方の前記側面部から離れる方向に向かって屈曲した構成とされている、
ことを特徴とする請求項8に記載の送風装置。
(【請求項11】以降は省略されています)
発明の詳細な説明
【技術分野】
【0001】
本開示は、送風装置に関する。
続きを表示(約 3,000 文字)
【背景技術】
【0002】
従来、吹出口と吸込口とが形成された本体外箱と、本体外箱に収納され、吸込口から吹出口へ向かう気流を発生させるファンユニットと、を備えた送風装置が知られている。例えば特許文献1に開示された送風機では、2組のファン及び電動機と、これに対応するオリフィス部材及びエアーガイド部材と、で1つのファンユニットが構成されている。オリフィス部材及びエアーガイド部材は、ファンユニットを収納する外箱の吸込口から吹出口に至る風路を形成する。オリフィス部材は、2組のファン及び電動機を保持した状態で、エアーガイド部材の内部に収納される。また、外箱の内部には、風路方向と直交する左右方向に沿って複数のファンユニットが並列させて収納されている。隣り合うファンユニットのオリフィス部材には、互いに対向する端部に2片に分割された形状の分割ネジ穴片が形成されている。隣り合うファンユニットのオリフィス部材は、分割ネジ穴片を互いに突合せて円筒状のネジ穴を形成し、該ネジ穴に通したネジを外箱に形成されたネジ穴にねじ込み共締めすることで外箱に固定される。
【先行技術文献】
【特許文献】
【0003】
特開2013-174250号公報
【発明の概要】
【発明が解決しようとする課題】
【0004】
特許文献1に開示された技術では、オリフィス部材及びエアーガイド部材が合成樹脂又は鋼板で形成される。オリフィス部材とエアーガイド部材とを組み合わせたり、外箱の内部にオリフィス部材とエアーガイド部材とを収納して固定させたりするためには、ネジ等の接合部材が多く使用される。そのため、オリフィス部材、エアーガイド部材及び外箱を接合するためのネジ孔の加工が必要となり、製造コストがかかるおそれがある。また、ネジ等の接合部材を多く使用することで、組み立て作業における作業工程も多くなるおそれがある。
【0005】
本開示は、上記に鑑みてなされたものであって、風路が形成された風路部材を簡素化してネジ等の接合部材の使用を減らすことができる送風装置を得ることを目的とする。
【課題を解決するための手段】
【0006】
上述した課題を解決し、目的を達成するために、本開示にかかる送風装置は、吹出口と吸込口とが形成された本体外箱と、本体外箱に収納され、吸込口から吹出口へ向かう気流を発生させるファンユニットと、を備えている。ファンユニットは、気流を発生させるファンと、ファンを駆動する電動機と、発泡材料で形成され、吸込口から吹出口へ向かう気流の風路が形成された風路部材と、を有している。
【発明の効果】
【0007】
本開示にかかる送風装置によれば、風路が形成された風路部材を簡素化してネジ等の接合部材の使用を減らすことができる、という効果を奏する。
【図面の簡単な説明】
【0008】
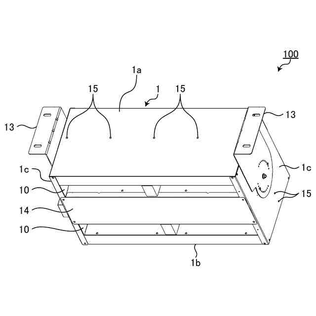
実施の形態1にかかる送風装置を吹出口側から示す斜視図
実施の形態1にかかる送風装置を吸込口側から示す斜視図
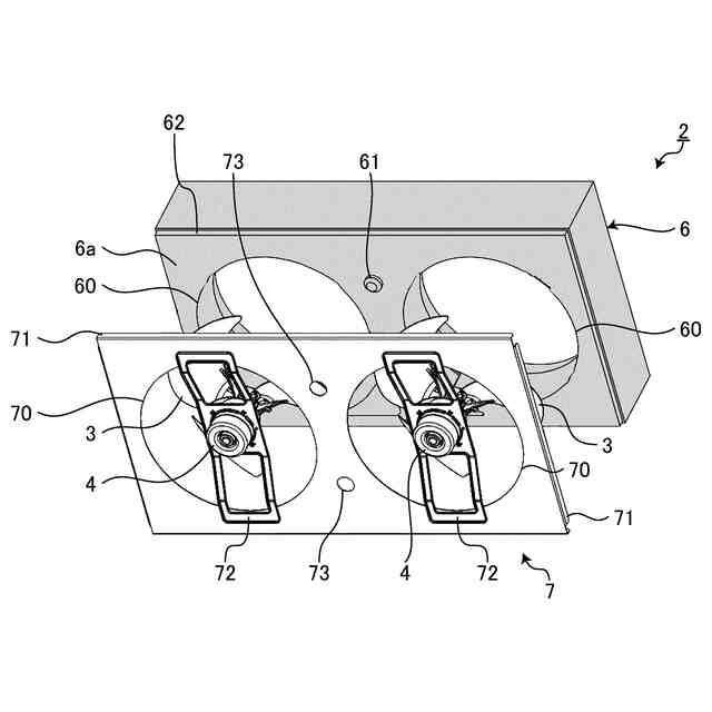
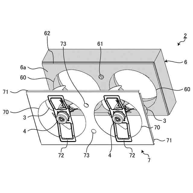
実施の形態1にかかる送風装置が有するファンユニットを示す斜視図
実施の形態1にかかる送風装置が有するファンユニットを分解して示す斜視図
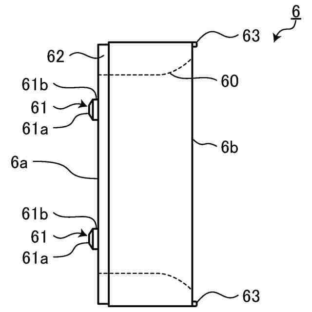
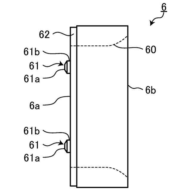
実施の形態1にかかる送風装置が有するファンユニットの風路部材を示す側面図
実施の形態1にかかる送風装置の変形例1であって、ファンユニットの風路部材を示す側面図
実施の形態1にかかる送風装置の変形例2であって、ファンユニットの風路部材を示す側面図
実施の形態1にかかる送風装置の変形例2であって、ファンユニットを本体外箱に設置した状態を示す説明図
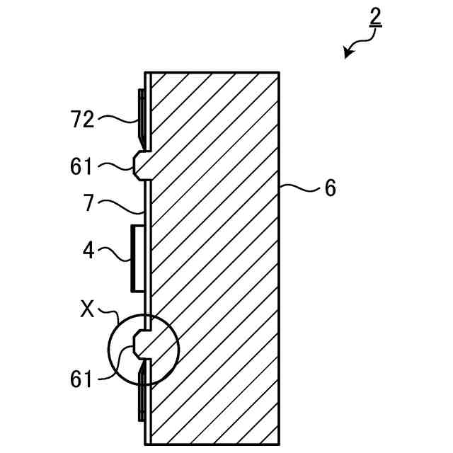
実施の形態1にかかる送風装置の変形例3であって、ファンユニットを示す縦断面図
図9に示したX部の拡大図
実施の形態1にかかる送風装置の変形例4であって、風路部材に本体外箱の上面板を取り付ける様子を示した斜視図
実施の形態1にかかる送風装置の変形例5であって、ファンユニットを示す斜視図
実施の形態1にかかる送風装置の変形例5であって、本体外箱及びファンユニットを示す断面図
実施の形態2にかかる送風装置が有するファンユニットを示す斜視図
実施の形態2にかかる送風装置が有するファンユニットを示す断面図
実施の形態3にかかる送風装置が有するファンユニットを示す斜視図
実施の形態3にかかる送風装置が有するファンユニットを分解して示す斜視図
実施の形態3にかかる送風装置が有するファンユニットの固定部材を示す斜視図
実施の形態3にかかる送風装置が有するファンユニットの受け部を示す拡大図
実施の形態3にかかる送風装置が有するファンユニットの受け部に固定部材を嵌め込んだ状態を示す拡大図
実施の形態3にかかる送風装置の変形例1であって、固定部材を示す斜視図
実施の形態3にかかる送風装置の変形例1であって、固定部材を示す側面図
実施の形態3にかかる送風装置の変形例2であって、固定部材を示す斜視図
実施の形態3にかかる送風装置の変形例2であって、固定部材を示す側面図
実施の形態3にかかる送風装置の変形例3であって、固定部材を示す斜視図
実施の形態3にかかる送風装置の変形例3であって、固定部材を示す側面図
実施の形態3にかかる送風装置の変形例3の固定部材に対応する受け部を示す拡大図
実施の形態3にかかる送風装置の変形例4であって、固定部材を示す斜視図
実施の形態3にかかる送風装置の変形例4であって、固定部材を示す側面図
実施の形態3にかかる送風装置の変形例4であって、ファンユニットを分解して示す斜視図
実施の形態3にかかる送風装置の変形例5であって、保持部材を空気の吹出口側から示す斜視図
実施の形態3にかかる送風装置の変形例5であって、保持部材を空気の吸込口側から示す斜視図
実施の形態3にかかる送風装置の変形例6であって、保持部材の要部を示す拡大図
実施の形態3にかかる送風装置の変形例7であって、風路部材を空気の吸込口側から示す斜視図
実施の形態3にかかる送風装置の変形例7であって、固定部材で風路部材を本体外箱に取り付ける様子を示した斜視図
実施の形態3にかかる送風装置の変形例8であって、風路部材を空気の吸込口側から示す斜視図
実施の形態3にかかる送風装置の変形例8であって、固定部材で風路部材を本体外箱に取り付ける様子を示した斜視図
【発明を実施するための形態】
【0009】
以下、本開示の実施の形態にかかる送風装置を図面に基づいて詳細に説明する。
【0010】
実施の形態1.
図1は、実施の形態1にかかる送風装置を吹出口側から示す斜視図である。図2は、実施の形態1にかかる送風装置を吸込口側から示す斜視図である。図1及び図2に示すように、実施の形態1にかかる送風装置100は、本体外箱1と、本体外箱1の内部に収納されたファンユニット2と、を備えている。
(【0011】以降は省略されています)
この特許をJ-PlatPat(特許庁公式サイト)で参照する
関連特許
個人
海流製造装置。
2か月前
株式会社スギノマシン
圧縮機
2か月前
株式会社ツインバード
送風装置
2か月前
株式会社ツインバード
送風装置
2か月前
日機装株式会社
遠心ポンプ
1か月前
三菱電機株式会社
送風装置
今日
カヤバ株式会社
電動ポンプ
1か月前
ビッグボーン株式会社
送風装置
3か月前
株式会社不二越
電動油圧ポンプ
4日前
株式会社不二越
電動油圧ポンプ
4日前
株式会社ノーリツ
ロータリ圧縮機
3か月前
サンデン株式会社
スクロール圧縮機
2か月前
サンデン株式会社
スクロール圧縮機
2か月前
サンデン株式会社
スクロール圧縮機
2か月前
樫山工業株式会社
真空ポンプ
2か月前
サンデン株式会社
可変容量型圧縮機
1か月前
株式会社クボタ
作業機
1か月前
株式会社アイシン
ポンプケース
2か月前
株式会社島津製作所
真空ポンプ
3か月前
株式会社ニクニ
縦型スクリューポンプ
5日前
エドワーズ株式会社
真空ポンプ
2か月前
株式会社島津製作所
真空ポンプ
2か月前
株式会社チロル
送風機、送風機付衣服
3か月前
株式会社豊田自動織機
流体機械
3か月前
株式会社豊田自動織機
電動圧縮機
3か月前
株式会社豊田自動織機
電動圧縮機
3か月前
株式会社豊田自動織機
電動圧縮機
3か月前
サンデン株式会社
ヘリカルコンプレッサ
6日前
サンデン株式会社
ヘリカルコンプレッサ
6日前
サンデン株式会社
ヘリカルコンプレッサ
6日前
株式会社豊田自動織機
電動圧縮機
3か月前
株式会社ナノバブル研究所
気液駆動装置
2か月前
NTN株式会社
電動オイルポンプ
2か月前
株式会社豊田自動織機
電動圧縮機
3か月前
リンナイ株式会社
遠心ファン
3か月前
已久工業股ふん有限公司
エアコンプレッサ
2か月前
続きを見る
他の特許を見る