TOP
|
特許
|
意匠
|
商標
特許ウォッチ
Twitter
他の特許を見る
10個以上の画像は省略されています。
公開番号
2025169127
公報種別
公開特許公報(A)
公開日
2025-11-12
出願番号
2024128712
出願日
2024-08-05
発明の名称
永久磁石型モータおよびモータシステム
出願人
株式会社荏原製作所
代理人
個人
,
個人
,
個人
主分類
H02K
21/16 20060101AFI20251105BHJP(電力の発電,変換,配電)
要約
【課題】高速回転および小型化が可能な電気モータを提供する。
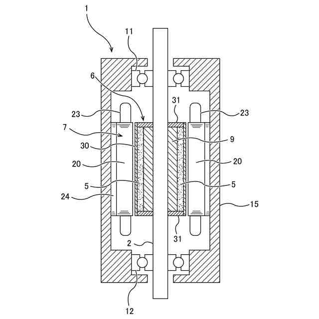
【解決手段】永久磁石型モータ1は、複数の永久磁石5を有するモータロータ6と、モータロータ6に隣接するモータステータ7を備える。複数の永久磁石5のそれぞれは、d軸およびq軸に対して傾いた複数の磁化容易軸を有し、複数の磁化容易軸は、d軸に近い第1磁化容易軸M1と、q軸に近い第2磁化容易軸M2を含み、第2磁化容易軸M2のq軸に対する角度は、第1磁化容易軸M1のd軸に対する角度よりも大きい。モータステータ7は、アモルファスから構成された歯20と、歯20に巻き付けられた巻線23を有する。
【選択図】図1
特許請求の範囲
【請求項1】
永久磁石型モータであって、
複数の永久磁石を有するモータロータと、
前記モータロータに隣接するモータステータを備え、
前記複数の永久磁石のそれぞれは、d軸およびq軸に対して傾いた複数の磁化容易軸を有し、
前記複数の磁化容易軸は、d軸に近い第1磁化容易軸と、q軸に近い第2磁化容易軸を含み、前記第2磁化容易軸のq軸に対する角度は、前記第1磁化容易軸のd軸に対する角度よりも大きく、
前記モータステータは、積層された複数のアモルファス板により構成された歯と、前記歯に巻き付けられた巻線を有する、永久磁石型モータ。
続きを表示(約 730 文字)
【請求項2】
前記複数の永久磁石のそれぞれは、450kA/m以上の保磁力を有し、0.7T以上の残留磁束密度を有し、13MGOe以上のエネルギー積を有する、請求項1に記載の永久磁石型モータ。
【請求項3】
前記巻線は、複数の素線の束と、前記複数の素線の束を覆う外被膜を有し、
前記複数の素線のそれぞれは、導線と、前記導線を覆う内被膜を有し、
前記複数の素線のそれぞれは、0.71mm以下の円直径に相当する断面積を有する、請求項1に記載の永久磁石型モータ。
【請求項4】
前記内被膜の厚さは、5μm以下である、請求項3に記載の永久磁石型モータ。
【請求項5】
前記複数のアモルファス板のそれぞれの厚さは、0.3mm未満である、請求項1に記載の永久磁石型モータ。
【請求項6】
前記モータステータは、前記歯の外側に位置する円環コアを有し、前記円環コアは電磁鋼板から構成されている、請求項1に記載の永久磁石型モータ。
【請求項7】
前記モータロータは、前記複数の永久磁石を囲む外筒を有しており、
前記外筒の外周面には、前記外筒の軸方向に延びる溝、前記外筒の周方向に延びる溝、および前記外筒の周方向に対して斜めに延びる溝のうちの少なくとも1つが形成されている、請求項1に記載の永久磁石型モータ。
【請求項8】
請求項1乃至7のいずれか一項に記載の永久磁石型モータと、
前記永久磁石型モータに可変周波数の電力を供給する複数のインバータと、
前記複数のインバータに電圧をそれぞれ印加する複数の直流電源を備えている、モータシステム。
発明の詳細な説明
【技術分野】
【0001】
本発明は、モータロータに永久磁石を備えた永久磁石型モータに関し、特に高速周波数で回転することが可能な永久磁石型モータ、およびその永久磁石型モータを駆動するドライバーまたはインバータに関する。
続きを表示(約 1,400 文字)
【背景技術】
【0002】
家庭用の家電機器から玩具、モビリティの電装機器や駆動機器など、モータはあらゆる分野に利用されている。近年ではCO
2
対策などの背景を受け、装置の電動化が推し進められている。例えば、CO
2
対策として有力視される航空宇宙機器や陸上モビリティでは、大出力モータの小型高効率化の要請がある。
【先行技術文献】
【特許文献】
【0003】
特開2019-120399号公報
【発明の概要】
【発明が解決しようとする課題】
【0004】
特に、永久磁石型モータの技術は、ネオジウム磁石などの登場と、そのBH積(エネルギー積)の向上開発、微細化や無酸素加工、ハルバッハ配列、低振動配向などにより進化しており、永久磁石型モータの小型化や高効率化が促進されてきた。本特許明細書では、小型化技術は高効率化技術に実質的に等しいものとして説明をする。2倍の小型化は、√2倍の小型化と、√2倍の高効率化の両方が達成されて初めて、その熱収支を成立させるからである。
【0005】
小型化技術として、モータ自体の小型化ではなく、モータシステムとしての小型化を達成しようとするアプローチがある。すなわち、モータ自体をそのままの大きさとし、遊星歯車やはすば歯車などを用いた機械的ギア、磁気的ギア、電気的ギアなどの変速機構を用いて回転速度の変化による高効率化を達成するというものである。
【0006】
これは、例えば、電動モビリティなどの駆動輪へ力を伝えるとき、モータを低トルク高回転として、ギアに減速と大トルク化の役割を担わせることで、モータへの電流を小さくし、銅損を低減させる。この場合は、モータには強力な磁石を使わずに、低鉄損とするべく磁力が焼結磁石と比べ弱いボンド磁石を利用することや、鉄損の非常に少ないコアレスモータを利用することもある。場合によっては、モータを6極以下に設計することもある。
【0007】
逆に、ギアに増速と低トルク化の役割を担わせ、モータを低速の大トルクで回転させることで、鉄損を低減させるものもある。この場合は、少なくとも6極以上の多極モータを採用してモータ周波数を向上させ、コイルのコアからの飛び出し寸法を少なくすることで、モータの小型化および軽量化を実現することが良く見られる。
【0008】
どちらの場合も、熱収支のための銅損と鉄損などの計算や、モータドライバの高周波数対応能力に応じて、最適な計算結果を探求している。
【0009】
本発明は、高速回転および小型化が可能な電気モータおよびその関連技術を提供する。
【課題を解決するための手段】
【0010】
一態様では、永久磁石型モータであって、複数の永久磁石を有するモータロータと、前記モータロータに隣接するモータステータを備え、前記複数の永久磁石のそれぞれは、d軸およびq軸に対して傾いた複数の磁化容易軸を有し、前記複数の磁化容易軸は、d軸に近い第1磁化容易軸と、q軸に近い第2磁化容易軸を含み、前記第2磁化容易軸のq軸に対する角度は、前記第1磁化容易軸のd軸に対する角度よりも大きく、前記モータステータは、積層された複数のアモルファス板により構成された歯と、前記歯に巻き付けられた巻線を有する、永久磁石型モータが提供される。
(【0011】以降は省略されています)
この特許をJ-PlatPat(特許庁公式サイト)で参照する
関連特許
株式会社荏原製作所
研磨装置
1か月前
株式会社荏原製作所
往復動ポンプ
1か月前
株式会社荏原製作所
研磨装置および研磨方法
1か月前
株式会社荏原製作所
振動検知器及び振動検知システム
13日前
株式会社荏原製作所
基板処理方法および基板処理装置
1か月前
株式会社荏原製作所
圧縮式冷凍機および冷凍システム
20日前
株式会社荏原製作所
基板研磨装置および膜厚算出方法
20日前
株式会社荏原製作所
基板研磨装置および膜厚算出方法
1か月前
株式会社荏原製作所
ウェーハの洗浄方法および洗浄装置
1か月前
株式会社荏原製作所
超伝導モータおよびモータシステム
28日前
株式会社荏原製作所
永久磁石型モータおよびモータシステム
28日前
株式会社荏原製作所
永久磁石型モータおよびモータシステム
28日前
株式会社荏原製作所
永久磁石型モータおよびモータシステム
28日前
株式会社荏原製作所
ポンプシステム及びポンプシステムの制御方法
12日前
株式会社荏原製作所
処理ヘッド、基板処理装置、および基板処理方法
1か月前
株式会社荏原製作所
ポンプシステムの運転方法、およびポンプシステム
26日前
株式会社荏原製作所
パッド表面判定方法およびパッド表面判定システム
20日前
株式会社荏原製作所
永久磁石型モータ、モータシステム、およびポンプシステム
28日前
株式会社荏原製作所
情報処理装置、情報処理方法、情報処理プログラム、及び、記録媒体
13日前
株式会社荏原製作所
基板洗浄方法、基板洗浄装置、基板洗浄プログラムおよび基板処理装置
20日前
株式会社荏原製作所
ワークピースの膜厚推定に使用される参照スペクトルライブラリの作成方法
1か月前
株式会社荏原製作所
液受け装置、および研磨装置
20日前
株式会社荏原製作所
排水機場の主ポンプ装置の残運転時間表示装置及び主ポンプ装置の駆動システム
12日前
株式会社荏原製作所
めっき装置、およびめっき方法
1か月前
個人
電気を重力で発電装置
1か月前
個人
高圧電気機器の開閉器
21日前
キヤノン電子株式会社
モータ
1か月前
株式会社東光高岳
充電器
1日前
東洋アルミニウム株式会社
発電体
今日
トヨタ自動車株式会社
モータ
1か月前
株式会社アイドゥス企画
減反モータ
21日前
株式会社デンソー
端子台
14日前
株式会社デンソー
回転電機
5日前
株式会社ダイヘン
充電装置
今日
株式会社ダイヘン
送配電装置
5日前
本田技研工業株式会社
回転電機
7日前
続きを見る
他の特許を見る