TOP
|
特許
|
意匠
|
商標
特許ウォッチ
Twitter
他の特許を見る
10個以上の画像は省略されています。
公開番号
2025165535
公報種別
公開特許公報(A)
公開日
2025-11-05
出願番号
2024069639
出願日
2024-04-23
発明の名称
研磨装置および研磨方法
出願人
株式会社荏原製作所
代理人
個人
,
個人
,
個人
主分類
B24B
21/00 20060101AFI20251028BHJP(研削;研磨)
要約
【課題】複数の研磨ヘッドを備えた研磨装置において、研磨ヘッドの数に対する研磨ヘッドの付随機構の数を削減することができる研磨装置を提供する。
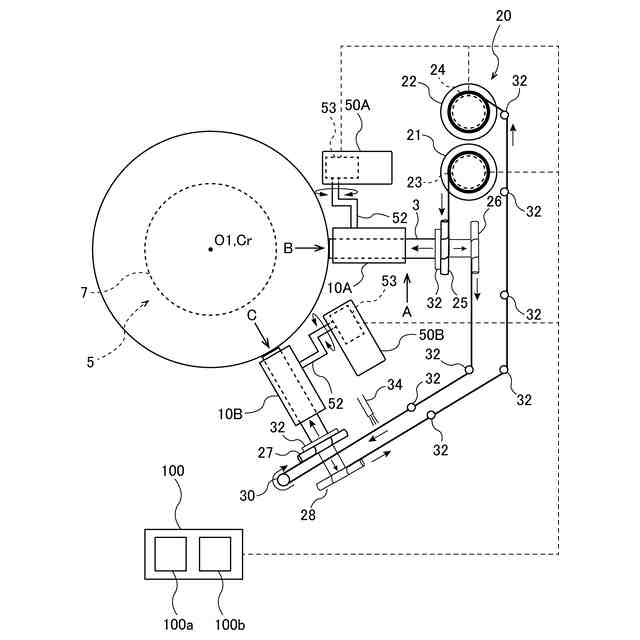
【解決手段】研磨装置は、基板Wを保持し、回転させる基板保持部5と、研磨テープ3を基板Wの周縁部に押し付ける第1研磨ヘッド10Aと、研磨テープ3の進行方向において、第1研磨ヘッド10Aの下流側に配置され、研磨テープ3を基板Wの周縁部に押し付ける第2研磨ヘッド10Bと、研磨テープ3をその長手方向に送り、研磨テープ3を第1研磨ヘッド10Aおよび第2研磨ヘッド10Bの両方に供給する研磨テープ供給機構20を備える。研磨テープ供給機構20は、研磨テープ3の進行方向において、第1研磨ヘッド10Aの上流側に配置されたテープ巻き出しリール21と、研磨テープ3の進行方向において、第2研磨ヘッド10Bの下流側に配置されたテープ巻き取りリール22を備えている。
【選択図】図2
特許請求の範囲
【請求項1】
基板の周縁部を研磨する研磨装置であって、
前記基板を保持し、回転させる基板保持部と、
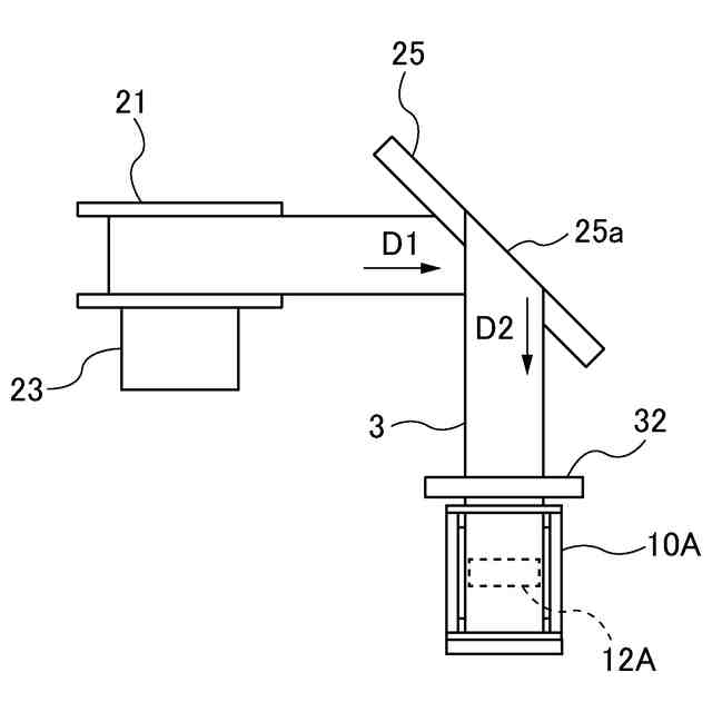
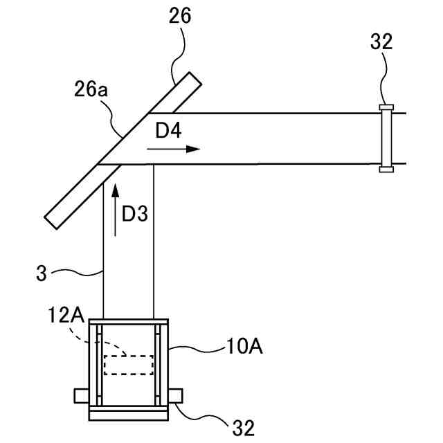
研磨テープを前記基板の前記周縁部に押し付ける第1研磨ヘッドと、
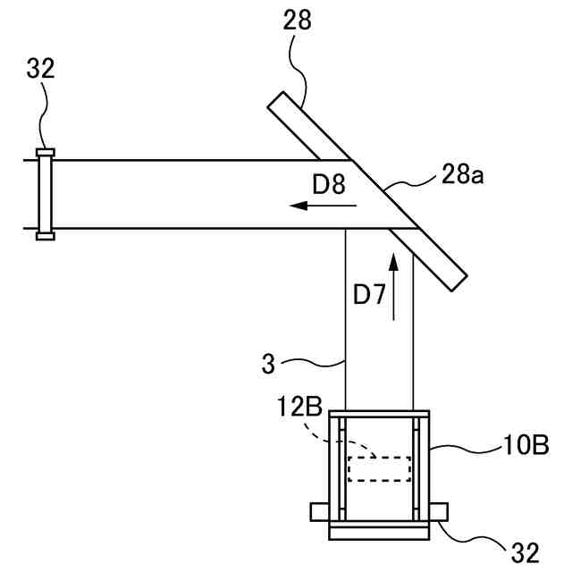
前記研磨テープの進行方向において、前記第1研磨ヘッドの下流側に配置され、前記研磨テープを前記基板の前記周縁部に押し付ける第2研磨ヘッドと、
前記研磨テープをその長手方向に送り、前記研磨テープを前記第1研磨ヘッドおよび前記第2研磨ヘッドの両方に供給する研磨テープ供給機構を備え、
前記研磨テープ供給機構は、
前記研磨テープの進行方向において、前記第1研磨ヘッドの上流側に配置されたテープ巻き出しリールと、
前記研磨テープの進行方向において、前記第2研磨ヘッドの下流側に配置されたテープ巻き取りリールを備えている、研磨装置。
続きを表示(約 2,000 文字)
【請求項2】
前記研磨テープの進行方向において、前記第1研磨ヘッドの下流側であって、かつ前記第2研磨ヘッドの上流側に配置され、前記研磨テープを流体で洗浄するテープ洗浄ノズルをさらに備えている、請求項1に記載の研磨装置。
【請求項3】
前記研磨テープ供給機構は、前記研磨テープの長手方向に対して斜めに配置されたテープ折り曲げ部材を有し、
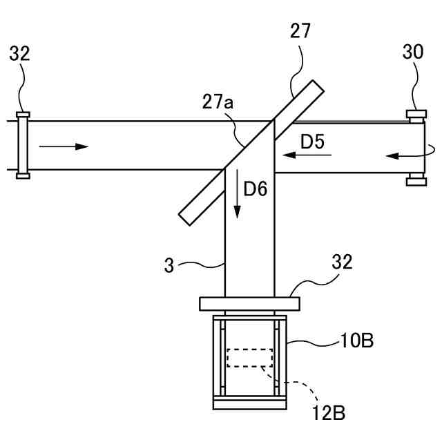
前記テープ折り曲げ部材は、前記研磨テープの進行方向において、前記第1研磨ヘッドと前記第2研磨ヘッドとの間に配置されている、請求項1に記載の研磨装置。
【請求項4】
前記第1研磨ヘッドおよび前記第2研磨ヘッドの動作を制御する動作制御部をさらに備え、
前記動作制御部は、前記研磨テープが所定の長さだけ送られる間、前記第1研磨ヘッドおよび前記第2研磨ヘッドに前記研磨テープを前記基板の前記周縁部に押し付けさせ、その後、前記研磨テープの使用済み部分が前記研磨テープの進行方向において前記第2研磨ヘッドの下流側に送られるまで、前記第1研磨ヘッドおよび前記第2研磨ヘッドによる前記研磨テープの前記基板に対する押し付けを停止させるように構成されている、請求項1に記載の研磨装置。
【請求項5】
前記所定の長さは、前記第1研磨ヘッドから前記第2研磨ヘッドまでの前記研磨テープの長さ以下である、請求項4に記載の研磨装置。
【請求項6】
前記第1研磨ヘッドおよび前記第2研磨ヘッドは、前記研磨テープの幅方向において異なる2つのエリアを前記基板の前記周縁部にそれぞれ押し付けるように構成されている、請求項1に記載の研磨装置。
【請求項7】
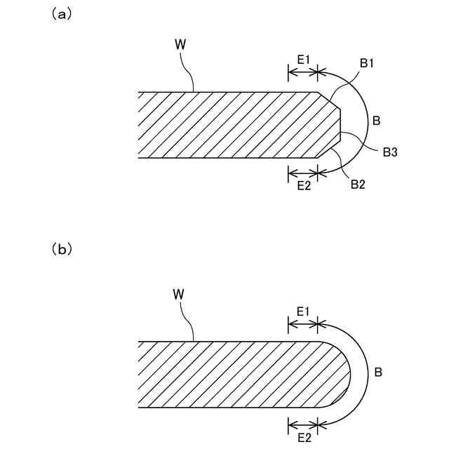
前記基板の前記周縁部は、前記基板の厚さ方向において異なる第1の領域と第2の領域を含み、
前記第1研磨ヘッドの押圧部材は、前記第1の領域の研磨目標形状に対応する第1形状を有し、
前記第2研磨ヘッドの押圧部材は、前記第2の領域の研磨目標形状に対応する第2形状を有している、請求項1に記載の研磨装置。
【請求項8】
前記研磨テープの進行方向において、前記第2研磨ヘッドの下流側に配置され、前記研磨テープを前記基板の前記周縁部に押し付ける第3研磨ヘッドをさらに備え、
前記研磨テープ供給機構は、前記研磨テープを前記第1研磨ヘッド、前記第2研磨ヘッド、および前記第3研磨ヘッドに供給するように構成されており、
前記巻き取りリールは、前記研磨テープの進行方向において、前記第3研磨ヘッドの下流側に配置されており、
前記基板の前記周縁部は、前記基板の厚さ方向において、前記第1の領域および前記第2の領域とは異なる第3の領域をさらに含み、
前記第3研磨ヘッドの押圧部材は、前記第3の領域の研磨目標形状に対応する第3形状を有し、
前記第1の領域、前記第2の領域、および前記第3の領域のうちの1つは、前記基板のトップエッジ部を含み、
前記第1の領域、前記第2の領域、および前記第3の領域のうちの他の1つは、前記基板のベベル部を含み、
前記第1の領域、前記第2の領域、および前記第3の領域のうちの残りの1つは、前記基板のボトムエッジ部を含む、請求項7に記載の研磨装置。
【請求項9】
基板の周縁部を研磨する研磨装置であって、
前記基板を保持し、回転させる基板保持部と、
第1研磨テープを前記基板の前記周縁部に押し付ける第1研磨ヘッドと、
第2研磨テープを前記基板の前記周縁部に押し付ける第2研磨ヘッドを備え、
前記基板の前記周縁部は、前記基板の厚さ方向において異なる第1の領域と第2の領域を含み、
前記第1研磨ヘッドの押圧部材は、前記第1の領域の研磨目標形状に対応する第1形状を有し、
前記第2研磨ヘッドの押圧部材は、前記第2の領域の研磨目標形状に対応する第2形状を有している、研磨装置。
【請求項10】
第3研磨テープを前記基板の前記周縁部に押し付ける第3研磨ヘッドをさらに備え、
前記基板の前記周縁部は、前記基板の厚さ方向において、前記第1の領域および前記第2の領域とは異なる第3の領域をさらに含み、
前記第3研磨ヘッドの押圧部材は、前記第3の領域の研磨目標形状に対応する第3形状を有し、
前記第1の領域、前記第2の領域、および前記第3の領域のうちの1つは、前記基板のトップエッジ部を含み、
前記第1の領域、前記第2の領域、および前記第3の領域のうちの他の1つは、前記基板のベベル部を含み、
前記第1の領域、前記第2の領域、および前記第3の領域のうちの残りの1つは、前記基板のボトムエッジ部を含む、請求項9に記載の研磨装置。
(【請求項11】以降は省略されています)
発明の詳細な説明
【技術分野】
【0001】
本発明は、ウェーハなどの基板の周縁部を研磨する研磨装置および研磨方法に関する。
続きを表示(約 3,100 文字)
【背景技術】
【0002】
半導体デバイスの製造における歩留まり向上の観点から、基板の表面状態の管理が近年注目されている。半導体デバイスの製造工程では、種々の材料がシリコンウェーハ上に成膜される。このため、基板の周縁部には不要な膜や表面荒れが形成される。近年では、基板の周縁部のみをアームで保持して基板を搬送する方法が一般的になってきている。このような背景のもとでは、周縁部に残存した不要な膜が種々の工程を経ていく間に剥離して基板に形成されたデバイスに付着し、歩留まりを低下させてしまう。そこで、基板の周縁部に形成された不要な膜を除去するために、研磨装置を用いて基板の周縁部の研磨が行われている。
【0003】
このような研磨装置として、研磨テープを用いて基板の周縁部を研磨する装置が知られている。研磨テープを所定の方向に送りながら、研磨ヘッドで研磨テープを回転する基板の周縁部に押し付けることにより、基板の周縁部が研磨される。従来の研磨装置としては、単一の研磨ヘッドを備えたものや、特許文献1に示すように、全体の研磨処理時間を短縮するために、複数の研磨ヘッドを備えたものが知られている。
【先行技術文献】
【特許文献】
【0004】
特許第5274993号公報
【発明の概要】
【発明が解決しようとする課題】
【0005】
複数の研磨ヘッドを備えた研磨装置では、複数の研磨ヘッドのそれぞれに対して、研磨ヘッドの付随機構が個別に設けられている。研磨ヘッドの付随機構の例としては、研磨ヘッドに研磨テープを供給し、回収するテープ供給回収機構、および研磨ヘッドを傾斜させるチルト機構が挙げられる。複数の研磨ヘッドに対して、研磨ヘッドと同じ数の付随機構が設けられる。このため、これら複数の付随機構を設置するためのスペースを要し、また複数の付随機構のそれぞれについてメンテナンスを行う必要がある。
【0006】
そこで、本発明は、複数の研磨ヘッドを備えた研磨装置において、研磨ヘッドの数に対する研磨ヘッドの付随機構の数を削減することができる研磨装置および研磨方法を提供する。
【課題を解決するための手段】
【0007】
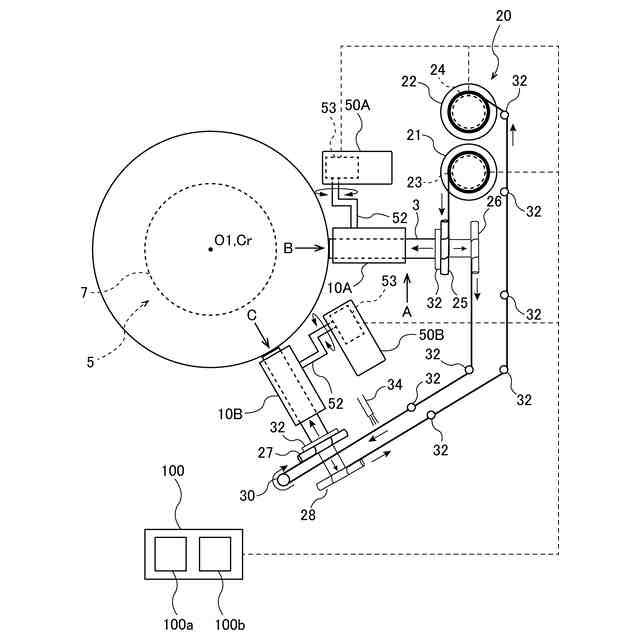
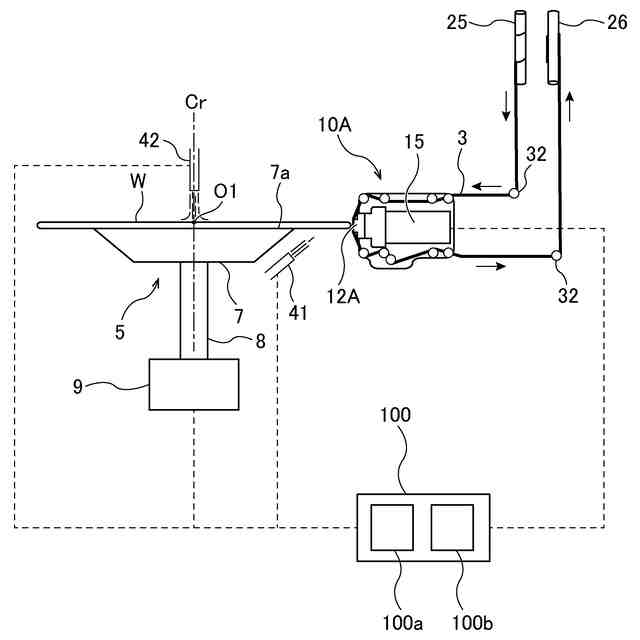
一態様では、基板の周縁部を研磨する研磨装置であって、前記基板を保持し、回転させる基板保持部と、研磨テープを前記基板の前記周縁部に押し付ける第1研磨ヘッドと、前記研磨テープの進行方向において、前記第1研磨ヘッドの下流側に配置され、前記研磨テープを前記基板の前記周縁部に押し付ける第2研磨ヘッドと、前記研磨テープをその長手方向に送り、前記研磨テープを前記第1研磨ヘッドおよび前記第2研磨ヘッドの両方に供給する研磨テープ供給機構を備え、前記研磨テープ供給機構は、前記研磨テープの進行方向において、前記第1研磨ヘッドの上流側に配置されたテープ巻き出しリールと、前記研磨テープの進行方向において、前記第2研磨ヘッドの下流側に配置されたテープ巻き取りリールを備えている、研磨装置が提供される。
一態様では、前記研磨装置は、前記研磨テープの進行方向において、前記第1研磨ヘッドの下流側であって、かつ前記第2研磨ヘッドの上流側に配置され、前記研磨テープを流体で洗浄するテープ洗浄ノズルをさらに備えている。
一態様では、前記研磨テープ供給機構は、前記研磨テープの長手方向に対して斜めに配置されたテープ折り曲げ部材を有し、前記テープ折り曲げ部材は、前記研磨テープの進行方向において、前記第1研磨ヘッドと前記第2研磨ヘッドとの間に配置されている。
【0008】
一態様では、前記研磨装置は、前記第1研磨ヘッドおよび前記第2研磨ヘッドの動作を制御する動作制御部をさらに備え、前記動作制御部は、前記研磨テープが所定の長さだけ送られる間、前記第1研磨ヘッドおよび前記第2研磨ヘッドに前記研磨テープを前記基板の前記周縁部に押し付けさせ、その後、前記研磨テープの使用済み部分が前記研磨テープの進行方向において前記第2研磨ヘッドの下流側に送られるまで、前記第1研磨ヘッドおよび前記第2研磨ヘッドによる前記研磨テープの前記基板に対する押し付けを停止させるように構成されている。
一態様では、前記所定の長さは、前記第1研磨ヘッドから前記第2研磨ヘッドまでの前記研磨テープの長さ以下である。
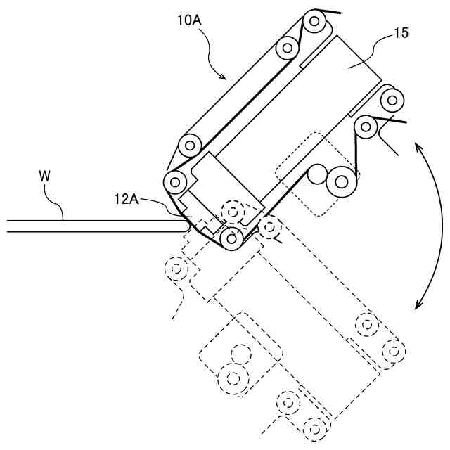
一態様では、前記第1研磨ヘッドおよび前記第2研磨ヘッドは、前記研磨テープの幅方向において異なる2つのエリアを前記基板の前記周縁部にそれぞれ押し付けるように構成されている。
一態様では、前記基板の前記周縁部は、前記基板の厚さ方向において異なる第1の領域と第2の領域を含み、前記第1研磨ヘッドの押圧部材は、前記第1の領域の研磨目標形状に対応する第1形状を有し、前記第2研磨ヘッドの押圧部材は、前記第2の領域の研磨目標形状に対応する第2形状を有している。
【0009】
一態様では、前記研磨テープの進行方向において、前記第2研磨ヘッドの下流側に配置され、前記研磨テープを前記基板の前記周縁部に押し付ける第3研磨ヘッドをさらに備え、前記研磨テープ供給機構は、前記研磨テープを前記第1研磨ヘッド、前記第2研磨ヘッド、および前記第3研磨ヘッドに供給するように構成されており、前記巻き取りリールは、前記研磨テープの進行方向において、前記第3研磨ヘッドの下流側に配置されており、前記基板の前記周縁部は、前記基板の厚さ方向において、前記第1の領域および前記第2の領域とは異なる第3の領域をさらに含み、前記第3研磨ヘッドの押圧部材は、前記第3の領域の研磨目標形状に対応する第3形状を有し、前記第1の領域、前記第2の領域、および前記第3の領域のうちの1つは、前記基板のトップエッジ部を含み、前記第1の領域、前記第2の領域、および前記第3の領域のうちの他の1つは、前記基板のベベル部を含み、前記第1の領域、前記第2の領域、および前記第3の領域のうちの残りの1つは、前記基板のボトムエッジ部を含む。
【0010】
一態様では、基板の周縁部を研磨する研磨装置であって、前記基板を保持し、回転させる基板保持部と、第1研磨テープを前記基板の前記周縁部に押し付ける第1研磨ヘッドと、第2研磨テープを前記基板の前記周縁部に押し付ける第2研磨ヘッドを備え、前記基板の前記周縁部は、前記基板の厚さ方向において異なる第1の領域と第2の領域を含み、前記第1研磨ヘッドの押圧部材は、前記第1の領域の研磨目標形状に対応する第1形状を有し、前記第2研磨ヘッドの押圧部材は、前記第2の領域の研磨目標形状に対応する第2形状を有している、研磨装置が提供される。
一態様では、前記研磨装置は、第3研磨テープを前記基板の前記周縁部に押し付ける第3研磨ヘッドをさらに備え、前記基板の前記周縁部は、前記基板の厚さ方向において、前記第1の領域および前記第2の領域とは異なる第3の領域をさらに含み、前記第3研磨ヘッドの押圧部材は、前記第3の領域の研磨目標形状に対応する第3形状を有し、前記第1の領域、前記第2の領域、および前記第3の領域のうちの1つは、前記基板のトップエッジ部を含み、前記第1の領域、前記第2の領域、および前記第3の領域のうちの他の1つは、前記基板のベベル部を含み、前記第1の領域、前記第2の領域、および前記第3の領域のうちの残りの1つは、前記基板のボトムエッジ部を含む。
(【0011】以降は省略されています)
この特許をJ-PlatPat(特許庁公式サイト)で参照する
関連特許
株式会社荏原製作所
研磨装置
26日前
株式会社荏原製作所
ポンプ装置
1か月前
株式会社荏原製作所
往復動ポンプ
1か月前
株式会社荏原製作所
立形多段ポンプ
1か月前
株式会社荏原製作所
蒸気発電プラント
1か月前
株式会社荏原製作所
周波数制御システム
1か月前
株式会社荏原製作所
研磨装置および研磨方法
26日前
株式会社荏原製作所
研磨方法および研磨装置
1か月前
株式会社荏原製作所
研磨方法および研磨システム
1か月前
株式会社荏原製作所
圧縮式冷凍機および冷凍システム
11日前
株式会社荏原製作所
基板研磨装置および膜厚算出方法
11日前
株式会社荏原製作所
基板研磨装置および膜厚算出方法
24日前
株式会社荏原製作所
シールリングおよび往復動ポンプ
1か月前
株式会社荏原製作所
基板処理方法および基板処理装置
26日前
株式会社荏原製作所
振動検知器及び振動検知システム
4日前
株式会社荏原製作所
ウェーハの洗浄方法および洗浄装置
26日前
株式会社荏原製作所
超伝導モータおよびモータシステム
19日前
株式会社荏原製作所
基板接合方法および基板接合システム
1か月前
株式会社荏原製作所
ドレッサ洗浄装置および基板研磨装置
1か月前
株式会社荏原製作所
永久磁石型モータおよびモータシステム
19日前
株式会社荏原製作所
永久磁石型モータおよびモータシステム
19日前
株式会社荏原製作所
永久磁石型モータおよびモータシステム
19日前
株式会社荏原製作所
ポンプシステム及びポンプシステムの制御方法
3日前
株式会社荏原製作所
処理ヘッド、基板処理装置、および基板処理方法
27日前
株式会社荏原製作所
ポンプシステムの運転方法、およびポンプシステム
17日前
株式会社荏原製作所
パッド表面判定方法およびパッド表面判定システム
11日前
株式会社荏原製作所
永久磁石型モータ、モータシステム、およびポンプシステム
19日前
オリオン機械株式会社
ヒータおよびこれを有する液体温調装置
1か月前
株式会社荏原製作所
情報処理装置、情報処理方法、情報処理プログラム、及び、記録媒体
1か月前
株式会社荏原製作所
情報処理装置、情報処理方法、情報処理プログラム、及び、記録媒体
4日前
株式会社荏原製作所
基板洗浄方法、基板洗浄装置、基板洗浄プログラムおよび基板処理装置
11日前
株式会社荏原製作所
ワークピースの膜厚推定に使用される参照スペクトルライブラリの作成方法
24日前
株式会社荏原製作所
液受け装置、および研磨装置
11日前
株式会社荏原製作所
めっき装置、およびめっき方法
1か月前
株式会社荏原製作所
排水機場の主ポンプ装置の残運転時間表示装置及び主ポンプ装置の駆動システム
3日前
株式会社荏原製作所
情報処理装置、基板研磨装置、推論装置、機械学習装置、情報処理方法、推論方法、及び、機械学習方法
1か月前
続きを見る
他の特許を見る