TOP
|
特許
|
意匠
|
商標
特許ウォッチ
Twitter
他の特許を見る
10個以上の画像は省略されています。
公開番号
2025159610
公報種別
公開特許公報(A)
公開日
2025-10-21
出願番号
2024062320
出願日
2024-04-08
発明の名称
シールリングおよび往復動ポンプ
出願人
株式会社荏原製作所
代理人
個人
,
個人
,
個人
主分類
F04B
53/14 20060101AFI20251014BHJP(液体用容積形機械;液体または圧縮性流体用ポンプ)
要約
【課題】ピストンに保持されたシールの回転を防止して、シールの合口隙間を通じた流体の漏洩を防止することができる技術を提供する。
【解決手段】シールリング22は、第1合口隙間35を有する第1シールリング31と、第2合口隙間36を有する第2シールリング32を備え、第1シールリング31および第2シールリング32は互いに接触しており、第1シールリング31および第2シールリング32は、厚さの異なる部分を有し、第1シールリング31の最も薄い部分41は、第2シールリング32の最も厚い部分46に接触し、第1シールリング31の最も厚い部分42は、第2シールリング32の最も薄い部分45に接触し、第1合口隙間35および第2合口隙間36は、第1シールリング31および第2シールリング32の周方向において異なる位置にある。
【選択図】図7
特許請求の範囲
【請求項1】
流体を移送するための往復動ポンプのピストンのシール溝内に配置されるシールリングであって、
第1合口隙間を有する第1シールリングと、
第2合口隙間を有する第2シールリングを備え、
前記第1シールリングおよび前記第2シールリングは互いに接触しており、
前記第1シールリングは、厚さの異なる部分を有し、
前記第2シールリングは、厚さの異なる部分を有し、
前記第1シールリングの最も薄い部分は、前記第2シールリングの最も厚い部分に接触し、
前記第1シールリングの最も厚い部分は、前記第2シールリングの最も薄い部分に接触し、
前記第1合口隙間および前記第2合口隙間は、前記第1シールリングおよび前記第2シールリングの周方向において異なる位置にある、シールリング。
続きを表示(約 740 文字)
【請求項2】
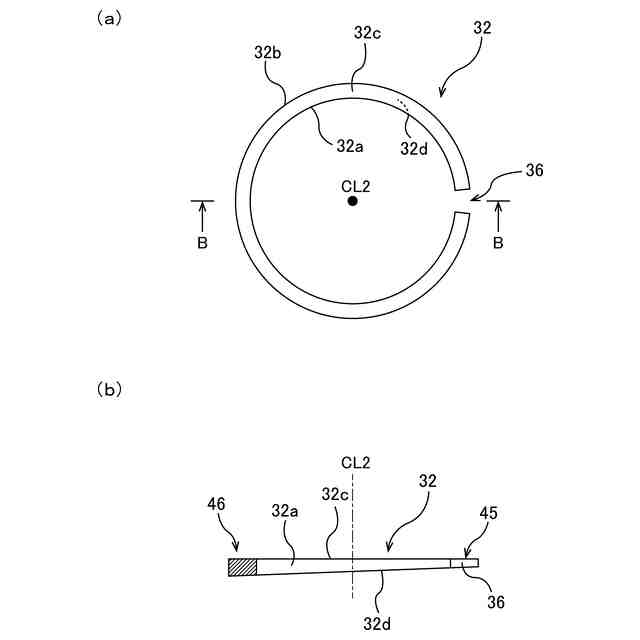
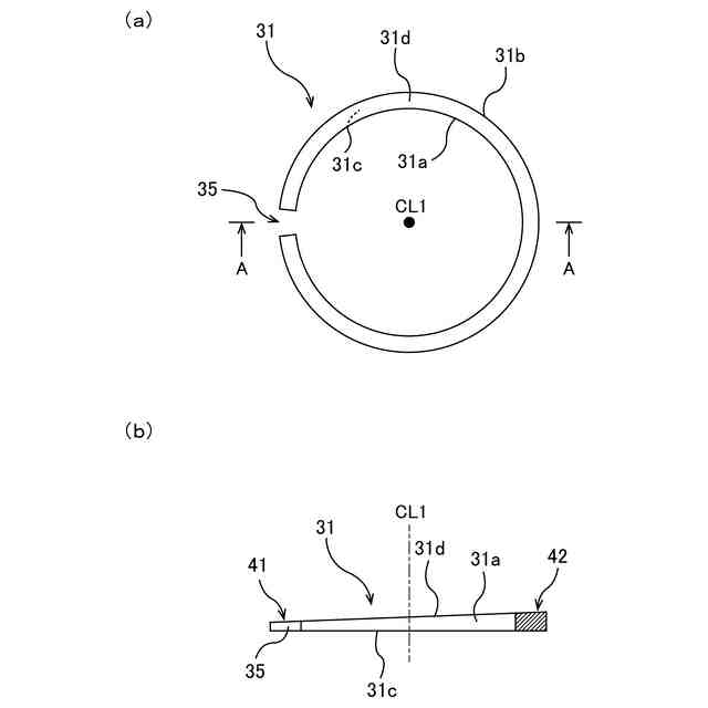
前記第1合口隙間は、前記第1シールリングの前記最も薄い部分に位置しており、
前記第2合口隙間は、前記第2シールリングの前記最も薄い部分に位置している、請求項1に記載のシールリング。
【請求項3】
前記第1シールリングは、第1内周面と、第1外周面と、前記第1内周面から前記第1外周面まで延びる第1端面および第1傾斜端面を有し、
前記第2シールリングは、第2内周面と、第2外周面と、前記第2内周面から前記第2外周面まで延びる第2端面および第2傾斜端面を有し、
前記第1傾斜端面は、前記第1端面に対して傾斜しており、
前記第2傾斜端面は、前記第2端面に対して傾斜しており、
前記第1傾斜端面は、前記第2傾斜端面に接触している、請求項1に記載のシールリング。
【請求項4】
前記第1合口隙間および前記第2合口隙間は、前記第1シールリングおよび前記第2シールリングの中心に関して対称的に位置している、請求項1に記載のシールリング。
【請求項5】
前記第1シールリングの最も厚い部分の厚さと、前記第2シールリングの最も厚い部分の厚さとの合計は、前記シール溝の幅よりも大きい、請求項1に記載のシールリング。
【請求項6】
流体を移送するための往復動ポンプであって、
加圧室を内部に有するシリンダと、
前記シリンダ内に配置されたピストンと、
前記加圧室に連通する吸込み逆止弁および吐出し逆止弁と、
前記ピストンの外周面に形成されたシール溝内に配置された、請求項1乃至5のいずれか一項に記載のシールリングを備えている、往復動ポンプ。
発明の詳細な説明
【技術分野】
【0001】
本発明は、プランジャポンプやピストンポンプなどの往復動ポンプに関し、特に液化ガスを移送する用途に適した往復動ポンプに関する。
続きを表示(約 2,000 文字)
【背景技術】
【0002】
往復動ポンプは、シリンダ内に配置されたピストンを往復移動させることで流体をシリンダ内に吸込み、流体を加圧してシリンダから吐き出すように構成される。このような往復動ポンプは、液体水素、液化天然ガス、液化アンモニア、液体窒素、液化エチレンガス、液化石油ガスなどの液化ガスを移送する用途に使用されることがある。
【0003】
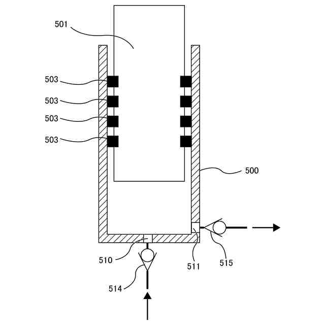
図9は、従来の往復動ポンプの断面を示す模式図である。図9に示すように、往復動ポンプは、シリンダ500と、シリンダ500内に移動可能に配置されたピストン501を有している。ピストン501は、図示しないアクチュエータに連結されている。シリンダ500の内面とピストン501の外面との間にはシール503が配置されている。シリンダ500の吸込み口510および吐出し口511には、それぞれ逆止弁514,515が連結されている。
【0004】
アクチュエータがピストン501を軸方向に往復移動させると、流体は逆止弁514および吸込み口510を通ってシリンダ500内に流入し、ピストン501によって加圧され、そしてシリンダ500から吐出し口511および逆止弁515を通って排出される。
【0005】
ピストン501の外周面に形成されたシール溝にシール503を嵌め込むために、シール503は、図10に示すような合口隙間520があるリング形状を有する。合口隙間520は微小ではあるものの、ピストン501によって加圧された流体の一部は、シール503の合口隙間520を通って漏洩する。そこで、図9に示す例では、複数のシール503の複数の合口隙間520が周方向において異なる位置にあるように配置される。
【先行技術文献】
【特許文献】
【0006】
特開2023-177499号公報
【発明の概要】
【発明が解決しようとする課題】
【0007】
しかしながら、複数のシール503が往復移動するにつれて、複数のシール503がそれらの軸心を中心に少しずつ回転し、複数の合口隙間520の周方向の位置が互いに近づくことがある。その結果、加圧された流体の一部は、これらシール503の合口隙間520を通ってシリンダ500外に漏洩やすくなる。シール503の回転を防止するために、シール503の一部に切り欠きを設けて、ピンのような位置決め部材を切り欠きに係合させることが考えられる。しかしながら、シール503の一部に切り欠きを設けると、シール503が割れるおそれがある。
【0008】
そこで、本発明は、ピストンに保持されたシールの回転を防止して、シールの合口隙間を通じた流体の漏洩を防止することができる技術を提供する。
【課題を解決するための手段】
【0009】
一態様では、流体を移送するための往復動ポンプのピストンのシール溝内に配置されるシールリングであって、第1合口隙間を有する第1シールリングと、第2合口隙間を有する第2シールリングを備え、前記第1シールリングおよび前記第2シールリングは互いに接触しており、前記第1シールリングは、厚さの異なる部分を有し、前記第2シールリングは、厚さの異なる部分を有し、前記第1シールリングの最も薄い部分は、前記第2シールリングの最も厚い部分に接触し、前記第1シールリングの最も厚い部分は、前記第2シールリングの最も薄い部分に接触し、前記第1合口隙間および前記第2合口隙間は、前記第1シールリングおよび前記第2シールリングの周方向において異なる位置にある、シールリングが提供される。
【0010】
一態様では、前記第1合口隙間は、前記第1シールリングの前記最も薄い部分に位置しており、前記第2合口隙間は、前記第2シールリングの前記最も薄い部分に位置している。
一態様では、前記第1シールリングは、第1内周面と、第1外周面と、前記第1内周面から前記第1外周面まで延びる第1端面および第1傾斜端面を有し、前記第2シールリングは、第2内周面と、第2外周面と、前記第2内周面から前記第2外周面まで延びる第2端面および第2傾斜端面を有し、前記第1傾斜端面は、前記第1端面に対して傾斜しており、前記第2傾斜端面は、前記第2端面に対して傾斜しており、前記第1傾斜端面は、前記第2傾斜端面に接触している。
一態様では、前記第1合口隙間および前記第2合口隙間は、前記第1シールリングおよび前記第2シールリングの中心に関して対称的に位置している。
一態様では、前記第1シールリングの最も厚い部分の厚さと、前記第2シールリングの最も厚い部分の厚さとの合計は、前記シール溝の幅よりも大きい。
(【0011】以降は省略されています)
この特許をJ-PlatPat(特許庁公式サイト)で参照する
関連特許
株式会社荏原製作所
ポンプ装置
5日前
株式会社荏原製作所
モータポンプ
19日前
株式会社荏原製作所
立形多段ポンプ
1日前
株式会社荏原製作所
熱媒体供給装置
19日前
株式会社荏原製作所
蒸気発電プラント
12日前
株式会社荏原製作所
周波数制御システム
5日前
株式会社荏原製作所
研磨方法および研磨装置
7日前
株式会社荏原製作所
シールリングおよび往復動ポンプ
1日前
株式会社荏原製作所
基板接合方法および基板接合システム
5日前
株式会社荏原製作所
ドレッサ洗浄装置および基板研磨装置
6日前
株式会社荏原製作所
基板洗浄装置のキャリブレーション方法および基板洗浄方法
14日前
オリオン機械株式会社
ヒータおよびこれを有する液体温調装置
8日前
株式会社荏原製作所
情報処理装置、基板研磨装置、推論装置、機械学習装置、情報処理方法、推論方法、及び、機械学習方法
12日前
住友化学株式会社
メタノールの製造方法
5日前
個人
海流製造装置。
1か月前
株式会社スギノマシン
圧縮機
13日前
株式会社ツインバード
送風装置
1か月前
株式会社ツインバード
送風装置
1か月前
日機装株式会社
遠心ポンプ
5日前
カヤバ株式会社
電動ポンプ
2か月前
ビッグボーン株式会社
送風装置
1か月前
株式会社不二越
蓄圧装置
2か月前
株式会社ノーリツ
ロータリ圧縮機
1か月前
株式会社酉島製作所
ポンプ
3か月前
サンデン株式会社
スクロール圧縮機
19日前
株式会社坂製作所
スクロール圧縮機
3か月前
小倉クラッチ株式会社
ルーツブロア
2か月前
株式会社不二越
ベーンポンプ
2か月前
サンデン株式会社
スクロール圧縮機
19日前
樫山工業株式会社
真空ポンプ
14日前
サンデン株式会社
スクロール圧縮機
19日前
株式会社ノーリツ
ロータリー圧縮機
3か月前
株式会社チロル
送風機、送風機付衣服
1か月前
株式会社島津製作所
真空ポンプ
1か月前
株式会社豊田自動織機
流体機械
1か月前
株式会社島津製作所
真空ポンプ
1か月前
続きを見る
他の特許を見る