TOP
|
特許
|
意匠
|
商標
特許ウォッチ
Twitter
他の特許を見る
10個以上の画像は省略されています。
公開番号
2025165211
公報種別
公開特許公報(A)
公開日
2025-11-04
出願番号
2024069180
出願日
2024-04-22
発明の名称
処理ヘッド、基板処理装置、および基板処理方法
出願人
株式会社荏原製作所
代理人
個人
,
個人
,
個人
主分類
B24B
21/00 20060101AFI20251027BHJP(研削;研磨)
要約
【課題】処理ヘッドを傾斜させることなく、基板の周縁部を処理することができる処理ヘッドが提供される。
【解決手段】処理ヘッドは、弾性パッド部材と、硬質パッド部材と、を備えている。処理ヘッドは、弾性パッド部材と硬質パッド部材との間に形成された空間に位置する処理テープを周縁部に押し付けるように構成されている。
【選択図】図6
特許請求の範囲
【請求項1】
基板の周縁部を処理するための処理テープを支持する処理ヘッドであって、
弾性変形可能な弾性パッド部材と、
前記弾性パッド部材よりも硬質の材質から構成され、かつ前記弾性パッド部材に隣接して配置された硬質パッド部材と、を備えており、
前記処理ヘッドは、前記処理テープを支持した状態で、前記弾性パッド部材と前記硬質パッド部材との間に形成された空間に位置する前記処理テープを前記周縁部に押し付けるように構成されている、処理ヘッド。
続きを表示(約 1,400 文字)
【請求項2】
前記処理ヘッドは、前記処理テープを前記周縁部に押し付けたとき、前記弾性パッド部材を弾性変形させて、前記周縁部の断面形状に沿うように、前記処理テープを前記周縁部に密着させる、請求項1に記載の処理ヘッド。
【請求項3】
前記弾性パッド部材は、前記処理テープに接触する第1接触部位を有しており、
前記硬質パッド部材は、前記処理テープに接触する第2接触部位を有しており、
前記処理テープを前記周縁部に押し付けたとき、前記第1接触部位の、前記処理テープとの接触面積は、前記第2接触部位の、前記処理テープとの接触面積よりも小さい、請求項1に記載の処理ヘッド。
【請求項4】
前記弾性パッド部材は、前記処理ヘッドの幅方向において、部分的に配置されている、請求項1に記載の処理ヘッド。
【請求項5】
前記弾性パッド部材は、前記基板の輪郭に沿った円弧状の湾曲部を有しており、
前記処理ヘッドは、前記処理テープを前記周縁部に押し付けることにより、前記周縁部を前記湾曲部に密着させる、請求項4に記載の処理ヘッド。
【請求項6】
基板の周縁部を処理する基板処理装置であって、
前記基板を支持しながら、前記基板を回転させる基板保持部と、
前記基板の周縁部を処理するための処理テープを支持する第1処理ヘッドおよび第2処理ヘッドと、を備え、
前記第1処理ヘッドおよび前記第2処理ヘッドのそれぞれは、
弾性変形可能な弾性パッド部材と、
前記弾性パッド部材よりも硬質の材質から構成され、かつ前記弾性パッド部材に隣接して配置された硬質パッド部材と、を備えており、
前記第1処理ヘッドおよび前記第2処理ヘッドのそれぞれは、前記処理テープを支持した状態で、前記弾性パッド部材と前記硬質パッド部材との間に形成された空間に位置する前記処理テープを前記周縁部に押し付けるように構成されている、基板処理装置。
【請求項7】
前記周縁部は、上側ベベル領域と、下側ベベル領域と、に区画された領域を有しており、
前記第1処理ヘッドは、前記処理テープを前記上側ベベル領域に押し付けるように構成されており、
前記第2処理ヘッドは、前記処理テープを前記下側ベベル領域に押し付けるように構成されている、請求項6に記載の基板処理装置。
【請求項8】
前記第1処理ヘッドおよび第2処理ヘッドのそれぞれは、前記処理テープを前記周縁部に押し付けたとき、前記弾性パッド部材を弾性変形させて、前記周縁部の断面形状に沿うように、前記処理テープを前記周縁部に密着させる、請求項6に記載の基板処理装置。
【請求項9】
前記弾性パッド部材は、前記処理テープに接触する第1接触部位を有しており、
前記硬質パッド部材は、前記処理テープに接触する第2接触部位を有しており、
前記処理テープを前記周縁部に押し付けたとき、前記第1接触部位の、前記処理テープとの接触面積は、前記第2接触部位の、前記処理テープとの接触面積よりも小さい、請求項6に記載の基板処理装置。
【請求項10】
前記弾性パッド部材は、前記処理ヘッドの幅方向において、部分的に配置されている、請求項6に記載の基板処理装置。
(【請求項11】以降は省略されています)
発明の詳細な説明
【技術分野】
【0001】
本発明は、処理ヘッド、基板処理装置、および基板処理方法に関する。
続きを表示(約 1,500 文字)
【背景技術】
【0002】
一般的に、基板は、その周縁部に形成されたベベル部を有している。ベベル部は、基板の周縁部において角取りされた部分を意味し、基板の欠けやパーティクルの発生などを防止するために形成される。基板の周縁部を処理する基板処理装置として、ベベル研磨装置やベベル洗浄装置が存在する。以下、一例として、従来のベベル研磨装置の課題について説明する。
【先行技術文献】
【特許文献】
【0003】
特開2022-63417号公報
特許第6851068号公報
【発明の概要】
【発明が解決しようとする課題】
【0004】
ベベル研磨装置は、研磨テープを基板の周縁部に押し付ける研磨ヘッドを備えている。研磨ヘッドは、研磨テープを支持する研磨パッドを備えている。研磨テープは、研磨パッドの両側に配置されたガイドローラに掛け渡されている。研磨パッドは、引っ張り力が付与された研磨テープを支持している。
【0005】
しかしながら、研磨パッドに支持された研磨テープは、引っ張られた状態で、撓むことなく周縁部を研磨する。したがって、研磨テープは、周縁部の局所的な領域のみを研磨する。結果として、周縁部は、研磨テープによって、局所的に、かつ直線的に研磨される。
【0006】
このようなベベル研磨装置では、周縁部(特に、ベベル部)の全体を研磨するためには、周縁部に対して研磨ヘッドを傾斜(すなわち、チルト運動)させて、研磨テープを周縁部の全体に押し付ける必要がある。しかしながら、研磨ヘッドを傾斜させる機構を設けると、コストが増大し、装置全体のサイズが大きくなってしまう。このような問題は、ベベル研磨装置のみならず、ベベル洗浄装置においても存在する。
【0007】
そこで、本発明は、処理ヘッドを傾斜させることなく、基板の周縁部を処理することができる処理ヘッド、基板処理装置、および基板処理方法を提供することを目的とする。
【課題を解決するための手段】
【0008】
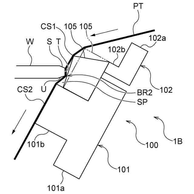
一態様では、基板の周縁部を処理するための処理テープを支持する処理ヘッドが提供される。処理ヘッドは、弾性変形可能な弾性パッド部材と、前記弾性パッド部材よりも硬質の材質から構成され、かつ前記弾性パッド部材に隣接して配置された硬質パッド部材と、を備えており、前記処理ヘッドは、前記処理テープを支持した状態で、前記弾性パッド部材と前記硬質パッド部材との間に形成された空間に位置する前記処理テープを前記周縁部に押し付けるように構成されている。
【0009】
一態様では、前記処理ヘッドは、前記処理テープを前記周縁部に押し付けたとき、前記弾性パッド部材を弾性変形させて、前記周縁部の断面形状に沿うように、前記処理テープを前記周縁部に密着させる。
一態様では、前記弾性パッド部材は、前記処理テープに接触する第1接触部位を有しており、前記硬質パッド部材は、前記処理テープに接触する第2接触部位を有しており、前記処理テープを前記周縁部に押し付けたとき、前記第1接触部位の、前記処理テープとの接触面積は、前記第2接触部位の、前記処理テープとの接触面積よりも小さい。
一態様では、前記弾性パッド部材は、前記処理ヘッドの幅方向において、部分的に配置されている。
【0010】
一態様では、前記弾性パッド部材は、前記基板の輪郭に沿った円弧状の湾曲部を有しており、前記処理ヘッドは、前記処理テープを前記周縁部に押し付けることにより、前記周縁部を前記湾曲部に密着させる。
(【0011】以降は省略されています)
この特許をJ-PlatPat(特許庁公式サイト)で参照する
関連特許
株式会社荏原製作所
振動検知器及び振動検知システム
4日前
株式会社荏原製作所
圧縮式冷凍機および冷凍システム
11日前
株式会社荏原製作所
基板研磨装置および膜厚算出方法
11日前
株式会社荏原製作所
ポンプシステム及びポンプシステムの制御方法
3日前
株式会社荏原製作所
パッド表面判定方法およびパッド表面判定システム
11日前
株式会社荏原製作所
情報処理装置、情報処理方法、情報処理プログラム、及び、記録媒体
4日前
株式会社荏原製作所
基板洗浄方法、基板洗浄装置、基板洗浄プログラムおよび基板処理装置
11日前
株式会社荏原製作所
液受け装置、および研磨装置
11日前
株式会社荏原製作所
排水機場の主ポンプ装置の残運転時間表示装置及び主ポンプ装置の駆動システム
3日前
個人
包丁研ぎ器具
4か月前
株式会社松風
研磨用ゴム砥石
1か月前
株式会社SUS
ワーク保持治具
19日前
株式会社東京精密
研削装置
1か月前
株式会社クボタ
管研削装置
4か月前
株式会社タカトリ
ウエハの研削装置
1か月前
株式会社村田製作所
切削装置
5か月前
株式会社ディスコ
被加工物の加工方法
2か月前
株式会社アイオーテック
外周加工装置
5日前
株式会社東京精密
加工方法
1か月前
ノリタケ株式会社
超砥粒ホイール
1か月前
株式会社東京精密
加工装置
1か月前
株式会社ニッチュー
ブラスト装置
4か月前
株式会社東京精密
加工装置
1か月前
不二空機株式会社
可搬型動力工具
5か月前
ノリタケ株式会社
研磨パッド
1か月前
株式会社ディスコ
砥石
5か月前
株式会社荏原製作所
研磨装置
26日前
秀和工業株式会社
処理装置および処理方法
2か月前
トヨタ自動車株式会社
回転砥石の製造方法
3か月前
オークマ株式会社
円筒研削盤
5か月前
株式会社アイドゥス企画
受動変形内面研磨ホイール
3か月前
株式会社東京精密
研削装置
3か月前
株式会社スギノマシン
ウォータージェット切断装置
11日前
富士紡ホールディングス株式会社
研磨パッド
1か月前
富士紡ホールディングス株式会社
研磨パッド
1か月前
富士紡ホールディングス株式会社
研磨パッド
1か月前
続きを見る
他の特許を見る