TOP
|
特許
|
意匠
|
商標
特許ウォッチ
Twitter
他の特許を見る
公開番号
2025169024
公報種別
公開特許公報(A)
公開日
2025-11-12
出願番号
2024073973
出願日
2024-04-30
発明の名称
ワーク保持治具
出願人
株式会社SUS
代理人
個人
主分類
B24B
41/06 20120101AFI20251105BHJP(研削;研磨)
要約
【課題】種々のワークを直接手で持つ必要なく安全にバフ研磨を行うことが可能な、これまでにないワーク保持治具を提供する。
【解決手段】バフ研磨装置のバフ部にワーク1を押し当てる際に用いるワーク保持治具であって、作業者が握持する柄部2と、前記柄部2の先端部に回転可能に設けられ前記ワーク1を保持する保持部3と、前記保持部3に前記ワーク1を吸着させる吸着機構と、を有する。
【選択図】図1
特許請求の範囲
【請求項1】
バフ研磨装置のバフ部にワークを押し当てる際に用いるワーク保持治具であって、
作業者が握持する柄部と、
前記柄部の先端部に回転可能に設けられ前記ワークを保持する保持部と、
前記保持部に前記ワークを吸着させる吸着機構と、
を有することを特徴とするワーク保持治具。
続きを表示(約 440 文字)
【請求項2】
請求項1記載のワーク保持治具において、前記保持部は、前記柄部の先端が露出するように該柄部に被嵌され、前記吸着機構は前記柄部に設けられた真空経路を通じて前記ワークに真空吸引力を作用させて前記保持部に吸着保持させるものであることを特徴とするワーク保持治具。
【請求項3】
請求項2記載のワーク保持治具において、前記保持部の前記ワークとの当接部に対して前記柄部の先端が突出しないことを特徴とするワーク保持治具。
【請求項4】
請求項2,3いずれか1項に記載のワーク保持治具において、前記柄部の基端部には前記真空経路と連通する流路を有する真空発生器が設けられていることを特徴とするワーク保持治具。
【請求項5】
請求項4記載のワーク保持治具において、前記真空発生器は、前記保持部に保持される前記ワークを前記バフ部に押し当てる際、前記バフ部に向かって排気を吹き出すように構成されていることを特徴とするワーク保持治具。
発明の詳細な説明
【技術分野】
【0001】
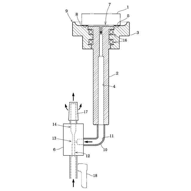
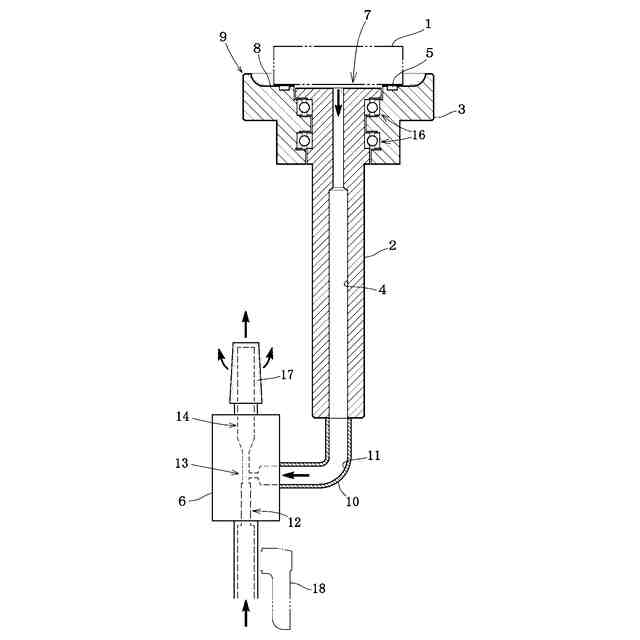
本発明は、バフ研磨装置のバフ部にワークを押し当てる際に用いるワーク保持治具に関するものである。
続きを表示(約 1,000 文字)
【背景技術】
【0002】
ステンレス製品の仕上げ加工に用いられるバフ研磨は、通常、バフ研磨装置(バフレース)の回転するバフ部(綿やフェルト製のバフホイール)に、ワークを作業者が直接手で押し当てることで行っている。
【0003】
しかし、握りこぶし程度の小型製品をバフ研磨する際には、手指が研磨ホイールに巻き込まれることが想定され、改善が要望されていた。
【0004】
特許文献1には、自動車エンジンに使用されるプランジャをバフ研磨する際に用いる治具が開示されているが、プランジャを穴に嵌合して使用する構成に特化したものであり使用できるワークは極めて限定されるものである。
【先行技術文献】
【特許文献】
【0005】
実開平5-78463号公報
【発明の概要】
【発明が解決しようとする課題】
【0006】
本発明は、上述のような現状に鑑みなされたもので、ワークをバフ部に手で直接押し当てることなく良好にバフ研磨を行えるのは勿論、特定の形状に限定されることなく種々のワークを良好に且つ確実に保持可能な、これまでにないワーク保持治具を提供することを目的とする。
【課題を解決するための手段】
【0007】
添付図面を参照して本発明の要旨を説明する。
【0008】
バフ研磨装置のバフ部にワーク1を押し当てる際に用いるワーク保持治具であって、
作業者が握持する柄部2と、
前記柄部2の先端部に回転可能に設けられ前記ワーク1を保持する保持部3と、
前記保持部3に前記ワーク1を吸着させる吸着機構と、
を有することを特徴とするワーク保持治具に係るものである。
【0009】
また、請求項1記載のワーク保持治具において、前記保持部3は、前記柄部2の先端が露出するように該柄部2に被嵌され、前記吸着機構は前記柄部2に設けられた真空経路4を通じて前記ワーク1に真空吸引力を作用させて前記保持部3に吸着保持させるものであることを特徴とするワーク保持治具に係るものである。
【0010】
また、請求項2記載のワーク保持治具において、前記保持部3の前記ワーク1との当接部5に対して前記柄部2の先端が突出しないことを特徴とするワーク保持治具に係るものである。
(【0011】以降は省略されています)
この特許をJ-PlatPat(特許庁公式サイト)で参照する
関連特許
株式会社松風
研磨用ゴム砥石
2か月前
株式会社SUS
ワーク保持治具
28日前
株式会社東京精密
研削装置
1か月前
株式会社タカトリ
ウエハの研削装置
1か月前
株式会社アイオーテック
外周加工装置
14日前
株式会社東京精密
加工装置
2か月前
ノリタケ株式会社
超砥粒ホイール
2か月前
株式会社東京精密
加工方法
2か月前
株式会社東京精密
加工装置
2か月前
株式会社荏原製作所
研磨装置
1か月前
ノリタケ株式会社
研磨パッド
2か月前
富士紡ホールディングス株式会社
研磨パッド
1か月前
富士紡ホールディングス株式会社
研磨パッド
1か月前
株式会社スギノマシン
ウォータージェット切断装置
20日前
富士紡ホールディングス株式会社
研磨パッド
1か月前
富士紡ホールディングス株式会社
研磨パッド
1か月前
株式会社ディスコ
加工装置
1か月前
株式会社東京精密
ダイシング装置
2か月前
株式会社ディスコ
切削装置
1か月前
株式会社東京精密
ダイシング装置
1か月前
株式会社ディスコ
貼り合わせウェーハの加工方法
1か月前
株式会社東京精密
ハブレスブレード
2か月前
株式会社クラッチ
ブラスト加工用ボックス
1か月前
株式会社和井田製作所
エッジライン生成装置
1か月前
ノリタケ株式会社
砥材及びその製造方法
2か月前
ノリタケ株式会社
平面研削用レジンボンド砥石
2か月前
株式会社ディスコ
加工装置
6日前
株式会社ディスコ
処理装置
12日前
信越半導体株式会社
ウェーハの加工方法
2か月前
信越半導体株式会社
ウェーハの加工方法
2か月前
株式会社ディスコ
研磨装置
2か月前
株式会社ダイヘン
制御装置
2か月前
株式会社ディスコ
加工装置
1か月前
株式会社ディスコ
加工装置
1か月前
ノリタケ株式会社
砥粒内包型高強度研磨パッド
2か月前
株式会社ディスコ
切削装置
2か月前
続きを見る
他の特許を見る