TOP
|
特許
|
意匠
|
商標
特許ウォッチ
Twitter
他の特許を見る
公開番号
2025156169
公報種別
公開特許公報(A)
公開日
2025-10-14
出願番号
2025053113
出願日
2025-03-27
発明の名称
研磨パッド
出願人
富士紡ホールディングス株式会社
代理人
個人
主分類
B24B
37/24 20120101AFI20251002BHJP(研削;研磨)
要約
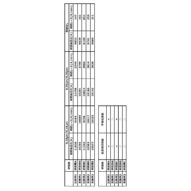
【課題】 段差解消性能及び平坦化性能に優れた研磨パッドを提供することを目的とする。
【解決手段】 イソシアネート末端プレポリマー及び硬化剤を原料とするポリウレタン樹脂発泡体からなる研磨層を有する研磨パッドであって、
湿潤状態におけるパルスNMR法により40℃で測定される研磨層における結晶相の含有割合と非晶相の含有割合の比が0.5以上、1.0以下であり、
湿潤状態におけるパルスNMR法により40℃で測定される研磨層における中間相の含有割合と非晶相の含有割合の比が0.4以上、0.9以下である、ことを特徴とする研磨パッド。
【選択図】図1
特許請求の範囲
【請求項1】
イソシアネート末端プレポリマー及び硬化剤を原料とするポリウレタン樹脂発泡体からなる研磨層を有する研磨パッドであって、
湿潤状態におけるパルスNMR法により40℃で測定される前記研磨層における結晶相の含有割合(%)と非晶相の含有割合(%)の比が0.5以上、1.0以下であり、
前記湿潤状態におけるパルスNMR法により40℃で測定される前記研磨層における中間相の含有割合(%)と非晶相の含有割合(%)の比が0.4以上、0.9以下である、ことを特徴とする研磨パッド。
続きを表示(約 870 文字)
【請求項2】
前記湿潤状態におけるパルスNMR法により40℃で測定される前記研磨層における非晶相の含有割合が30.0%以上、55.0%以下である、請求項1に記載の研磨パッド。
【請求項3】
前記湿潤状態におけるパルスNMR法により40℃で測定される前記研磨層における中間相の含有割合が15.0%以上、35.0%以下である、請求項1に記載の研磨パッド。
【請求項4】
前記イソシアネート末端プレポリマーがポリイソシアネート化合物由来の構成単位と、高分子量ポリオール由来構成単位とを含み、前記高分子量ポリオール由来構成単位は、少なくともポリエステルジオール由来構成単位と、PTMG由来構成単位を含む,請求項1に記載の研磨パッド。
【請求項5】
前記ポリエステルジオール由来構成単位を形成するためのポリエステルジオールの数平均分子量が600以上、2500以下である、請求項4に記載の研磨パッド。
【請求項6】
前記PTMG由来構成単位が、前記高分子量ポリオール由来構成単位に対して、30重量%以上、80重量%以下である、請求項4に記載の研磨パッド。
【請求項7】
前記ポリウレタン樹脂発泡体は、少なくとも二種のイソシアネート末端プレポリマーを原料とし、前記少なくとも二種のイソシアネート末端プレポリマーの少なくとも一種は前記PTMG由来構成単位を含み、前記PTMG構成単位を含む前記イソシアネート末端プレポリマーのNCO当量は400以上、500以下である、請求項4に記載の研磨パッド。
【請求項8】
前記ポリウレタン樹脂発泡体は、少なくとも二種のイソシアネート末端プレポリマーを原料とし、前記少なくとも二種のイソシアネート末端プレポリマーの少なくとも一種は前記ポリエステルジオール由来構成単位を含み、前記ポリエステルジオール構成単位を含む前記イソシアネート末端プレポリマーのNCO当量は550以上、700以下である、請求項4に記載の研磨パッド。
発明の詳細な説明
【技術分野】
【0001】
本発明は研磨パッドに関する。本発明の研磨パッドは、光学材料、半導体デバイス、ハードディスク用のガラス基板等の研磨に用いられ、特に半導体ウエハの上に酸化物層、金属層等が形成されたデバイスを研磨するのに好適に用いられる。
続きを表示(約 3,200 文字)
【背景技術】
【0002】
光学材料、半導体ウエハ、半導体デバイス、ハードディスク用基板の表面を平坦化するための研磨法として、化学機械研磨(chemical mechanical polishing,CMP)法が一般的に用いられている。
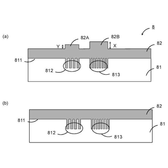
CMP法について、図1を用いて説明する。図1のように、CMP法を実施する研磨装置1には、研磨パッド3が備えられ、当該研磨パッド3は、保持定盤16及び被研磨物8がずれないように保持するリテーナリング(図1では図示しない)に保持された被研磨物8に当接するとともに、研磨を行う層である研磨層4と研磨層4を支持するクッション層6を含む。研磨パッド3は、被研磨物8が押圧された状態で回転駆動され、被研磨物8を研磨する。その際、研磨パッド3と被研磨物8との間には、スラリー9が供給される。スラリー9は、水と各種化学成分や硬質の微細な砥粒の混合物(分散液)であり、その中の化学成分や砥粒が流されながら、被研磨物8との相対運動により、研磨効果を増大させるものである。スラリー9は溝又は孔を介して研磨面に供給され、排出される。
【0003】
ところで、半導体デバイスの研磨には、イソシアネート成分(トルエンジイソシアネート(TDI)など)及び高分子量ポリオール(ポリオキシテトラメチレングリコール(PTMG)など)を含むプレポリマーとジアミン系硬化剤(4,4’-メチレンビス(2-クロロアニリン)(MOCA)など)を反応させて得られた硬質ポリウレタン材料を研磨層として用いた研磨パッドを用いることが一般的である。プレポリマーに含まれる高分子量ポリオールはウレタンのソフトセグメントを形成し、その取り扱いやすさや適度なゴム弾性を示すPTMGが高分子量ポリオールとして従来からよく用いられていた。しかし、近年、半導体デバイスの配線の微細化に伴い、高さが異なる段差が混在する被研磨物を研磨する際に、従来の研磨パッドでは段差解消性能や平坦化性能が不十分である場合があり、高分子量ポリオールとしてPTMG以外を用いる検討がなされている。
特許文献1には、プレポリマーの高分子量ポリオールとして、PPG及びPTMGの混合物を用いることで、欠陥率を低減した研磨パッドがそれぞれ開示されている。
【先行技術文献】
【特許文献】
【0004】
特開2011-040737号公報
【発明の概要】
【発明が解決しようとする課題】
【0005】
しかしながら、特許文献1に記載の研磨パッドは、PPG及びPTMGの混合物を用いたものであるため段差解消性能及び平坦化性能が十分なものではなかった。
本発明は、上記の問題点に鑑みてなされたものであり、段差解消性能及び平坦化性能に優れた研磨パッドを提供することを目的とする。
【課題を解決するための手段】
【0006】
本発明者らは、湿潤状態におけるパルスNMR法によって測定して得られる、研磨層の結晶相の含有割合と非晶相の含有割合の比、及び、中間相の含有割合と非晶相の含有割合の比を調整することにより、高さが異なる段差が混在する被研磨物を研磨する際に、優れた段差解消性能及び平坦化性能を有する研磨層を備えた研磨パッドを見出し、本発明に到達した。
すなわち、本発明は以下を包含する。
[1] イソシアネート末端プレポリマー及び硬化剤を原料とするポリウレタン樹脂発泡体からなる研磨層を有する研磨パッドであって、
湿潤状態におけるパルスNMR法により40℃で測定される前記研磨層における結晶相の含有割合(%)と非晶相の含有割合(%)の比が0.5以上、1.0以下であり、
前記湿潤状態におけるパルスNMR法により40℃で測定される前記研磨層における中間相の含有割合(%)と非晶相の含有割合(%)の比が0.4以上、0.9以下である、ことを特徴とする研磨パッド。
[2] 前記湿潤状態におけるパルスNMR法により40℃で測定される前記研磨層における非晶相の含有割合が30.0%以上、55.0%以下である、[1]に記載の研磨パッド。
[3] 前記湿潤状態におけるパルスNMR法により40℃で測定される前記研磨層における中間相の含有割合が15.0%以上、35.0%以下である、[1]に記載の研磨パッド。
[4] 前記イソシアネート末端プレポリマーがポリイソシアネート化合物由来構成単位と高分子量ポリオール由来構成単位とを含み、前記高分子量ポリオール由来構成単位は、少なくともポリエステルジオール由来構成単位と、PTMG由来構成単位を含む、[1]に記載の研磨パッド。
[5] 前記ポリエステルジオール構成由来単位を形成するためのポリエステルジオールの数平均分子量が600以上、2500以下である、[4]に記載の研磨パッド。
[6] 前記PTMG由来構成単位が、前記高分子量ポリオール由来構成単位に対して、30重量%以上、80重量%以下である、[4]に記載の研磨パッド。
[7] 前記ポリウレタン樹脂発泡体は、少なくとも二種のイソシアネート末端プレポリマーを原料とし、前記少なくとも二種のイソシアネート末端プレポリマーの少なくとも一種は前記PTMG由来構成単位を含み、前記PTMG由来構成単位を含む前記イソシアネート末端プレポリマーのNCO当量は400以上、500以下である、[4]に記載の研磨パッド。
[8] 前記ポリウレタン樹脂発泡体は、少なくとも二種のイソシアネート末端プレポリマーを原料とし、前記少なくとも二種のイソシアネート末端プレポリマーの少なくとも一種は前記ポリエステルジオール由来構成単位を含み、前記ポリエステルジオール構成単位を含む前記イソシアネート末端プレポリマーのNCO当量は550以上、700以下である、[4]に記載の研磨パッド。
【発明の効果】
【0007】
湿潤状態におけるパルスNMR法によって測定して得られる、研磨層の結晶相の含有割合と非晶相の含有割合の比が特定の範囲に調整され、運動性が高い非晶相の割合が結晶相や中間相に比べて多くなり、研磨層が研磨中に適度に軟化することにより、高さが異なる段差が混在する被研磨物においても段差解消性能及び平坦化性能に優れた研磨パッドとなると考えられる。
【図面の簡単な説明】
【0008】
図1は、研磨の状態を示す模式図である。
図2は、研磨パッドの断面図である。
図3は、段差解消性能及び平坦化性能を説明するための模式図である。
【発明を実施するための形態】
【0009】
以下、発明を実施するための形態について説明するが、本発明は、発明を実施するための形態に限定されるものではない。
【0010】
<<研磨パッド>>
研磨パッド3の構造について図2を用いて説明する。研磨パッド3は、図2のように、研磨層4と、クッション層6とを含む。研磨パッド3の形状は円盤状が好ましいが、特に限定されるものではなく、また、大きさ(径)も、研磨パッド3を備える研磨装置1のサイズ等に応じて適宜決定することができ、例えば、直径10cm~2m程度とすることができる。
なお、本発明の研磨パッド3は、好ましくは図2に示すように、研磨層4がクッション層6に接着層7を介して接着されている。
研磨パッド3は、クッション層6に配設された両面テープ等によって研磨装置1の研磨定盤10に貼付される。研磨パッド3は、研磨装置1によって被研磨物8を押圧した状態で回転駆動され、被研磨物8を研磨する。
(【0011】以降は省略されています)
この特許をJ-PlatPat(特許庁公式サイト)で参照する
関連特許
個人
包丁研ぎ器具
2か月前
株式会社松風
研磨用ゴム砥石
5日前
個人
研磨体
4か月前
株式会社クボタ
管研削装置
3か月前
株式会社東京精密
研削装置
1日前
株式会社村田製作所
切削装置
4か月前
株式会社ディスコ
被加工物の加工方法
26日前
不二空機株式会社
可搬型動力工具
4か月前
株式会社東京精密
加工装置
5日前
株式会社ニッチュー
ブラスト装置
3か月前
シンクス株式会社
ボード切断装置
4か月前
ノリタケ株式会社
超砥粒ホイール
5日前
株式会社東京精密
加工装置
7日前
株式会社東京精密
加工方法
7日前
ノリタケ株式会社
研磨パッド
5日前
トヨタ自動車株式会社
回転砥石の製造方法
2か月前
オークマ株式会社
円筒研削盤
3か月前
株式会社ディスコ
砥石
3か月前
秀和工業株式会社
処理装置および処理方法
28日前
富士紡ホールディングス株式会社
研磨パッド
1日前
富士紡ホールディングス株式会社
研磨パッド
1日前
富士紡ホールディングス株式会社
研磨パッド
1日前
富士紡ホールディングス株式会社
研磨パッド
1日前
株式会社東京精密
研削装置
1か月前
株式会社アイドゥス企画
受動変形内面研磨ホイール
2か月前
中村留精密工業株式会社
レンズ保持装置
4か月前
株式会社ディスコ
研削装置
2か月前
Mipox株式会社
研磨部材の製造方法
1か月前
株式会社ディスコ
加工装置
1か月前
旭化成株式会社
研磨パッド
1か月前
Mipox株式会社
研磨部材の製造方法
1か月前
株式会社ディスコ
加工方法
4か月前
嘉澤端子工業股分有限公司
グラインダー
4か月前
株式会社東京精密
ダイシング装置
1日前
株式会社東京精密
ダイシング装置
5日前
Mipox株式会社
研磨部材の製造方法
1か月前
続きを見る
他の特許を見る