TOP
|
特許
|
意匠
|
商標
特許ウォッチ
Twitter
他の特許を見る
公開番号
2025132102
公報種別
公開特許公報(A)
公開日
2025-09-10
出願番号
2024029448
出願日
2024-02-29
発明の名称
加工装置
出願人
株式会社ディスコ
代理人
インフォート弁理士法人
主分類
B24B
55/06 20060101AFI20250903BHJP(研削;研磨)
要約
【課題】加工装置の加工室内のチャックテーブルや加工具の交換作業を容易にする。
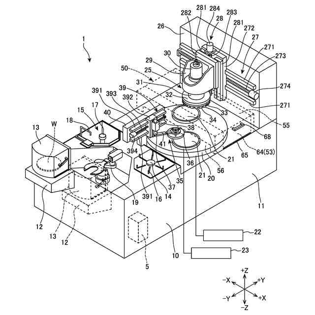
【解決手段】被加工物(W)を保持するチャックテーブル(21)と、被加工物をスピンドル(31)の先端に配置した加工具(34)で加工する加工ユニット(25)と、加工ユニットを水平方向に移動させる水平移動機構(27)と、チャックテーブルと加工具とを収容する加工室(50)と、を備える加工装置において、加工室の天井(55)に、スピンドルを貫通させる開口(60)を備えた中央板(57)と、加工ユニットの水平移動方向における中央板の両端側に各々配置して水平方向に伸縮する2つの蛇腹(58、59)と、とを備え、中央板と蛇腹とを脱着する脱着具(61)を備え、加工室の側板は、上部に蛇腹(58)が接続された開閉扉(64)と、開閉扉を外側に開くように開閉扉の下部に配置したヒンジ(65)と、を備える。
【選択図】図3
特許請求の範囲
【請求項1】
被加工物を保持するチャックテーブルと、該チャックテーブルに保持された被加工物をスピンドルの先端に配置した加工具で加工する加工ユニットと、該加工ユニットを水平方向に移動させる水平移動機構と、該チャックテーブルと該加工具とを収容する加工室と、を備える加工装置であって、
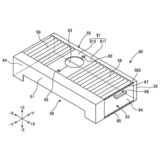
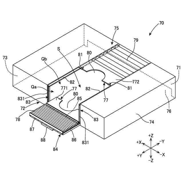
該加工室の天井は、該スピンドルを貫通させる開口を備えた中央板と、該水平移動機構による該加工ユニットの水平移動方向における該中央板の両端側に各々配置して水平方向に伸縮する2つの蛇腹と、とを備え、
該中央板と該蛇腹とを脱着する脱着具を備え、
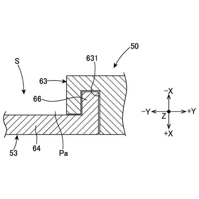
該加工室の側板は、上部に該蛇腹が接続された開閉扉と、該開閉扉を外側に開くように該開閉扉の下部に配置したヒンジと、を備える、加工装置。
続きを表示(約 380 文字)
【請求項2】
被加工物を保持するチャックテーブルと、該チャックテーブルに保持された被加工物をスピンドルの先端に配置した加工具で加工する加工ユニットと、該加工ユニットを水平方向に移動させる水平移動機構と、該チャックテーブルと該加工具とを収容する加工室と、を備える加工装置であって、
該加工室の天井は、該スピンドルを貫通させる開口を備えた中央板と、該水平移動機構による該加工ユニットの水平移動方向における該中央板の両端側に各々配置して水平方向に伸縮する2つの蛇腹と、とを備え、
該中央板は、該開口を2分割する第1中央板と第2中央板と、該第1中央板と該第2中央板とを接続する接続部と、を備え、
該加工室の側板は、上部に該蛇腹が接続された開閉扉と、該開閉扉を外側に開くように該開閉扉の下部に配置したヒンジと、を備える、加工装置。
発明の詳細な説明
【技術分野】
【0001】
本発明は、被加工物を加工する加工装置に関する。
続きを表示(約 1,700 文字)
【背景技術】
【0002】
ウェーハを研磨する研磨装置は、ウェーハを保持したチャックテーブルと、ウェーハを研磨する研磨パッドと、を収容する加工室が設けられ、加工室内でウェーハに対する研磨加工が行われる。
【0003】
特許文献1に開示される研磨装置は、研磨パッドを装着した研磨ユニットを水平方向(チャックテーブルの保持面に対して垂直な方向)に移動させながら、ウェーハの研磨加工を行う。このタイプの研磨装置の場合、加工室の天板が、研磨パッドを装着したスピンドルを貫通させる開口を設けたプレートと、プレートの両端側に接続する蛇腹とを備え、研磨パッド及びスピンドルが水平方向に移動した際に、プレートと蛇腹を追従して移動させて加工室の天井が覆われる状態を維持する。
【0004】
研磨装置は、メンテナンスとしてチャックテーブルや研磨パッドの交換を行う。また、研磨以外の加工を行う加工装置においても、同種のメンテナンスを行う。例えば、研削装置では、チャックテーブルや研削ホイールの交換を行う。従って、研磨装置や研削装置のような加工装置のメンテナンスでは、チャックテーブルや加工具を交換する。
【0005】
加工装置において、上記のようなメンテナンス作業を容易にするために、特許文献2、3及び4に開示のように、加工室の側板が開かれるようにした構成が知られている。
【先行技術文献】
【特許文献】
【0006】
特開2015-054373号公報
特開2023-066697号公報
特開2021-176666号公報
特開2020-015158号公報
【発明の概要】
【発明が解決しようとする課題】
【0007】
従来の加工装置は、加工室の側板が開かれるものであっても、加工室の天井を形成する蛇腹を取り外すことができないため、加工室に形成される開口の大きさに制限があり、チャックテーブルや加工具の交換作業が容易ではない場合があった。
【0008】
したがって、加工室の天板に蛇腹を備えた加工装置において、加工室内のチャックテーブルや加工具の交換作業を容易にする、という解決すべき課題がある。
【課題を解決するための手段】
【0009】
本発明の一態様は、被加工物を保持するチャックテーブルと、該チャックテーブルに保持された被加工物をスピンドルの先端に配置した加工具で加工する加工ユニットと、該加工ユニットを水平方向に移動させる水平移動機構と、該チャックテーブルと該加工具とを収容する加工室と、を備える加工装置であって、該加工室の天井は、該スピンドルを貫通させる開口を備えた中央板と、該水平移動機構による該加工ユニットの水平移動方向における該中央板の両端側に各々配置して水平方向に伸縮する2つの蛇腹と、とを備え、該中央板と該蛇腹とを脱着する脱着具を備え、該加工室の側板は、上部に該蛇腹が接続された開閉扉と、該開閉扉を外側に開くように該開閉扉の下部に配置したヒンジと、を備える。
【0010】
本発明の一態様は、被加工物を保持するチャックテーブルと、該チャックテーブルに保持された被加工物をスピンドルの先端に配置した加工具で加工する加工ユニットと、該加工ユニットを水平方向に移動させる水平移動機構と、該チャックテーブルと該加工具とを収容する加工室と、を備える加工装置であって、該加工室の天井は、該スピンドルを貫通させる開口を備えた中央板と、該水平移動機構による該加工ユニットの水平移動方向における該中央板の両端側に各々配置して水平方向に伸縮する2つの蛇腹と、とを備え、該中央板は、該開口を2分割する第1中央板と第2中央板と、該第1中央板と該第2中央板とを接続する接続部と、を備え、該加工室の側板は、上部に該蛇腹が接続された開閉扉と、該開閉扉を外側に開くように該開閉扉の下部に配置したヒンジと、を備える。
【発明の効果】
(【0011】以降は省略されています)
この特許をJ-PlatPat(特許庁公式サイト)で参照する
関連特許
株式会社ディスコ
ノズル
12日前
株式会社ディスコ
加工方法
13日前
株式会社ディスコ
加工装置
14日前
株式会社ディスコ
診断方法
2日前
株式会社ディスコ
フレーム
12日前
株式会社ディスコ
加工装置
21日前
株式会社ディスコ
切削装置
5日前
株式会社ディスコ
加工装置
1か月前
株式会社ディスコ
加工装置
1か月前
株式会社ディスコ
研削装置
28日前
株式会社ディスコ
切削装置
12日前
株式会社ディスコ
加工装置
12日前
株式会社ディスコ
ノズルユニット
2日前
株式会社ディスコ
シート貼着装置
13日前
株式会社ディスコ
加工水供給装置
5日前
株式会社ディスコ
液体供給システム
12日前
株式会社ディスコ
チャックテーブル
22日前
株式会社ディスコ
ドレッシング方法
26日前
株式会社ディスコ
接合強度検査方法
22日前
株式会社ディスコ
ドレッシング方法
1か月前
株式会社ディスコ
切削ブレード治具
2日前
株式会社ディスコ
洗浄液供給システム
22日前
株式会社ディスコ
ウエーハの加工装置
1か月前
株式会社ディスコ
被加工物の加工方法
12日前
株式会社ディスコ
ウエーハの加工方法
23日前
株式会社ディスコ
被加工物の加工方法
20日前
株式会社ディスコ
ウェーハの製造方法
20日前
株式会社ディスコ
洗浄装置及び洗浄方法
26日前
株式会社ディスコ
測定方法及び測定治具
28日前
株式会社ディスコ
切削方法及び切削装置
20日前
株式会社ディスコ
押圧試験装置の評価方法
12日前
株式会社ディスコ
積層ウェーハの加工方法
2日前
株式会社ディスコ
異常予知方法及び加工装置
23日前
株式会社ディスコ
切削ブレードのドレス方法
20日前
株式会社ディスコ
貼り合わせ基板の加工方法
12日前
株式会社ディスコ
廃液処理装置及び洗浄方法
14日前
続きを見る
他の特許を見る