TOP
|
特許
|
意匠
|
商標
特許ウォッチ
Twitter
他の特許を見る
公開番号
2025156765
公報種別
公開特許公報(A)
公開日
2025-10-15
出願番号
2024059413
出願日
2024-04-02
発明の名称
被加工物の処理装置
出願人
株式会社ディスコ
代理人
インフォート弁理士法人
主分類
H01L
21/304 20060101AFI20251007BHJP(基本的電気素子)
要約
【課題】被加工物に保護部材を形成する際の処理条件の設定を容易にする。
【解決手段】被加工物(50)の第一面(51)を保持する第一保持部(20)と、第一保持部と対面して配置された第二保持部(11)と、被加工物の第二面(52)と第二保持部側の少なくともいずれかに液状の保護部材(55)を供給する供給部(13)と、第一保持部と第二保持部とを相対的に接近させて被加工物の第二面を保護部材で覆う移動機構(22)と、保護部材を硬化させる硬化部(18)と、制御部(40)と、を備えた処理装置(10)であって、制御部は、所望する保護部材の厚みに対応した移動機構の移動速度を記録したテーブルを記憶する記憶部(41)と、所望する保護部材の厚みを入力すると、テーブルに基づいて移動速度を設定する設定部(42)とを有し、設定部の設定に応じて移動機構を制御する。
【選択図】図4
特許請求の範囲
【請求項1】
被加工物の処理装置であって、
被加工物の第一面を保持する第一保持面を有する第一保持部と、
該第一保持部と対面する第二保持面を有する第二保持部と、
該第一保持部に保持された該被加工物の第二面と該第二保持面との少なくともいずれかに液状の保護部材を供給する供給部と、
該第一保持部と、該第二保持部と、を相対的に接近させて該被加工物の該第二面を該保護部材で覆う移動機構と、
該保護部材を硬化させる硬化部と、
制御部と、を備え、
該制御部は、
所望する該保護部材の厚みに対応した該移動機構の移動速度を記録したテーブルを記憶する記憶部と、
所望する該保護部材の厚みを入力すると、該テーブルに基づき、該移動速度を設定する設定部と、を有し、
該設定部の設定に応じて該移動機構を制御することを特徴とする被加工物の処理装置。
続きを表示(約 190 文字)
【請求項2】
該移動機構は、
第一速度で該第一保持部と該第二保持部とを相対的に移動させた後、
該第一速度より遅い第二速度で、該第一保持部と該第二保持部とを相対的に移動させ、
該テーブルは、所望する該保護部材と該第一速度との関係と、所望する該保護部材と該第二速度との関係と、をそれぞれ記憶することを特徴とする請求項1に記載の被加工物の処理装置。
発明の詳細な説明
【技術分野】
【0001】
本発明は、被加工物に保護部材を形成する処理装置に関する。
続きを表示(約 1,500 文字)
【背景技術】
【0002】
インゴットから切り出したスライスウェーハの両面を研削して所望の厚みのウェーハを製造する際に、ウェーハの一方の面に保護部材を形成し、研削装置のチャックテーブルに保護部材の側を載せてウェーハを保持し、ウェーハの他方の面を研削砥石によって研削加工する工程がある。
【0003】
特許文献1に開示されるように、ウェーハのような被加工物の一方の面に保護部材を形成する処理装置では、被加工物の一方の面に液状の樹脂を塗布し、液状の樹脂を硬化させて保護部材を形成する。被加工物の一方の面に液状の樹脂を塗布する方法の一例として、保持テーブルに置いたシートに液状の樹脂を供給し、被加工物を保持テーブルに接近させて、シート上の液状の樹脂を被加工物によって押し広げる。そして、液状の樹脂を硬化させる。このように、硬化した樹脂とシートとによって保護部材を形成する。
【先行技術文献】
【特許文献】
【0004】
特開2009-148866号公報
【発明の概要】
【発明が解決しようとする課題】
【0005】
被加工物の一方の面に保護部材を形成する処理装置において、所望する保護部材の厚みに応じて、様々な処理条件を設定する手間が生じていた。例えば、シート上の液状の樹脂に被加工物を接近させて押し広げさせる際に、保護部材の厚みに応じた被加工物の適切な移動速度を、処理装置を操作するオペレータが入力する必要があり、設定の手間がかかっていた。
【0006】
本発明の課題は、被加工物に保護部材を形成する際の処理条件の設定を容易にする処理装置を提供することである。
【課題を解決するための手段】
【0007】
本発明の一態様は、被加工物の処理装置であって、被加工物の第一面を保持する第一保持面を有する第一保持部と、該第一保持部と対面する第二保持面を有する第二保持部と、該第一保持部に保持された該被加工物の第二面と該第二保持面との少なくともいずれかに液状の保護部材を供給する供給部と、該第一保持部と、該第二保持部と、を相対的に接近させて該被加工物の該第二面を該保護部材で覆う移動機構と、該保護部材を硬化させる硬化部と、制御部と、を備え、該制御部は、所望する該保護部材の厚みに対応した該移動機構の移動速度を記録したテーブルを記憶する記憶部と、所望する該保護部材の厚みを入力すると、該テーブルに基づき、該移動速度を設定する設定部と、を有し、該設定部の設定に応じて該移動機構を制御することを特徴とする。
【発明の効果】
【0008】
本発明によれば、被加工物に保護部材を形成する際の処理条件の設定が容易である被加工物の処理装置を得ることができる。
【図面の簡単な説明】
【0009】
処理装置において液状の樹脂を供給する工程の図である。
処理装置において被加工物の第二面を樹脂で覆う工程の図である。
処理装置の制御系の構成を示すブロック図である。
処理装置における処理条件の設定を示す図である。
保護部材の厚みと移動速度との関係のテーブルを示す図である。
保護部材の厚みと押圧荷重との関係のテーブルを示す図である。
【発明を実施するための形態】
【0010】
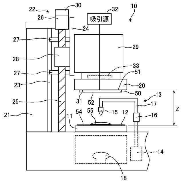
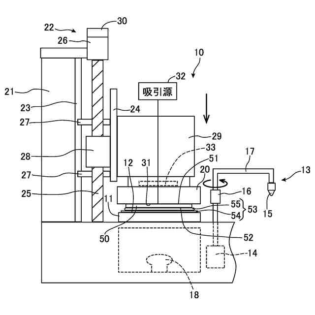
以下、図面を参照しながら、本実施の形態に係る処理装置について説明する。図1及び図2に示す処理装置10は、被加工物50の一方の面を覆う保護部材53(図2参照)を形成する装置である。
(【0011】以降は省略されています)
この特許をJ-PlatPat(特許庁公式サイト)で参照する
関連特許
株式会社ディスコ
加工方法
今日
株式会社ディスコ
加工装置
2日前
株式会社ディスコ
研削装置
14日前
株式会社ディスコ
加工方法
10日前
株式会社ディスコ
加工装置
8日前
株式会社ディスコ
加工装置
8日前
株式会社ディスコ
加工装置
3日前
株式会社ディスコ
加工装置
2日前
株式会社ディスコ
切削装置
3日前
株式会社ディスコ
搬送システム
1日前
株式会社ディスコ
搬送システム
14日前
株式会社ディスコ
搬送システム
今日
株式会社ディスコ
保護部材形成装置
今日
株式会社ディスコ
保護部材形成装置
2日前
株式会社ディスコ
ブレーキング装置
14日前
株式会社ディスコ
液状樹脂供給装置
1日前
株式会社ディスコ
被加工物の処理装置
2日前
株式会社ディスコ
ウエーハの加工装置
今日
株式会社ディスコ
検出方法及び処理装置
7日前
株式会社ディスコ
搬出装置及び切削装置
7日前
株式会社ディスコ
伸縮防水カバー、処理装置
3日前
株式会社ディスコ
チャックテーブルの整形方法
9日前
株式会社ディスコ
窒化ガリウム基板の製造方法
10日前
株式会社ディスコ
板状ワークの研削方法及び研削装置
10日前
株式会社ディスコ
保護層の形成方法及び被加工物の加工方法
今日
株式会社ディスコ
保護層の形成方法及び被加工物の加工方法
今日
株式会社ディスコ
保護部材形成装置、及び保護部材の形成方法
3日前
株式会社ディスコ
搬送方法、搬送装置、加工方法、及び、加工装置
1日前
株式会社ディスコ
隔壁の内壁面の構造、及び、それを備える加工装置
2日前
株式会社ディスコ
シートの処理方法、チップの製造方法及び基板の製造方法
14日前
株式会社ディスコ
フレームユニット形成方法およびフレームユニット形成装置
14日前
株式会社ディスコ
ドレッシングツール、保持テーブル、加工装置、及び、ドレッシング方法
7日前
個人
フレキシブル電気化学素子
7日前
日本発條株式会社
積層体
18日前
個人
防雪防塵カバー
18日前
ローム株式会社
半導体装置
16日前
続きを見る
他の特許を見る