TOP
|
特許
|
意匠
|
商標
特許ウォッチ
Twitter
他の特許を見る
公開番号
2025151692
公報種別
公開特許公報(A)
公開日
2025-10-09
出願番号
2024053242
出願日
2024-03-28
発明の名称
加工装置
出願人
株式会社ディスコ
代理人
弁理士法人東京アルパ特許事務所
主分類
B24B
49/12 20060101AFI20251002BHJP(研削;研磨)
要約
【課題】加工具の先端を検知するセンサを容易に保護する。
【解決手段】センサ50が待機位置501にあるときに、水ノズル60の第1供水口63および第2供水口64から投光部52および受光部53に対して水が供給されて、投光部52および受光部53の表面に水層が形成される。これにより、投光部52および受光部53が保護される。また、水ノズル60が、待機位置に位置付けられたセンサ50に対応するように加工室に配設されている。このため、センサ50を待機位置に配置することにより、投光部52および受光部53に対する水ノズル60からの適切な水供給が可能となる。このため、投光部52および受光部53に対する水供給を良好かつ容易に実施することが可能である。したがって、投光部52および受光部53を容易に保護することができる。
【選択図】図6
特許請求の範囲
【請求項1】
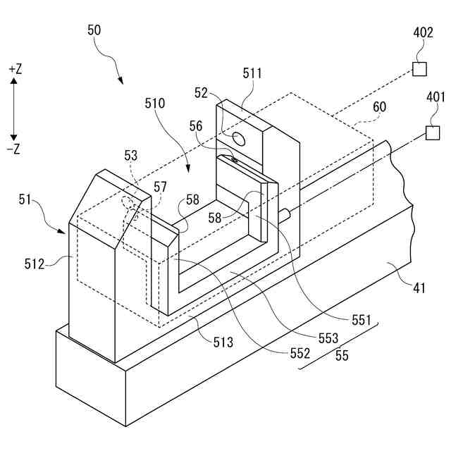
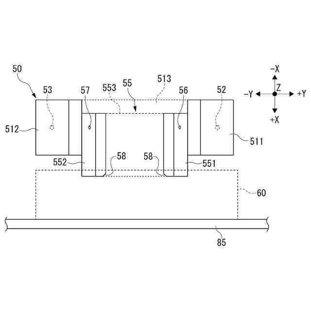
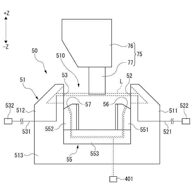
ワークを保持するチャックテーブルと、該チャックテーブルに保持されたワークを加工具によって加工する加工ユニットと、該加工具の先端を検知するセンサと、該チャックテーブル、該加工具および該センサを収容する加工室と、を備える加工装置であって、
該センサは、該加工具の先端を進入させるための隙間が形成されたセンサ本体と、該隙間を挟んで互いに対向するように該センサ本体に設けられた、光を投光する投光部および該光を受光する受光部と、を備え、
該センサを水平方向に移動させることにより測定位置と待機位置とに位置付ける水平移動機構と、
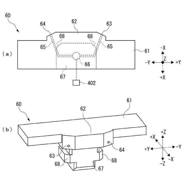
該待機位置に位置付けられた該センサに対応するように該加工室に配設され、該投光部および該受光部に水を供給する少なくとも2つの供水口を有する水ノズルと、をさらに備える、
加工装置。
続きを表示(約 110 文字)
【請求項2】
該投光部および該受光部にエアを噴射するためのエア噴射口を有するエアノズルと、
該加工具の先端を検知する際に、該エア噴射口からエアを噴射する制御部と、をさらに備える、
請求項1記載の加工装置。
発明の詳細な説明
【技術分野】
【0001】
本発明は、加工装置に関する。
続きを表示(約 1,400 文字)
【背景技術】
【0002】
特許文献1に開示のように、ウェーハを研削砥石で研削する研削装置は、研削砥石の先端を検知するセンサを備えている。
【0003】
このセンサは、投光部と、受光部とを備えている。これらの投光部と受光部とに、研削屑が付着しないように、特許文献2に開示のように、カバーが備えられる。
【先行技術文献】
【特許文献】
【0004】
特開2017-127936号公報
特開2016-112674号公報
【発明の概要】
【発明が解決しようとする課題】
【0005】
しかし、従来の構成では、カバー内に研削屑が進入し、投光部と受光部とに研削屑が付着することがある。
【0006】
したがって、本発明の目的は、加工具(切削ブレード、研削砥石およびバイト等)の先端を検知するセンサに加工屑が付着することを抑制してセンサを保護することを、容易に実施することにある。
【課題を解決するための手段】
【0007】
本発明の加工装置(本加工装置)は、ワークを保持するチャックテーブルと、該チャックテーブルに保持されたワークを加工具によって加工する加工ユニットと、該加工具の先端を検知するセンサと、該チャックテーブル、該加工具および該センサを収容する加工室と、を備える加工装置であって、該センサは、該加工具の先端を進入させるための隙間が形成されたセンサ本体と、該隙間を挟んで互いに対向するように該センサ本体に設けられた、光を投光する投光部および該光を受光する受光部と、を備え、該センサを水平方向に移動させることにより測定位置と待機位置とに位置付ける水平移動機構と、該待機位置に位置付けられた該センサに対応するように該加工室に配設され、該投光部および該受光部に水を供給する少なくとも2つの供水口を有する水ノズルと、をさらに備える。
【0008】
本加工装置は、該投光部および該受光部にエアを噴射するためのエア噴射口を有するエアノズルと、該加工具の先端を検知する際に、該エア噴射口からエアを噴射する制御部とをさらに備えていてもよい。
【発明の効果】
【0009】
本加工装置では、センサが待機位置にあるときに、水ノズルの供水口からセンサの投光部および受光部に対して水が供給されて、投光部および受光部の表面に水層が形成される。これにより、投光部および受光部が保護されるので、ワークの加工時に発生する加工屑が投光部および受光部に付着することを抑制することができる。
【0010】
また、本加工装置では、水ノズルが、待機位置に位置付けられたセンサに対応するように加工室に配設されている。このため、センサを待機位置に配置することにより、投光部および受光部に対する水ノズルの相対位置が適切に設定され、投光部および受光部への適切な水供給が可能となる。このように、投光部および受光部に対する水供給のための水ノズルの位置調整が容易であるので、投光部および受光部に対する水供給を良好かつ容易に実施することが可能である。したがって、投光部および受光部を容易に保護することができる。
【図面の簡単な説明】
(【0011】以降は省略されています)
この特許をJ-PlatPat(特許庁公式サイト)で参照する
関連特許
株式会社ディスコ
処理方法
3日前
株式会社ディスコ
掃除器具
3日前
株式会社ディスコ
掃除器具
3日前
株式会社ディスコ
加工装置
3日前
株式会社ディスコ
加工装置
4日前
株式会社ディスコ
搬送システム
3日前
株式会社ディスコ
搬送システム
3日前
株式会社ディスコ
搬送システム
3日前
株式会社ディスコ
洗浄装置及び洗浄方法
11日前
株式会社ディスコ
ブレード直径算出方法、及び、加工装置
9日前
株式会社ディスコ
研削ホイール装着治具及び研削ホイール装着治具の使用方法
9日前
株式会社松風
研磨用ゴム砥石
1か月前
株式会社SUS
ワーク保持治具
11日前
株式会社東京精密
研削装置
1か月前
株式会社タカトリ
ウエハの研削装置
27日前
株式会社ディスコ
被加工物の加工方法
2か月前
ノリタケ株式会社
超砥粒ホイール
1か月前
株式会社東京精密
加工装置
1か月前
株式会社東京精密
加工方法
1か月前
株式会社東京精密
加工装置
1か月前
ノリタケ株式会社
研磨パッド
1か月前
秀和工業株式会社
処理装置および処理方法
2か月前
株式会社荏原製作所
研磨装置
18日前
富士紡ホールディングス株式会社
研磨パッド
1か月前
富士紡ホールディングス株式会社
研磨パッド
1か月前
富士紡ホールディングス株式会社
研磨パッド
1か月前
株式会社東京精密
研削装置
2か月前
富士紡ホールディングス株式会社
研磨パッド
1か月前
株式会社スギノマシン
ウォータージェット切断装置
3日前
株式会社ディスコ
加工装置
19日前
株式会社東京精密
ダイシング装置
1か月前
Mipox株式会社
研磨部材の製造方法
2か月前
株式会社東京精密
ダイシング装置
1か月前
Mipox株式会社
研磨部材の製造方法
2か月前
旭化成株式会社
研磨パッド
2か月前
株式会社ディスコ
加工装置
2か月前
続きを見る
他の特許を見る