TOP
|
特許
|
意匠
|
商標
特許ウォッチ
Twitter
他の特許を見る
公開番号
2025171293
公報種別
公開特許公報(A)
公開日
2025-11-20
出願番号
2024076476
出願日
2024-05-09
発明の名称
掃除器具
出願人
株式会社ディスコ
代理人
弁理士法人愛宕綜合特許事務所
主分類
B23Q
11/00 20060101AFI20251113BHJP(工作機械;他に分類されない金属加工)
要約
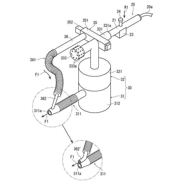
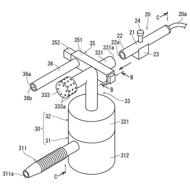
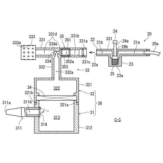
【課題】エアガンのみでは、クリンルーム内を効果的に清浄な状態に維持することが出来ないという問題を解消できる掃除器具を提供する。
【解決手段】被加工物を保持する保持手段と、該保持手段に保持された被加工物を加工する加工手段と、高圧エアーを噴射する噴出口を有する噴射ノズルを備えたエアガン20と、を含む加工装置で使用される掃除器具30であって、ゴミを吸引する吸引口311aを備えたノズル部311と、ノズル部311に吸引力を生成する吸引力生成部33と、吸引力生成部33によって生成された吸引力によってノズル部311から吸引されたゴミを収集するゴミ収集部312と、エアガン20の噴射ノズル22が装着される装着部331aと、装着部331aから高圧エアーを導き該吸引力を生成するための第一の経路と、該装着部331aから導入された高圧エアーを噴射する噴射口36aを有し該吸引力を生成しない第二の経路36bと、該第一の経路と第二の経路36bとを適宜選択できる選択部35と、を備える。
【選択図】図4
特許請求の範囲
【請求項1】
被加工物を保持する保持手段と、該保持手段に保持された被加工物を加工する加工手段と、高圧エアーを噴射する噴出口を有する噴射ノズルを備えたエアガンと、を含む加工装置で使用される掃除器具であって、
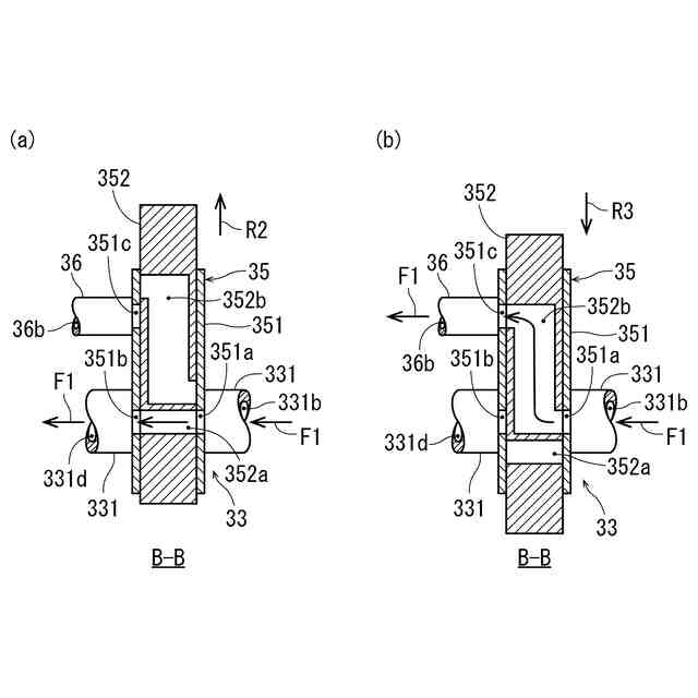
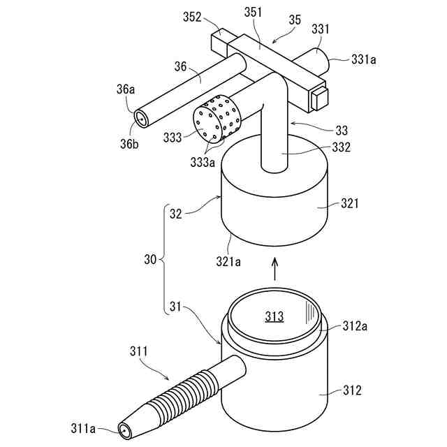
ゴミを吸引する吸引口を備えたノズル部と、該ノズル部に吸引力を生成する吸引力生成部と、該吸引力生成部によって生成された吸引力によって該ノズル部から吸引されたゴミを収集するゴミ収集部と、該エアガンの噴射ノズルが装着される装着部と、該装着部から高圧エアーを導き該吸引力を生成するための第一の経路と、該装着部から導入された高圧エアーを噴射する噴射口を有し該吸引力を生成しない第二の経路と、該第一の経路と該第二の経路とを適宜選択できる選択部と、を備える掃除器具。
続きを表示(約 380 文字)
【請求項2】
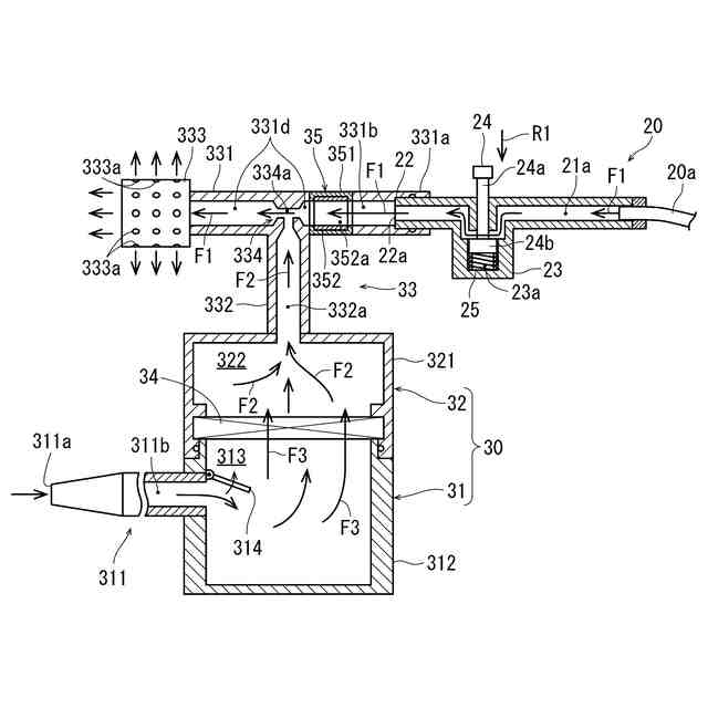
該吸引力生成部は、エジェクターと、該エジェクターと該エアガンの噴出口とを連通する高圧エアー経路と、該エジェクターで生成される負圧を該ゴミ収集部に連通する負圧経路と、を備え、
該ノズル部は、該ゴミ収集部に連通するゴミ経路を備える請求項1に記載の掃除器具。
【請求項3】
該吸引力生成部は、該負圧経路と連結される負圧室を備え、該ゴミ収集部は、該ゴミ経路と連結されるゴミ室を備え、該負圧室と該ゴミ室は着脱自在に締結されていて、該負圧室から分離して該ゴミ室に溜まったゴミを適宜捨てられる請求項2に記載の掃除器具。
【請求項4】
該負圧室と該ゴミ室を仕切る位置にフィルターが配設される請求項3に記載の掃除器具。
【請求項5】
該第二の経路は、該ノズル部に連通される請求項1に記載の掃除器具。
発明の詳細な説明
【技術分野】
【0001】
本発明は、加工装置で使用される掃除器具に関する。
続きを表示(約 2,000 文字)
【背景技術】
【0002】
IC、LSI等の複数のデバイスが分割予定ラインによって区画され表面に形成されたウエーハは、裏面が研削装置によって研削されて所定の厚みに形成された後、ダイシング装置、レーザー加工装置等によって個々のデバイスチップに分割され、携帯電話、パソコン等の電気機器に利用される。
【0003】
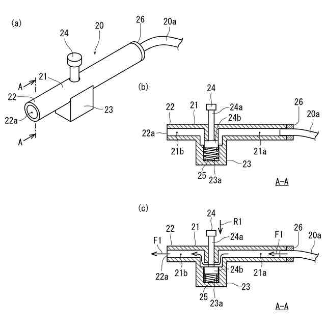
また、研削装置、ダイシング装置等を含む加工装置には、高圧エアー源と連通してウエーハ又は加工室を含む領域に付着した破片、水、ゴミ等を飛散させて除去する噴射ノズルを備えたエアガンが配設されている(例えば特許文献1を参照)。
【先行技術文献】
【特許文献】
【0004】
特開2013-169613号公報
【発明の概要】
【発明が解決しようとする課題】
【0005】
しかし、上記のエアガンを使用した場合、周辺に飛散した破片、水、ゴミ等が、該加工装置が設置されたクリンルーム等の環境を汚染する場合があり、エアガンのみでは、クリンルーム内を効果的に清浄な状態に維持することが出来ないという問題がある。
【0006】
本発明は、上記事実に鑑みなされたものであり、その主たる技術課題は、エアガンのみでは、クリンルーム内を効果的に清浄な状態に維持することが出来ないという問題を解消できる掃除器具を提供することにある。
【課題を解決するための手段】
【0007】
上記主たる技術課題を解決するため、本発明によれば、被加工物を保持する保持手段と、該保持手段に保持された被加工物を加工する加工手段と、高圧エアーを噴射する噴出口を有する噴射ノズルを備えたエアガンと、を含む加工装置で使用される掃除器具であって、ゴミを吸引する吸引口を備えたノズル部と、該ノズル部に吸引力を生成する吸引力生成部と、該吸引力生成部によって生成された吸引力によって該ノズル部から吸引されたゴミを収集するゴミ収集部と、該エアガンの噴射ノズルが装着される装着部と、該装着部から高圧エアーを導き該吸引力を生成するための第一の経路と、該装着部から導入された高圧エアーを噴射する噴射口を有し該吸引力を生成しない第二の経路と、該第一の経路と該第二の経路とを適宜選択できる選択部と、を備える掃除器具が提供される。
【0008】
該吸引力生成部は、エジェクターと、該エジェクターと該エアガンの噴出口とを連通する高圧エアー経路と、該エジェクターで生成される負圧を該ゴミ収集部に連通する負圧経路と、を備え、該ノズル部は、該ゴミ収集部に連通するゴミ経路を備えることが好ましい。また、該吸引力生成部は、該負圧経路と連結される負圧室を備え、該ゴミ収集部は、該ゴミ経路と連結されるゴミ室を備え、該負圧室と該ゴミ室は着脱自在に締結されていて、該負圧室から分離して該ゴミ室に溜まったゴミを適宜捨てられることが好ましい。
【0009】
該負圧室と該ゴミ室を仕切る位置にフィルターが配設されることが好ましい。該第二の経路は、該ノズル部に連通されるようにしてもよい。
【発明の効果】
【0010】
本発明の掃除器具は、被加工物を保持する保持手段と、該保持手段に保持された被加工物を加工する加工手段と、高圧エアーを噴射する噴出口を有する噴射ノズルを備えたエアガンと、を含む加工装置で使用される掃除器具であって、ゴミを吸引する吸引口を備えたノズル部と、該ノズル部に吸引力を生成する吸引力生成部と、該吸引力生成部によって生成された吸引力によって該ノズル部から吸引されたゴミを収集するゴミ収集部と、該エアガンの噴射ノズルが装着される装着部と、該装着部から高圧エアーを導き該吸引力を生成するための第一の経路と、該装着部から導入された高圧エアーを噴射する噴射口を有し該吸引力を生成しない第二の経路と、該第一の経路と該第二の経路とを適宜選択できる選択部と、を備えることから、選択部を操作して、高圧エアーの流路を、第一の経路と、第二の経路とに適宜選択できることから、飛散した破片、水、ゴミ等がクリンルーム等の周辺環境を汚染するおそれがある場合には、該選択部を操作して、該第一の経路に高圧エアーを供給することで、ノズル部に吸引力を生成して所望の領域の掃除を可能とし、ウエーハ又は切削装置の加工室を含む領域に付着した破片、水、ゴミ等を吹き飛ばす場合には、上記の選択部を操作して、該第二の経路に高圧エアーを供給することで、噴射管の噴射口から高圧エアーを噴射することが可能になり、エアガンのみでは、クリンルーム内を効果的に清浄な状態に維持することが出来ないという問題が解消される。
【図面の簡単な説明】
(【0011】以降は省略されています)
この特許をJ-PlatPat(特許庁公式サイト)で参照する
関連特許
株式会社ディスコ
焼成炉
1か月前
株式会社ディスコ
切削装置
25日前
株式会社ディスコ
加工装置
1か月前
株式会社ディスコ
研削装置
1か月前
株式会社ディスコ
加工装置
16日前
株式会社ディスコ
処理装置
1か月前
株式会社ディスコ
加工装置
1か月前
株式会社ディスコ
加工方法
1か月前
株式会社ディスコ
加工装置
19日前
株式会社ディスコ
加工装置
24日前
株式会社ディスコ
加工装置
1か月前
株式会社ディスコ
加工装置
1か月前
株式会社ディスコ
加工装置
4日前
株式会社ディスコ
加工装置
3日前
株式会社ディスコ
掃除器具
3日前
株式会社ディスコ
掃除器具
3日前
株式会社ディスコ
切削装置
1か月前
株式会社ディスコ
処理方法
3日前
株式会社ディスコ
搬送システム
1か月前
株式会社ディスコ
搬送システム
1か月前
株式会社ディスコ
搬送システム
3日前
株式会社ディスコ
搬送システム
1か月前
株式会社ディスコ
搬送システム
3日前
株式会社ディスコ
搬送システム
3日前
株式会社ディスコ
シート固着装置
18日前
株式会社ディスコ
レーザー加工装置
18日前
株式会社ディスコ
保護部材形成装置
1か月前
株式会社ディスコ
抗折強度測定装置
1か月前
株式会社ディスコ
液状樹脂供給装置
1か月前
株式会社ディスコ
保護部材形成装置
1か月前
株式会社ディスコ
配線引き抜き治具
1か月前
株式会社ディスコ
加工室の洗浄方法
27日前
株式会社ディスコ
スピンドルユニット
16日前
株式会社ディスコ
カーフチェック方法
1か月前
株式会社ディスコ
ウェーハの分割方法
1か月前
株式会社ディスコ
ウエーハの加工方法
1か月前
続きを見る
他の特許を見る