TOP
|
特許
|
意匠
|
商標
特許ウォッチ
Twitter
他の特許を見る
10個以上の画像は省略されています。
公開番号
2025157935
公報種別
公開特許公報(A)
公開日
2025-10-16
出願番号
2024060300
出願日
2024-04-03
発明の名称
液状樹脂供給装置
出願人
株式会社ディスコ
代理人
弁理士法人東京アルパ特許事務所
主分類
B05C
11/10 20060101AFI20251008BHJP(霧化または噴霧一般;液体または他の流動性材料の表面への適用一般)
要約
【課題】粘度に関わらず所定量の液状樹脂を供給することができる液状樹脂供給装置を提供すること。
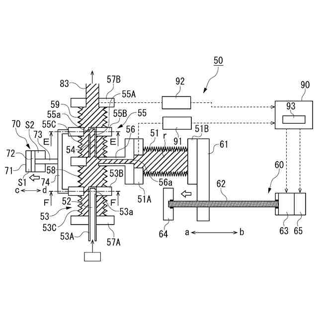
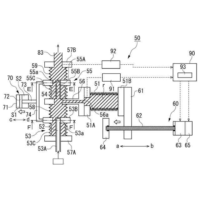
【解決手段】液状樹脂rを収容するシリンダ51と、該シリンダ51の容積を増減させるシリンダ容積増減機構60と、シリンダ51に液状樹脂rを吸入させる吸入路52と、該吸入路52を開閉する吸入バルブ53と、シリンダ51から液状樹脂rを吐出する吐出路54と、該吐出路54を開閉する吐出バルブ55を含んで構成されるディスペンサ50を備える液状樹脂供給装置は、シリンダ51内の圧力を測定する圧力センサ91と、シリンダ51の圧力を所定の設定値に設定する圧力設定部93と、圧力センサ91によって測定される圧力が設定値を維持するようにシリンダ容積増減機構60によるシリンダ51の容積減少速度を制御する制御部90を備える。
【選択図】図6
特許請求の範囲
【請求項1】
液状樹脂を収容するシリンダと、
該シリンダの容積を増減させるシリンダ容積増減機構と、
前記シリンダに液状樹脂を吸入させる吸入路と、
該吸入路を開閉する吸入バルブと、
前記シリンダから液状樹脂を吐出する吐出路と、
該吐出路を開閉する吐出バルブと、
を含んで構成されるディスペンサを備える液状樹脂供給装置であって、
前記シリンダ内または前記吐出路内の圧力を測定する圧力センサと、
前記シリンダ内または前記吐出路内の圧力を所定の設定値に設定する圧力設定部と、
前記圧力センサによって測定される圧力が前記設定値を維持するように前記シリンダ容積増減機構による前記シリンダの容積減少速度を制御する制御部と、
を備えることを特徴とする液状樹脂供給装置。
発明の詳細な説明
【技術分野】
【0001】
本発明は、シリンダの伸縮によるポンピング作用によって所定量の液状樹脂を供給するディスペンサを備える液状樹脂供給装置に関する。
続きを表示(約 2,000 文字)
【背景技術】
【0002】
例えば、電子機器に用いられるICやLSIなどの半導体デバイスの製造に用いられるウェーハは、シリコンなどの単結晶のインゴットからブレードソーやワイヤーソーなどの切断装置によって切り出されたスライスウェーハを研削装置や研磨装置によって両面を平坦化することによって得られている。そして、このように両面が平坦化されたウェーハの表面にICやLSIなどのデバイスが形成され、これらのデバイスが形成されたウェーハの裏面が研削されて該ウェーハが所定の厚みに薄化され、薄化されたウェーハがダイシングソーなどによって切断されて個々のデバイスに分割されている。
【0003】
ところで、インゴットから切り出されたスライスウェーハには、ブレードソーなどの切断装置による切断加工時に両面に発生する加工歪の大きさの違いによる反りと、両面の表層に生じるうねりを有している。このため、スライスウェーハの一方の面に紫外線硬化性樹脂などの保護部材を形成してその面を平坦化し、この保護部材の平坦な一方の面をチャックテーブルの保持面で保持した状態でスライスウェーハの他方の面を研削して該他方の面を平坦化した後、該スライスウェーハから保護部材を剥ぎ取り、平坦な他方の面をチャックテーブルの保持面で保持した状態で該スライスウェーハの一方の面を研削して平坦な面とする加工方法が実施されている。
【0004】
上記加工方法において、スライスウェーハ(以下、単に「ウェーハ」と称する)の一方の面に保護部材を形成するための保護部材形成装置が特許文献1,2などにおいて提案されている。この保護部材形成装置は、ディスペンサによって所定量の液状樹脂をテーブル上に載置されたシート上に供給し、テーブルの上方でウェーハを保持した保持テーブルを下降させ、ウェーハで液状樹脂を押し広げた後に該液状樹脂を硬化させることによって、ウェーハの一方の面全面に硬化樹脂とシートで構成される保護部材を形成するものである。
【0005】
ここで、ディスペンサは、液状樹脂を収容する伸縮可能なシリンダと、該シリンダの容積を増減させるシリンダ容積増減機構と、シリンダに液状樹脂を吸入させる吸入路と、該吸入路を開閉する吸入バルブと、シリンダから液状樹脂を吐出する吐出路と、該吐出路を開閉する吐出バルブを含んで構成されている。
【先行技術文献】
【特許文献】
【0006】
特開2013-141639号公報
特開2023-181574号公報
【発明の概要】
【発明が解決しようとする課題】
【0007】
ところで、ディスペンサを備える液状樹脂供給装置においては、ウェーハによって液状樹脂の粘度を変えることがあり、液状樹脂の粘度が高くなると、この液状樹脂を吐出する圧力が高くなるため、シリンダや吐出路、吐出バルブなどのシール部分から液状樹脂が漏れ、所定量の液状樹脂をシートに供給することができないためにウェーハの一方の面に所定厚みの樹脂層を形成することができないという問題が発生する。
【0008】
本発明は、上記問題に鑑みてなされたもので、その目的は、粘度に関わらず所定量の液状樹脂を供給することができる液状樹脂供給装置を提供することにある。
【0009】
上記課題を解決するための本発明は、液状樹脂を収容するシリンダと、該シリンダの容積を増減させるシリンダ容積増減機構と、前記シリンダに液状樹脂を吸入させる吸入路と、該吸入路を開閉する吸入バルブと、前記シリンダから液状樹脂を吐出する吐出路と、該吐出路を開閉する吐出バルブと、を含んで構成されるディスペンサを備える液状樹脂供給装置であって、前記シリンダ内または前記吐出路内の圧力を測定する圧力センサと、前記シリンダ内または前記吐出路内の圧力を所定の設定値に設定する圧力設定部と、前記圧力センサによって測定される圧力が前記設定値を維持するように前記シリンダ容積増減機構による前記シリンダの容積減少速度を制御する制御部と、を備えることを特徴とする。
【発明の効果】
【0010】
本発明によれば、圧力センサによって測定されるシリンダ内または吐出路内の圧力が制御部の圧力設定部によって設定された設定値を維持するように、制御部によってシリンダ容積増減機構によるシリンダの容積減少速度を制御するようにしたため、シリンダや吐出路、吐出バルブなどのシール部分からの液状樹脂の漏れを防ぐことができ、液状樹脂の粘度に関わらず所定量の液状樹脂を供給することができるという効果が得られる。
【図面の簡単な説明】
(【0011】以降は省略されています)
この特許をJ-PlatPat(特許庁公式サイト)で参照する
関連特許
株式会社ディスコ
焼成炉
23日前
株式会社ディスコ
加工装置
12日前
株式会社ディスコ
研削装置
23日前
株式会社ディスコ
切削装置
18日前
株式会社ディスコ
加工装置
9日前
株式会社ディスコ
加工装置
17日前
株式会社ディスコ
処理装置
23日前
株式会社ディスコ
搬送システム
23日前
株式会社ディスコ
シート固着装置
11日前
株式会社ディスコ
抗折強度測定装置
23日前
株式会社ディスコ
配線引き抜き治具
23日前
株式会社ディスコ
加工室の洗浄方法
20日前
株式会社ディスコ
レーザー加工装置
11日前
株式会社ディスコ
スピンドルユニット
9日前
株式会社ディスコ
被加工物の加工方法
17日前
株式会社ディスコ
シリアル接続システム
9日前
株式会社ディスコ
洗浄装置及び洗浄方法
4日前
株式会社ディスコ
キャリア板の除去方法
11日前
株式会社ディスコ
処理装置及び検知方法
18日前
株式会社ディスコ
加工方法、及び研磨装置
11日前
株式会社ディスコ
研削装置および研削方法
18日前
株式会社ディスコ
走査光学系及び光学処理装置
17日前
株式会社ディスコ
貼り合わせウェーハの加工方法
23日前
株式会社ディスコ
フィルターハウジングホルダー
9日前
株式会社ディスコ
ウェーハの研削方法及び研削装置
24日前
株式会社ディスコ
ウェーハの加工方法及び切削装置
17日前
株式会社ディスコ
ウェーハの加工方法及び加工装置
17日前
株式会社ディスコ
カーフチェック方法及び加工装置
11日前
株式会社ディスコ
支持部材及び処理対象物の処理方法
9日前
株式会社ディスコ
切削装置、及び被加工物の切削方法
9日前
株式会社ディスコ
パッケージデバイスチップの製造方法
9日前
株式会社ディスコ
ブレード直径算出方法、及び、加工装置
2日前
株式会社ディスコ
ウェーハ洗浄装置と加工装置及び加工方法
11日前
株式会社ディスコ
バイト工具、およびバイト工具の製造方法
20日前
株式会社ディスコ
ノズル、切削装置及び被加工物の加工方法
10日前
株式会社ディスコ
砥石、研削ホイール、及び、砥石の製造方法
18日前
続きを見る
他の特許を見る