TOP
|
特許
|
意匠
|
商標
特許ウォッチ
Twitter
他の特許を見る
10個以上の画像は省略されています。
公開番号
2025162011
公報種別
公開特許公報(A)
公開日
2025-10-27
出願番号
2024065082
出願日
2024-04-15
発明の名称
塗布用ノズルの清掃装置
出願人
中外炉工業株式会社
代理人
個人
主分類
B05C
5/02 20060101AFI20251020BHJP(霧化または噴霧一般;液体または他の流動性材料の表面への適用一般)
要約
【課題】塗布用ノズルの先端面に長手方向に沿って略三角形状に突設された吐出部に設けられたスリット状の吐出口から塗液を吐出させて、被塗布体の表面に塗液を塗布させた後に吐出部に残った塗液を、簡単な清掃部材により簡単な操作で綺麗に清掃できるようにする。
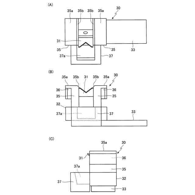
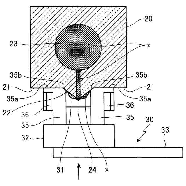
【解決手段】塗布用ノズル20の先端面21において略三角形状に突設された吐出部22の形状に対応する接触部材31が設けられた清掃部材30に、前記の接触部材を吐出部の位置に対応した位置に位置決めする位置決め手段を設け、前記の位置決め手段により、接触部材を吐出部の対応した位置に位置決めした状態で、清掃部材を手動により塗布用ノズルの長手方向に設けられた前記の吐出部に沿って移動させて、接触部材により塗布用ノズルの吐出部に残った塗液を除去する。
【選択図】図8
特許請求の範囲
【請求項1】
塗布用ノズルの先端面に長手方向に沿って略三角形状に突設された吐出部にスリット状の吐出口が設けられた塗布用ノズルを用い、前記の塗布用ノズルをその長さ方向と直交する方向に移動させながら、塗布用ノズルの吐出部に設けられたスリット状の吐出口から塗液を被塗布体の表面に吐出させて、被塗布体の表面に塗液を塗布した後、塗布用ノズルの吐出部を清掃する塗布用ノズルの清掃装置において、前記の塗布用ノズルの吐出部の形状に対応した接触部材が設けられた清掃部材に、前記の接触部材を前記の吐出部の位置に対応した位置に位置決めする位置決め手段を設け、前記の位置決め手段により、前記の接触部材を前記の吐出部の対応した位置に位置決めした状態で、前記の清掃部材を手動により塗布用ノズルの長手方向に設けられた前記の吐出部に沿って移動させて、前記の接触部材により塗布用ノズルの吐出部に残った塗液を除去することを特徴とする塗布用ノズルの清掃装置。
続きを表示(約 910 文字)
【請求項2】
請求項1に記載の塗布用ノズルの清掃装置において、前記の位置決め手段として、前記の接触部材を前記の塗布用ノズルの長手方向と直交する方向にスライド可能にする保持部材を設けたことを特徴とする塗布用ノズルの清掃装置。
【請求項3】
請求項1に記載の塗布用ノズルの清掃装置において、前記の位置決め手段として、前記の塗布用ノズルの吐出部の両側における塗布用ノズルの先端面に接触する位置決め部材を、前記の接触部材の両側に設けたことを特徴とする塗布用ノズルの清掃装置。
【請求項4】
請求項1~請求項3の何れか1項に記載の塗布用ノズルの清掃装置において、前記の接触部材の両側における清掃部材に磁石部材を配置させ、前記の磁石部材により接触部材の両側の清掃部材を塗布用ノズルの吐出部の両側に磁気吸着させることを特徴とする塗布用ノズルの清掃装置。
【請求項5】
請求項1~請求項3の何れか1項に記載の塗布用ノズルの清掃装置において、前記の塗布用ノズルの長手方向に沿って塗布用ノズルの側面部にガイド溝を設ける一方、前記の清掃部材の側面側に、前記のガイド溝に係合させる位置決めピンを有するガイド部材を設け、前記の位置決めピンを前記のガイド溝に係合させた状態で、前記の清掃部材を塗布用ノズルの長手方向に設けられた前記の吐出部に沿って移動させることを特徴とする塗布用ノズルの清掃装置。
【請求項6】
請求項1~請求項3の何れか1項に記載の塗布用ノズルの清掃装置において、前記の塗布用ノズルの吐出部の形状に対応した接触部材を、前記の清掃部材を塗布用ノズルの長手方向に沿って移動させる方向に向けて傾斜させたことを特徴とする塗布用ノズルの清掃装置。
【請求項7】
請求項1~請求項3の何れか1項に記載の塗布用ノズルの清掃装置において、前記の接触部材によって塗布用ノズルの吐出部から掻き取られた塗液を収容させる塗液収容部材を、前記の接触部材よりも塗布用ノズルの長手方向に沿って清掃部材を移動させる方向の前方側に設けたことを特徴とする塗布用ノズルの清掃装置。
発明の詳細な説明
【技術分野】
【0001】
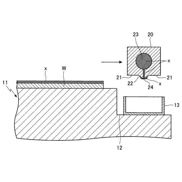
本発明は、塗布用ノズルの先端面に長手方向に沿って略三角形状に突設された吐出部にスリット状の吐出口が設けられた塗布用ノズルを用い、前記の塗布用ノズルをその長さ方向と直交する方向に移動させながら、塗布用ノズルの吐出部に設けられたスリット状の吐出口から塗液を被塗布体の表面に吐出させて、被塗布体の表面に塗液を塗布した後、塗布用ノズルの吐出部を清掃する塗布用ノズルの清掃装置に関するものである。特に、塗布用ノズルの先端面に長手方向に沿って略三角形状に突設された吐出部に設けられたスリット状の吐出口から塗液を吐出させて、被塗布体の表面に塗液を塗布させた後、スリット状の吐出口が設けられた前記の吐出部に残った塗液を、簡単な装置を用いて、簡単な操作で綺麗に清掃できるようにした点に特徴を有するものである。
続きを表示(約 1,900 文字)
【背景技術】
【0002】
各種のディスプレーパネル等を製造するにあたり、従来から、塗布用ノズルの先端面に長手方向に沿って略三角形状に突設された吐出部にスリット状の吐出口が設けられた塗布用ノズルを使用し、ステージ上にセットされた被塗布体の上において、前記の塗布用ノズルをその長さ方向と直交する方向に移動させながら、前記の吐出部におけるスリット状の吐出口から塗液を被塗布体の表面に吐出させて、被塗布体の表面に塗液を塗布するようにしている。
【0003】
ここで、前記のようにして塗布用ノズルにより被塗布体の表面に塗液を塗布させた場合、スリット状の吐出口が設けられた塗布用ノズルの吐出部に塗液が部分的に残った状態になる。
【0004】
そして、このように吐出口が設けられた塗布用ノズルの吐出部に塗液が部分的に残った状態で、塗布用ノズルにより次の被塗布体の表面に塗液を塗布するようにした場合には、塗布用ノズルの吐出部に残った塗液によって、次の被塗布体の表面に塗布された塗液に筋状の塗布むらや塗工膜厚の乱れ等が発生するという問題があった。
【0005】
このため、前記のように塗布用ノズルの吐出部に残った塗液を除去するために、特許文献1~3においては、塗布用ノズルの吐出部の形状に対応した形状になったブレード等の接触部材が設けられた清掃用部材をベルトコンベア等の移動装置によって移動させるようにした清掃装置を別の位置に設け、吐出部に塗液が残った塗布用ノズルを前記の清掃装置の位置に導き、塗液が残った塗布用ノズルの吐出部に前記のブレード等の清掃用部材を接触させた状態で、前記の移動装置によって清掃用部材を、塗布用ノズルの長さ方向に沿って移動させ、塗布用ノズルの吐出部に残った塗液を除去するようにしたものが示されている。
【0006】
しかし、前記の特許文献1~3のものにおいては、清掃装置を別の位置に予め設けることが必要になると共に、ブレード等の接触部材が設けられた清掃用部材をベルトコンベア等の移動装置によって移動させるようにしたため、装置が大型化して、設備コストが高くつき、実験用や少量生産用の装置に適しておらず、またランニングコストも高くつくなどの問題があった。
【先行技術文献】
【特許文献】
【0007】
特開2021-41322号公報
特開2021-115490号公報
特開2018-187598号公報
【発明の開示】
【発明が解決しようとする課題】
【0008】
本発明は、塗布用ノズルの先端面に長手方向に沿って略三角形状に突設された吐出部にスリット状の吐出口が設けられた塗布用ノズルを用い、前記の塗布用ノズルをその長さ方向と直交する方向に移動させながら、塗布用ノズルの吐出部に設けられたスリット状の吐出口から塗液を被塗布体の表面に吐出させて、被塗布体の表面に塗液を塗布した後、塗布用ノズルの吐出部を清掃する塗布用ノズルの清掃装置における前記のような問題を解決することを課題とするものである。
【0009】
すなわち、本発明は、前記のような塗布用ノズルの清掃装置において、塗布用ノズルの吐出部に設けられたスリット状の吐出口から塗液を被塗布体の表面に吐出させて、被塗布体の表面に塗液を塗布した後、塗布用ノズルの吐出部に残った塗液を簡単な清掃部材を用いて、簡単な操作で綺麗に清掃できるようにすることを課題とするものである。
【課題を解決するための手段】
【0010】
本発明に係る塗布用ノズルの清掃装置においては、前記のような課題を解決するため、塗布用ノズルの先端面に長手方向に沿って略三角形状に突設された吐出部にスリット状の吐出口が設けられた塗布用ノズルを用い、前記の塗布用ノズルをその長さ方向と直交する方向に移動させながら、塗布用ノズルの吐出部に設けられたスリット状の吐出口から塗液を被塗布体の表面に吐出させて、被塗布体の表面に塗液を塗布した後、塗布用ノズルの吐出部を清掃する塗布用ノズルの清掃装置において、前記の塗布用ノズルの吐出部の形状に対応した接触部材が設けられた清掃部材に、前記の接触部材を前記の吐出部の位置に対応した位置に位置決めする位置決め手段を設け、前記の位置決め手段により、前記の接触部材を前記の吐出部の対応した位置に位置決めした状態で、前記の清掃部材を手動により塗布用ノズルの長手方向に設けられた前記の吐出部に沿って移動させて、前記の接触部材により塗布用ノズルの吐出部に残った塗液を除去するようにした。
(【0011】以降は省略されています)
この特許をJ-PlatPat(特許庁公式サイト)で参照する
関連特許
中外炉工業株式会社
熱処理炉
1か月前
中外炉工業株式会社
ダスト処理設備
1日前
中外炉工業株式会社
塗布用ノズルの清掃装置
4日前
ベック株式会社
被膜形成方法
24日前
ベック株式会社
被膜形成方法
4か月前
ベック株式会社
被膜形成方法
4か月前
有限会社 芦屋ドレス
湯噴霧器
9日前
スズカファイン株式会社
多色性塗膜
1か月前
アイカ工業株式会社
塗料仕上げ工法
1か月前
株式会社吉野工業所
キャップ
3か月前
ベック株式会社
装飾被膜の形成方法
2か月前
個人
スプレー缶高所対応携帯ホルダー
1か月前
プルガティオ株式会社
噴霧装置
4か月前
プルガティオ株式会社
噴霧装置
4か月前
株式会社カネカ
塗布装置
1か月前
日本ライナー株式会社
塗装装置
1か月前
トヨタ自動車株式会社
塗布装置
1か月前
能美防災株式会社
水噴霧ヘッド
28日前
プルガティオ株式会社
噴霧装置
4か月前
ヒット工業株式会社
マスキング具
2か月前
株式会社吉野工業所
ポンプ式吐出器
3か月前
中外炉工業株式会社
塗工装置
3か月前
ブラザー工業株式会社
塗工装置
21日前
東レエンジニアリング株式会社
スリットダイ
24日前
ブラザー工業株式会社
塗工装置
21日前
ブラザー工業株式会社
塗工装置
21日前
東レエンジニアリング株式会社
粉体吐出装置
22日前
株式会社吉野工業所
吐出器
3か月前
株式会社吉野工業所
吐出器
4か月前
旭サナック株式会社
粉体塗装装置
1か月前
株式会社大関
塗装用ローラとその製造方法
4か月前
積水ハウス株式会社
接着剤塗布装置
2か月前
株式会社トーモク
印刷装置および印刷方法
1か月前
トリニティ工業株式会社
回転霧化式塗装機
28日前
個人
散水形態を変更可能な吐水装置
29日前
トヨタ自動車株式会社
間欠塗工装置
3日前
続きを見る
他の特許を見る