TOP
|
特許
|
意匠
|
商標
特許ウォッチ
Twitter
他の特許を見る
公開番号
2025140377
公報種別
公開特許公報(A)
公開日
2025-09-29
出願番号
2024039737
出願日
2024-03-14
発明の名称
熱処理炉
出願人
中外炉工業株式会社
代理人
個人
主分類
F27D
7/06 20060101AFI20250919BHJP(炉,キルン,窯;レトルト)
要約
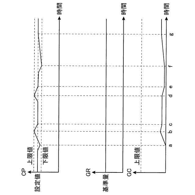
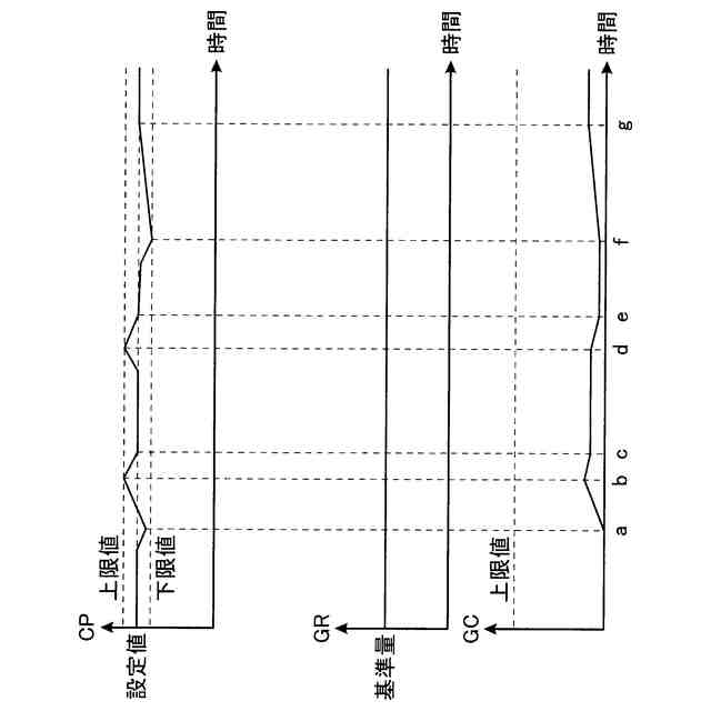
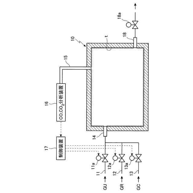
【課題】 窒素ガスを主成分とする不活性ガスと吸熱型変性ガスを用いて、被処理物を炉内において熱処理するにあたり、吸熱型変性ガスの量を大きく変化させることなく、雰囲気ガスにおけるカーボンポテンシャルの指標値CPを簡単に調整できるようにする。
【解決手段】 炉10内における雰囲気ガスに、窒素ガスを主成分とする不活性ガスGUと吸熱型変性ガスGRを用いて、被処理物を炉内において熱処理する熱処理炉において、前記の雰囲気ガスにおけるカーボンポテンシャルの指標値CP[(CO濃度)
2
/(CO
2
濃度)]を調整するにあたって、炭化水素ガスGCを添加させるようにした。
【選択図】 図2
特許請求の範囲
【請求項1】
炉内における雰囲気ガスに、窒素ガスを主成分とする不活性ガスと吸熱型変性ガスを用いて、被処理物を炉内において熱処理する熱処理炉において、前記の雰囲気ガスにおけるカーボンポテンシャルの指標値CP[(CO濃度)
2
/(CO
2
濃度)]を調整するにあたって、炭化水素ガスを添加させることを特徴とする熱処理炉。
続きを表示(約 530 文字)
【請求項2】
請求項1に記載の熱処理炉において、炭化水素ガスを添加させて、雰囲気ガスにおけるカーボンポテンシャルの指標値CPを調整しながら、熱処理時における被処理物の表面の炭素濃度の変化を抑制することを特徴とする熱処理炉。
【請求項3】
請求項1に記載の熱処理炉において、雰囲気ガスに添加させる前記の炭化水素ガスの量を、炉内においてスーティングが発生しない規定値以下にすることを特徴とする熱処理炉。
【請求項4】
請求項3に記載の熱処理炉において、雰囲気ガスに添加させる前記の炭化水素ガスの量を、前記の吸熱型変性ガスの5vol%以下にすることを特徴とする熱処理炉。
【請求項5】
請求項3に記載の熱処理炉において、雰囲気ガスに添加させる炭化水素ガスの量を前記の規定値以下にした状態で、雰囲気ガスにおける窒素ガスを主成分とする不活性ガスの量を変化させて、雰囲気ガスにおけるカーボンポテンシャルの指標値CPを調整することを特徴とする熱処理炉。
【請求項6】
請求項1、2、3、5に記載の熱処理炉において、前記の炉の内面に、前記の炭化水素ガスの分解を促進する金属触媒を塗布することを特徴とする熱処理炉。
発明の詳細な説明
【技術分野】
【0001】
本発明は、ワイヤーなどの線材をまとめたコイル等の被処理物を、炉内において雰囲気ガス中で熱処理する熱処理炉に関するものである。特に、炉内における雰囲気ガスに、窒素ガスを主成分とする不活性ガスと吸熱型変性ガスを用いて、被処理物を炉内において熱処理する熱処理炉において、吸熱型変性ガスの量を大きく変化させることなく、雰囲気ガスにおけるカーボンポテンシャルの指標値CP[(CO濃度)
2
/(CO
2
濃度)]を簡単に調整できるようにした点に特徴を有するものである。
続きを表示(約 1,300 文字)
【背景技術】
【0002】
従来から、ワイヤーなどの線材をまとめたコイル等の被処理物を、炉内において雰囲気ガス中で無酸化熱処理させて焼鈍させるようにした熱処理炉が使用されている。
【0003】
また、表面が酸化されているような被処理物を熱処理するにあたり、従来においては、熱処理炉として、特許文献1においては、炉内における雰囲気ガスのカーボンポテンシャルの指標値CP[(CO濃度)
2
/(CO
2
濃度)]を調整するにあたって、炉内に供給する吸熱型変性ガスのガス量を制御するようにしたものが、また特許文献2においては、金属の焼鈍処理を行うのに、還元性雰囲気ガスとして、COガスを含んだ吸熱型変性ガスを窒素と混合して使用し、前記のカーボンポテンシャルの指標値CPを制御して、被処理物である金属の表面に脱炭や浸炭が起こるのを防止することが示されている。
【0004】
ここで、前記の特許文献1、2に示されるように、炉内における雰囲気ガスのカーボンポテンシャルの指標値CPを、炉内に供給する吸熱型変性ガスの量によって制御する場合には、吸熱型変性ガスを製造して炉内に供給させる量を変更させることが必要になる。
【0005】
しかし、吸熱型変性ガスを製造する装置はコストが非常に高くつくと共に、吸熱型変性ガスの製造量を変更させたりする場合におけるランニングコスト等も高くつき、炉内における雰囲気ガスのカーボンポテンシャルの指標値を吸熱型変性ガスのガス量によって制御することはコスト等の面で非常に不利であった。
【0006】
そこで、本発明ではコストの安い炭化水素ガスを吸熱型変性ガスと併用し、炭化水素ガスのガス量によって、炉内における雰囲気ガスのカーボンポテンシャルの指標値を制御することとした。
【0007】
なお、炭化水素ガスを大量に用いると、炉内における雰囲気ガス中の炭素成分が増え、炉内においてスーディングが発生し、被処理物を汚してしまう恐れがある。
【0008】
しかし、今回、発明者の経験に基づくと、炭化水素ガスの量が吸熱型変性ガスの5vol%以下であればスーディングが発生しなくなることがわかり、1vol%以下であれば確実にスーディングが発生しないことがわかった。
【先行技術文献】
【特許文献】
【0009】
特開2005-76986号公報
特開2019-189942号公報
【発明の開示】
【発明が解決しようとする課題】
【0010】
本発明は、ワイヤーなどの線材をまとめたコイル等の被処理物を、炉内において雰囲気ガス中で熱処理させて焼鈍させるようにした熱処理炉において、炉内における雰囲気ガスに、窒素ガスを主成分とする不活性ガスと吸熱型変性ガスを用いて、被処理物を炉内において熱処理する場合における前記のような問題を解決することを課題とするものである。
(【0011】以降は省略されています)
この特許をJ-PlatPat(特許庁公式サイト)で参照する
関連特許
中外炉工業株式会社
熱処理炉
2日前
中外炉工業株式会社
ガス発生装置及び窒化装置
22日前
中外炉工業株式会社
蓄熱ユニット及び蓄熱式燃焼設備
1か月前
中外炉工業株式会社
ラダー回路生成支援プログラム及び装置
1か月前
株式会社サンコー
浸漬ヒーター
13日前
東京窯業株式会社
セッター
4か月前
中外炉工業株式会社
熱処理炉
2日前
株式会社プロテリアル
スラグ除滓装置
9か月前
中外炉工業株式会社
処理炉
3か月前
ノリタケ株式会社
連続加熱炉
5か月前
ノリタケ株式会社
熱処理装置
2か月前
ノリタケ株式会社
連続加熱炉
5か月前
ノリタケ株式会社
サヤ
3か月前
ファーネス重工株式会社
熱風循環炉
5か月前
株式会社不二越
搬送システム
4か月前
ノリタケ株式会社
熱処理装置
4か月前
ノリタケ株式会社
熱処理装置
1か月前
有限会社ヨコタテクニカ
リフロー炉
1か月前
ノリタケ株式会社
熱処理装置
2か月前
ノリタケ株式会社
連続加熱炉
5か月前
ノリタケ株式会社
熱処理装置
2か月前
ノリタケ株式会社
熱処理装置
2か月前
中外炉工業株式会社
連続処理炉
4か月前
成都大学
合金粉末酸化防止熱処理装置
6か月前
特殊電極株式会社
インゴット予熱装置
4か月前
DiV株式会社
赤外線加熱装置
4か月前
大同特殊鋼株式会社
溶解炉
10か月前
三菱重工業株式会社
炉設備
6か月前
株式会社不二越
圧力制御システム
5か月前
株式会社豊田中央研究所
加熱装置
23日前
ノリタケ株式会社
熱処理設備
1か月前
ノリタケ株式会社
ロータリーキルン
12か月前
大同特殊鋼株式会社
回転炉の異物検出装置
4か月前
三建産業株式会社
非鉄金属溶解方法
4か月前
ノリタケ株式会社
熱処理設備
1か月前
大同特殊鋼株式会社
熱処理設備
4か月前
続きを見る
他の特許を見る