TOP
|
特許
|
意匠
|
商標
特許ウォッチ
Twitter
他の特許を見る
公開番号
2025147796
公報種別
公開特許公報(A)
公開日
2025-10-07
出願番号
2024048222
出願日
2024-03-25
発明の名称
スリットダイ
出願人
東レエンジニアリング株式会社
代理人
主分類
B05C
5/02 20060101AFI20250930BHJP(霧化または噴霧一般;液体または他の流動性材料の表面への適用一般)
要約
【課題】マニホールドにおいて塗布液に含まれる粒子が沈降することを抑制することができるスリットダイを提供することを目的としている。
【解決手段】一方向に長く形成され、塗布液を溜めるマニホールドと、スリットを経由して前記マニホールドと繋がり、塗布液を吐出する吐出口と、を備えるスリットダイであって、前記マニホールドに出し入れされることにより前記マニホールドの容積を調節するブロック部を備えており、前記ブロック部は、前記マニホールドの長手方向に並んで複数設けられており、前記長手方向における前記スリットの寸法に応じて前記ブロック部それぞれが前記マニホールドに出し入れされる構成とする。
【選択図】図2
特許請求の範囲
【請求項1】
一方向に長く形成され、塗布液を溜めるマニホールドと、
スリットを経由して前記マニホールドと繋がり、塗布液を吐出する吐出口と、を備えるスリットダイであって、
前記マニホールドに出し入れされることにより前記マニホールドの容積を調節するブロック部を備えており、
前記ブロック部は、前記マニホールドの長手方向に並んで複数設けられており、前記長手方向における前記スリットの寸法に応じて前記ブロック部それぞれが前記マニホールドに出し入れされることを特徴とするスリットダイ。
続きを表示(約 310 文字)
【請求項2】
前記ブロック部は、前記長手方向における断面が、前記長手方向における前記マニホールドの断面と略同一の形状を有しており、前記ブロック部により前記マニホールドにおいて塗布液を溜める貯液領域の端部を規定することを特徴とする請求項1に記載のスリットダイ。
【請求項3】
前記ブロック部それぞれは、前記マニホールドへの挿入量が個別に調節されることを特徴とする請求項1又は請求項2に記載のスリットダイ。
【請求項4】
前記ブロック部それぞれには、前記マニホールドに前記ブロック部を出し入れさせる電動アクチュエータが接続されていることを特徴とする請求項3に記載のスリットダイ。
発明の詳細な説明
【技術分野】
【0001】
本発明は、基材に塗布液を塗布するスリットダイに関するものである。
続きを表示(約 2,000 文字)
【背景技術】
【0002】
リチウムイオン電池の正極、負極を形成する塗布装置では、搬送されるアルミ箔や、銅箔などのシート状の基材に対して、活物質、バインダー、導電助剤を溶剤によって混合させたスラリー(以下、塗布液)を塗布して塗膜を形成し、乾燥装置によって形成した塗膜を乾燥させている。
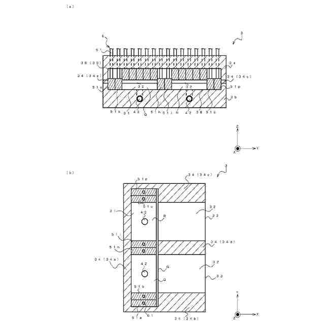
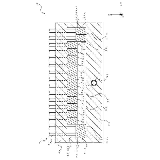
【0003】
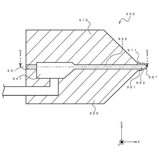
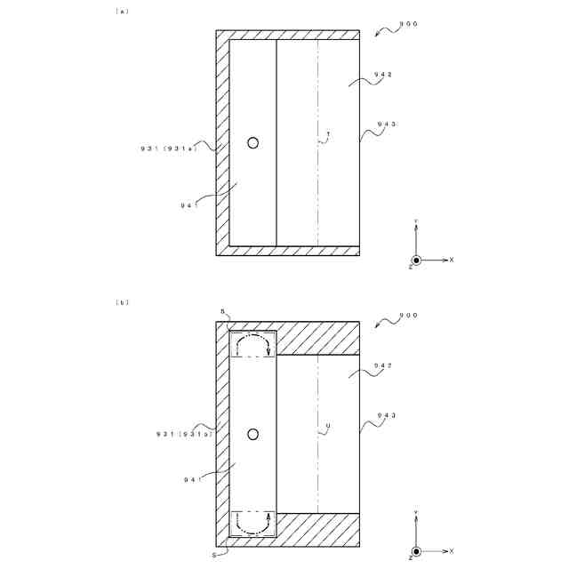
このような塗布装置には、塗布液を塗布するためのスリットダイが設けられている。スリットダイ900は、一方向に長く形成されており、図6に示すように、先細り形状である第1リップ911を有する第1分割体910と、先細り形状である第2リップ921を有する第2分割体920とを、これらの間にシム931を挟んで組み合わせて構成されている。図6および図7(a)(図6のC―C矢視断面図)に示すように、スリットダイ900は、その内部に、スリットダイ900の長手方向に長く形成され塗布液を溜めるマニホールド941と、マニホールド941と繋がるスリット942と、が形成されている。また、第1リップ911と第2リップ921との間には、スリット942の開放端である吐出口943が形成されている。すなわち、マニホールド941に溜められた塗布液951が、スリット942を通じて吐出口943から吐出される(たとえば、下記特許文献1)。
【0004】
そして、スリットダイ900では、塗布する塗布液951の上記長手方向における寸法(以下、塗布幅)が、上記長手方向におけるシム931の内寸によって規定されている。すなわち、図7(a)に示すように、シム931の内寸Tによって上記長手方向におけるスリット942の寸法が規定されており、スリット942の上記長手方向寸法と略同一の塗布幅で塗布液951が基材上に塗布される。
【先行技術文献】
【特許文献】
【0005】
特開2022-041501号公報
【発明の概要】
【発明が解決しようとする課題】
【0006】
しかし、上記スリットダイ900では、塗布液951の塗布条件の変更に対応することが難しいという問題があった。特に、塗布幅を変更する場合において、塗布液951の塗布に不良が生じる場合があった。
【0007】
具体的には、塗布幅の変更は、第1分割体910と第2分割体920とで挟むシム931を交換することにより行われている。たとえば、図7(a)に示す内寸Tを有するシム931aにより規定される塗布幅よりも小さい塗布幅に変更する場合は、内寸Tよりも小さい内寸Uを有するシム931b(図7(b)を参照)にシム931を交換することにより、塗布幅を小さくするようになっている。このように、シム931により塗布幅を変更すると、図7(b)に示すように、マニホールド941においてスリット942よりも上記長手方向に延びた部分、すなわち、塗布液951の流れが低速になり塗布液951が滞留する滞留部Sが形成され、この滞留部Sで塗布液951に含まれる活物質などの粒子が沈降してしまうという場合があった。この状態で、塗布液951を塗布してリチウムイオン電池の製造を行うと、そのリチウムイオン電池の性能が低下してしまうという問題があった。
【0008】
本発明は、上記の問題点を鑑みてなされたものであり、マニホールドにおいて塗布液に含まれる粒子が沈降することを抑制することができるスリットダイを提供することを目的としている。
【課題を解決するための手段】
【0009】
上記課題を解決するための本発明のスリットダイは、一方向に長く形成され、塗布液を溜めるマニホールドと、スリットを経由して前記マニホールドと繋がり、塗布液を吐出する吐出口と、を備えるスリットダイであって、前記マニホールドに出し入れされることにより前記マニホールドの容積を調節するブロック部を備えており、前記ブロック部は、前記マニホールドにおける長手方向に並んで複数設けられており、前記長手方向における前記スリットの寸法に応じて前記ブロック部それぞれが前記マニホールドに出し入れされることを特徴としている。
【0010】
上記スリットダイによれば、複数のブロック部それぞれによって、マニホールドの長手方向におけるスリットの寸法に応じてマニホールドの容積を調節することができるため、マニホールドにおいてスリットよりも上記長手方向に延びた部分、すなわち、塗布液の流れが低速になり塗布液が滞留する滞留部が形成された場合であっても、その滞留部を狭めることができる。これにより、マニホールドにおいて塗布液に含まれる粒子が沈降することを抑制することができる。
(【0011】以降は省略されています)
この特許をJ-PlatPat(特許庁公式サイト)で参照する
関連特許
ベック株式会社
被膜形成方法
1か月前
有限会社 芦屋ドレス
湯噴霧器
15日前
ベック株式会社
装飾被膜の形成方法
3か月前
株式会社吉野工業所
キャップ
4か月前
スズカファイン株式会社
多色性塗膜
1か月前
アイカ工業株式会社
塗料仕上げ工法
1か月前
能美防災株式会社
水噴霧ヘッド
1か月前
日本ライナー株式会社
塗装装置
1か月前
トヨタ自動車株式会社
塗布装置
1か月前
株式会社カネカ
塗布装置
1か月前
個人
スプレー缶高所対応携帯ホルダー
1か月前
ヒット工業株式会社
マスキング具
2か月前
中外炉工業株式会社
塗工装置
3か月前
株式会社吉野工業所
ポンプ式吐出器
4か月前
東レエンジニアリング株式会社
スリットダイ
1か月前
東レエンジニアリング株式会社
粉体吐出装置
28日前
ブラザー工業株式会社
塗工装置
27日前
ブラザー工業株式会社
塗工装置
27日前
ブラザー工業株式会社
塗工装置
27日前
旭サナック株式会社
粉体塗装装置
1か月前
株式会社吉野工業所
吐出器
4か月前
株式会社吉野工業所
吐出器
4か月前
AWJ株式会社
ステンシルプレートセット
2か月前
株式会社トーモク
印刷装置および印刷方法
1か月前
三菱鉛筆株式会社
多液混合型塗布具
3か月前
個人
散水形態を変更可能な吐水装置
1か月前
積水ハウス株式会社
接着剤塗布装置
3か月前
トリニティ工業株式会社
回転霧化式塗装機
1か月前
トヨタ自動車株式会社
間欠塗工装置
9日前
ブラザー工業株式会社
静電塗工装置
27日前
ダイハツ工業株式会社
塗布装置
14日前
中外炉工業株式会社
塗布用ノズルの清掃装置
10日前
株式会社吉野工業所
ノズル部材
4か月前
Mipox株式会社
塗装物の製造方法
2か月前
株式会社吉野工業所
吐出器
2か月前
株式会社吉野工業所
吐出器
3か月前
続きを見る
他の特許を見る