TOP
|
特許
|
意匠
|
商標
特許ウォッチ
Twitter
他の特許を見る
公開番号
2025153096
公報種別
公開特許公報(A)
公開日
2025-10-10
出願番号
2024055388
出願日
2024-03-29
発明の名称
静電塗工装置
出願人
ブラザー工業株式会社
代理人
個人
,
個人
主分類
B05C
5/00 20060101AFI20251002BHJP(霧化または噴霧一般;液体または他の流動性材料の表面への適用一般)
要約
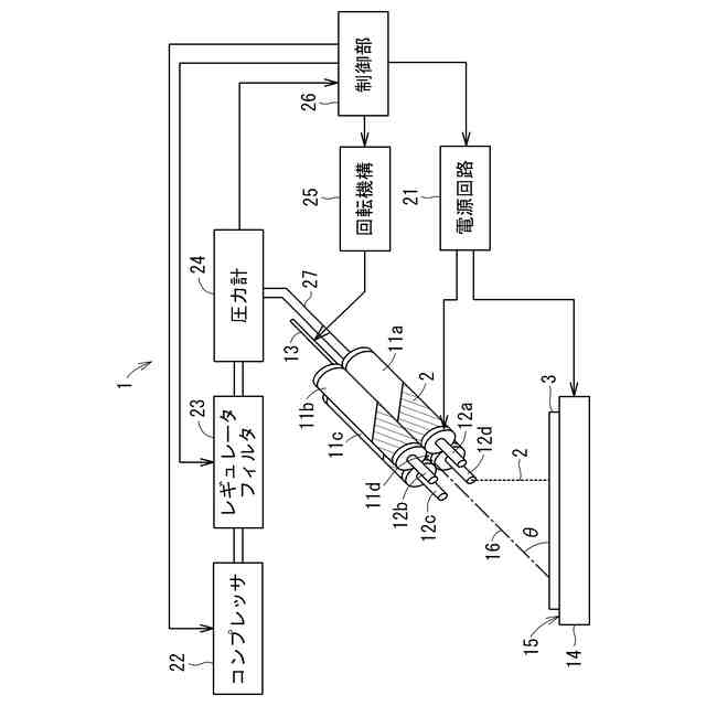
【課題】液体が吐出されるノズルを有するシリンジを容易に切り替え可能とする。
【解決手段】静電塗工装置1は、それぞれが先端にノズル12を有する複数のシリンジ11と、複数のシリンジ11を塗工面15に対して傾斜した回転軸13を中心として回転させ、複数のシリンジ11を複数の停止位置のいずれかに停止させる回転機構25と、シリンジ11と対向電極14との間に電圧を印加する電源回路21と、を備えている。回転機構25の動作によって、複数のシリンジ11のノズル12のうちで対向電極14に最も近いノズルである最接近ノズルが切り替わり、最接近ノズルを有するシリンジ11と対向電極14との間に電源回路21によって電圧が印加される。
【選択図】図1
特許請求の範囲
【請求項1】
それぞれが先端にノズルを有する複数のシリンジと、
上記複数のシリンジを塗工面に対して傾斜した軸を中心として回転させ、上記複数のシリンジを複数の停止位置のいずれかに停止させる回転機構と、
上記シリンジと対向電極との間に電圧を印加する電源回路と、を備え、
上記回転機構の動作によって、上記複数のシリンジのノズルのうちで上記対向電極に最も近いノズルである最接近ノズルが切り替わり、上記最接近ノズルを有するシリンジと上記対向電極との間に上記電源回路によって電圧が印加される静電塗工装置。
続きを表示(約 440 文字)
【請求項2】
上記回転機構の動作によって、上記複数のシリンジが上記複数の停止位置のいずれに停止したときでも、上記最接近ノズルの先端は上記塗工面に平行な仮想平面に投射したときに同じ位置にある請求項1に記載の静電塗工装置。
【請求項3】
上記複数のシリンジが有する複数のノズルは、異なる径を有する請求項1に記載の静電塗工装置。
【請求項4】
上記複数のシリンジには、異なる種類の液体が充填されている請求項1に記載の静電塗工装置。
【請求項5】
上記対向電極をさらに備える請求項1に記載の静電塗工装置。
【請求項6】
上記複数のシリンジのいずれかの後端に空気圧を付与する加圧機構をさらに備え、
上記回転機構の動作によって、上記複数のシリンジが上記複数の停止位置のいずれに停止したときでも、上記最接近ノズルを有するシリンジに上記加圧機構から空気圧が付与される請求項1から5のいずれかに記載の静電塗工装置。
発明の詳細な説明
【技術分野】
【0001】
本発明は、静電塗工装置に関する。
続きを表示(約 1,500 文字)
【背景技術】
【0002】
静電塗工装置は、先端にノズルを有するシリンジと塗工先に位置する対向電極との間に電圧を印加し、帯電した液体を塗工先に引きつけることにより塗工を行う。静電塗工装置では、シリンジの後端に空気圧を付与する場合もある。
【0003】
静電塗工装置に関して、特許文献1には、第1流路に供給した誘電液体をイオン化して噴出させると共に、第1流路の周囲に同心円状に形成された第2流路に供給した誘電液体を多孔性物質を通して噴出させ、第2流路を通して噴出した液体微粒子を帯電させて、2種類の液体を混合噴霧化する方法が記載されている。
【先行技術文献】
【特許文献】
【0004】
特公昭60-57907号公報
【発明の概要】
【発明が解決しようとする課題】
【0005】
静電塗工を実行中に、液体の塗布量を切り替える必要が生じることがある。液体の塗布量は、例えば、ノズル径を変更することにより切り替え可能である。ノズル径を変更する方法として、静電塗工装置に複数のノズルを設け、液体が吐出されるノズルを切り替える方法や、静電塗工装置に複数のシリンジを設け、液体が吐出されるノズルを有するシリンジ(以下、「液体の吐出に係るシリンジ」という)を切り替える方法がある。
【0006】
しかしながら、シリンジやノズルを切り替えるためには、電圧が印加されるシリンジを切り替える回路や制御機構が必要となる。また、シリンジの後端に空気圧を付与する場合には、空気圧を付与するシリンジを切り替える機構や制御が必要となる。さらに、複数のノズルのそれぞれと塗工先との間の距離が一定になるように複数のノズルが並んでいる場合には、シリンジあるいはノズルの切り替えに伴い、液体の吐出位置および着弾位置が切り替わるので、着弾位置を補正する機構が必要となる。
【0007】
本発明は、上記の事情に鑑みてなされたものであり、その目的は、複数のシリンジを備えた静電塗工装置において、液体の吐出に係るシリンジを容易に切り替え可能な手段を提供することである。
【課題を解決するための手段】
【0008】
(1) 本発明の静電塗工装置は、それぞれが先端にノズルを有する複数のシリンジと、上記複数のシリンジを塗工面に対して傾斜した軸を中心として回転させ、上記複数のシリンジを複数の停止位置のいずれかに停止させる回転機構と、上記シリンジと対向電極との間に電圧を印加する電源回路と、を備えている。上記回転機構の動作によって、上記複数のシリンジのノズルのうちで上記対向電極に最も近いノズルである最接近ノズルが切り替わり、上記最接近ノズルを有するシリンジと上記対向電極との間に上記電源回路によって電圧が印加される。
【0009】
上記の静電塗工装置によれば、回転機構を動作させて最接近ノズルを切り替え、最接近ノズルを有するシリンジと対向電極との間に電圧を印加することにより、最接近ノズルから液体を吐出させることができる。したがって、電圧が印加されるシリンジを切り替える回路や制御機構を用いることなく、液体の吐出に係るシリンジを容易に切り替えることができる。
【0010】
(2) 好ましくは、上記回転機構の動作によって、上記複数のシリンジが上記複数の停止位置のいずれに停止したときでも、上記最接近ノズルの先端は上記塗工面に平行な仮想平面に投射したときに同じ位置にあってもよい。
(【0011】以降は省略されています)
この特許をJ-PlatPat(特許庁公式サイト)で参照する
関連特許
ブラザー工業株式会社
印刷装置
15日前
ブラザー工業株式会社
印刷装置
3日前
ブラザー工業株式会社
画像形成装置
2日前
ブラザー工業株式会社
画像形成装置
2日前
ブラザー工業株式会社
画像形成装置
2日前
ブラザー工業株式会社
画像形成装置
2日前
ブラザー工業株式会社
サポートプログラム
2日前
ブラザー工業株式会社
サポートプログラム
2日前
ブラザー工業株式会社
プリンタおよびプログラム
4日前
ブラザー工業株式会社
プリンタおよびプログラム
4日前
ブラザー工業株式会社
インクジェット記録方法及び印刷物
17日前
ブラザー工業株式会社
プログラム、データ処理装置、および、データ処理方法
4日前
ブラザー工業株式会社
通信システム、サーバ、および、コンピュータプログラム
2日前
ブラザー工業株式会社
プリンタ
17日前
ブラザー工業株式会社
カセット
18日前
ブラザー工業株式会社
画像形成装置
8日前
ブラザー工業株式会社
情報処理プログラム、情報処理装置、情報処理方法、印刷プログラム、印刷装置、及び印刷方法
4日前
ブラザー工業株式会社
記録装置、記録装置用消耗品、及び情報処理方法
18日前
ベック株式会社
被膜形成方法
25日前
有限会社 芦屋ドレス
湯噴霧器
10日前
ベック株式会社
装飾被膜の形成方法
2か月前
アイカ工業株式会社
塗料仕上げ工法
1か月前
スズカファイン株式会社
多色性塗膜
1か月前
トヨタ自動車株式会社
塗布装置
1か月前
能美防災株式会社
水噴霧ヘッド
29日前
株式会社カネカ
塗布装置
1か月前
個人
スプレー缶高所対応携帯ホルダー
1か月前
日本ライナー株式会社
塗装装置
1か月前
ヒット工業株式会社
マスキング具
2か月前
中外炉工業株式会社
塗工装置
3か月前
ブラザー工業株式会社
塗工装置
22日前
東レエンジニアリング株式会社
スリットダイ
25日前
東レエンジニアリング株式会社
粉体吐出装置
23日前
ブラザー工業株式会社
塗工装置
22日前
ブラザー工業株式会社
塗工装置
22日前
旭サナック株式会社
粉体塗装装置
1か月前
続きを見る
他の特許を見る