TOP
|
特許
|
意匠
|
商標
特許ウォッチ
Twitter
他の特許を見る
10個以上の画像は省略されています。
公開番号
2025161960
公報種別
公開特許公報(A)
公開日
2025-10-24
出願番号
2025141091,2021091563
出願日
2025-08-27,2021-05-31
発明の名称
画像形成装置
出願人
ブラザー工業株式会社
代理人
弁理士法人ATEN
主分類
B41J
11/42 20060101AFI20251017BHJP(印刷;線画機;タイプライター;スタンプ)
要約
【課題】シート状媒体がロール状に巻回されたロール体と複数積層された状態のシート状媒体の両方を収容可能な給送トレイを有する画像形成装置において、シート状媒体が給送トレイの所定位置に適切に配置されているか否かをユーザに報知することができる。
【解決手段】プリンタ100は、ロール紙P1がロール状に巻回されたロール体Rを収容可能な第1収容部11aと、カット紙P2を複数積層された状態で収容可能な第2収容部11bと、を有する給送トレイ11と、給送ローラ2と、ヘッド5と、複数の検知部と、報知部30と、制御部10とを含んでいる。そして、制御部10は、複数の検知部による検知結果に基づいて、報知動作を報知部30に実行させる。
【選択図】図1
特許請求の範囲
【請求項1】
筐体と、
前記筐体に対して挿抜可能であって、シート状媒体がロール状に巻回されたロール体を収容可能な第1収容部と、シート状媒体を複数積層された状態で収容可能な第2収容部と、を有する給送トレイと、
前記給送トレイからシート状媒体を搬送経路に向けて給送する給送ローラと、
前記搬送経路内のシート状媒体に対して画像を形成する画像形成部と、
前記給送トレイの所定位置にシート状媒体が配置されているか否かを検知可能な一又は複数の検知部と、
ユーザに対して報知する報知動作を実行可能な報知部と、
制御部と、を備え、
前記制御部は、前記一又は複数の検知部による検知結果に基づいて、前記報知動作を前記報知部に実行させ、
前記第1収容部に収容されたシート状媒体と前記第2収容部に収容されたシート状媒体とが共通する1つの前記給送ローラによって給送される構成であって、
前記給送ローラは、前記第1収容部及び前記第2収容部の何れか一方からシート状媒体を給送するように構成されており、
前記制御部は、前記第1収容部に収容されたシート状媒体に印刷を行う指示を受信する場合であって、前記検知結果が前記第2収容部にシート状媒体が収容されていないことを示すものでない場合、前記シート状媒体を前記第2収容部から除外する必要がある旨を報知する動作を前記報知動作として前記報知部に実行させることを特徴とする画像形成装置。
続きを表示(約 5,900 文字)
【請求項2】
筐体と、
前記筐体に対して挿抜可能であって、シート状媒体がロール状に巻回されたロール体を収容可能な第1収容部と、シート状媒体を複数積層された状態で収容可能な第2収容部と、を有する給送トレイと、
前記給送トレイからシート状媒体を搬送経路に向けて給送する給送ローラと、
前記搬送経路内のシート状媒体に対して画像を形成する画像形成部と、
前記給送トレイの所定位置にシート状媒体が配置されているか否かを検知可能な一又は複数の検知部と、
ユーザに対して報知する報知動作を実行可能な報知部と、
制御部と、を備え、
前記制御部は、前記一又は複数の検知部による検知結果に基づいて、前記報知動作を前記報知部に実行させ、
前記第1収容部に収容されたシート状媒体と前記第2収容部に収容されたシート状媒体とが共通する1つの前記給送ローラによって給送される構成であって、
前記給送ローラは、前記第1収容部及び前記第2収容部の何れか一方からシート状媒体を給送するように構成されており、
前記制御部は、前記第2収容部に収容されたシート状媒体に印刷を行う指示を受信する場合であって、前記検知結果が前記第1収容部に前記シート状媒体が収容されていないことを示すものでない場合、前記ロール体から巻き解かれたシート状媒体を巻き戻す必要がある旨を報知する動作を前記報知動作として前記報知部に実行させることを特徴とする画像形成装置。
【請求項3】
筐体と、
前記筐体に対して挿抜可能であって、シート状媒体がロール状に巻回されたロール体を収容可能な第1収容部と、シート状媒体を複数積層された状態で収容可能な第2収容部と、を有する給送トレイと、
前記給送トレイからシート状媒体を搬送経路に向けて給送する給送ローラと、
前記搬送経路内のシート状媒体に対して画像を形成する画像形成部と、
前記給送トレイの所定位置にシート状媒体が配置されているか否かを検知可能な一又は複数の検知部と、
ユーザに対して報知する報知動作を実行可能な報知部と、
制御部と、を備え、
前記制御部は、前記一又は複数の検知部による検知結果に基づいて、前記報知動作を前記報知部に実行させ、
前記第1収容部に収容されたシート状媒体と前記第2収容部に収容されたシート状媒体とが共通する1つの前記給送ローラによって給送される構成であって、
前記給送ローラは、前記第1収容部及び前記第2収容部の何れか一方からシート状媒体を給送するように構成されており、
前記一又は複数の検知部は、前記給送トレイの前記第1収容部にシート状媒体が収容されているか否かを検知可能な第1検知部を含み、
前記制御部は、前記第1検知部による検知結果に基づいて、前記報知動作を前記報知部に実行させ、
前記制御部は、前記第2収容部に収容されたシート状媒体に印刷を行う指示を受信する場合であって、前記第1検知部による検知結果が前記第1収容部に前記シート状媒体が収容されていることを示すものである場合、前記ロール体から巻き解かれたシート状媒体を巻き戻す必要がある旨を報知する動作を前記報知動作として前記報知部に実行させることを特徴とする画像形成装置。
【請求項4】
筐体と、
前記筐体に対して挿抜可能であって、シート状媒体がロール状に巻回されたロール体を収容可能な第1収容部と、シート状媒体を複数積層された状態で収容可能な第2収容部と、を有する給送トレイと、
前記給送トレイからシート状媒体を搬送経路に向けて給送する給送ローラと、
前記搬送経路内のシート状媒体に対して画像を形成する画像形成部と、
前記給送トレイの所定位置にシート状媒体が配置されているか否かを検知可能な一又は複数の検知部と、
ユーザに対して報知する報知動作を実行可能な報知部と、
制御部と、を備え、
前記制御部は、前記一又は複数の検知部による検知結果に基づいて、前記報知動作を前記報知部に実行させ、
前記一又は複数の検知部は、前記給送トレイの前記第1収容部にシート状媒体が収容されているか否かを検知可能な第1検知部を含み、
前記制御部は、前記第1検知部による検知結果に基づいて、前記報知動作を前記報知部に実行させ、
前記搬送経路内のシート状媒体を検知可能な搬送検知部を備え、
前記制御部は、
前記第1収容部に収容されたシート状媒体に印刷を行う指示を受信する場合であって、前記第1検知部による検知結果が前記第1収容部にシート状媒体が収容されていることを示すものである場合、前記給送ローラを駆動し、
前記給送ローラを駆動してから第1時間経過するまでに前記搬送検知部によってシート状媒体が検知されない場合、前記第1収容部に収容されているシート状媒体が前記給送トレイに適切に配置されていない旨を報知する動作を前記報知動作として前記報知部に実行させることを特徴とする画像形成装置。
【請求項5】
筐体と、
前記筐体に対して挿抜可能であって、シート状媒体がロール状に巻回されたロール体を収容可能な第1収容部と、シート状媒体を複数積層された状態で収容可能な第2収容部と、を有する給送トレイと、
前記給送トレイからシート状媒体を搬送経路に向けて給送する給送ローラと、
前記搬送経路内のシート状媒体に対して画像を形成する画像形成部と、
前記給送トレイの所定位置にシート状媒体が配置されているか否かを検知可能な一又は複数の検知部と、
ユーザに対して報知する報知動作を実行可能な報知部と、
制御部と、を備え、
前記制御部は、前記一又は複数の検知部による検知結果に基づいて、前記報知動作を前記報知部に実行させ、
前記第1収容部に収容されたシート状媒体と前記第2収容部に収容されたシート状媒体とが共通する1つの前記給送ローラによって給送される構成であって、
前記給送ローラは、前記第1収容部及び前記第2収容部の何れか一方からシート状媒体を給送するように構成されており、
前記一又は複数の検知部は、前記給送トレイの前記第1収容部にシート状媒体が収容されているか否かを検知可能な第1検知部を含み、
前記制御部は、前記第1検知部による検知結果に基づいて、前記報知動作を前記報知部に実行させ、
前記第1収容部に収容されたロール体から巻き解かれるシート状媒体の、シート状媒体が搬送される搬送方向における長さは、前記第2収容部に収容されたシート状媒体の前記搬送方向における長さよりも長く、
前記搬送経路内のシート状媒体を検知可能な搬送検知部を備え、
前記制御部は、
前記第1収容部に収容されたシート状媒体に印刷を行う指示を受信する場合であって、前記第1検知部による検知結果が前記第1収容部にシート状媒体が収容されていることを示すものである場合、前記給送ローラを駆動し、
前記給送ローラを駆動した後に前記搬送検知部によってシート状媒体が検知されてから第2時間経過するまでに前記搬送検知部によってシート状媒体が検知されなくなった場合、前記シート状媒体を前記第2収容部から除外する必要がある旨を報知する動作を前記報知動作として前記報知部に実行させることを特徴とする画像形成装置。
【請求項6】
筐体と、
前記筐体に対して挿抜可能であって、シート状媒体がロール状に巻回されたロール体を収容可能な第1収容部と、シート状媒体を複数積層された状態で収容可能な第2収容部と、を有する給送トレイと、
前記給送トレイからシート状媒体を搬送経路に向けて給送する給送ローラと、
前記搬送経路内のシート状媒体に対して画像を形成する画像形成部と、
前記給送トレイの所定位置にシート状媒体が配置されているか否かを検知可能な一又は複数の検知部と、
ユーザに対して報知する報知動作を実行可能な報知部と、
制御部と、を備え、
前記制御部は、前記一又は複数の検知部による検知結果に基づいて、前記報知動作を前記報知部に実行させ、
前記第1収容部に収容されたシート状媒体と前記第2収容部に収容されたシート状媒体とが共通する1つの前記給送ローラによって給送される構成であって、
前記給送ローラは、前記第1収容部及び前記第2収容部の何れか一方からシート状媒体を給送するように構成されており、
前記一又は複数の検知部は、前記給送トレイの前記第1収容部にシート状媒体が収容されているか否かを検知可能な第1検知部を含み、
前記制御部は、前記第1検知部による検知結果に基づいて、前記報知動作を前記報知部に実行させ、
前記一又は複数の検知部は、前記給送トレイの前記第2収容部にシート状媒体が収容されているか否かを検知可能な第2検知部をさらに含み、
前記制御部は、前記第1検知部及び前記第2検知部による検知結果に基づいて、前記報知動作を前記報知部に実行させ、
前記制御部は、前記第1収容部に収容されたシート状媒体に印刷を行う指示を受信する場合であって、前記第2検知部による検知結果が前記第2収容部にシート状媒体が収容されていることを示すものである場合、前記シート状媒体を前記第2収容部から除外する必要がある旨を報知する動作を前記報知動作として前記報知部に実行させることを特徴とする画像形成装置。
【請求項7】
筐体と、
前記筐体に対して挿抜可能であって、シート状媒体がロール状に巻回されたロール体を収容可能な第1収容部と、シート状媒体を複数積層された状態で収容可能な第2収容部と、を有する給送トレイと、
前記給送トレイからシート状媒体を搬送経路に向けて給送する給送ローラと、
前記搬送経路内のシート状媒体に対して画像を形成する画像形成部と、
前記給送トレイの所定位置にシート状媒体が配置されているか否かを検知可能な一又は複数の検知部と、
ユーザに対して報知する報知動作を実行可能な報知部と、
制御部と、を備え、
前記制御部は、前記一又は複数の検知部による検知結果に基づいて、前記報知動作を前記報知部に実行させ、
前記一又は複数の検知部は、前記給送トレイの前記第1収容部にシート状媒体が収容されているか否かを検知可能な第1検知部を含み、
前記制御部は、前記第1検知部による検知結果に基づいて、前記報知動作を前記報知部に実行させ、
前記一又は複数の検知部は、前記給送ローラによってシート状媒体を給送可能な給送位置にシート状媒体が配置されているか否かを検知する第3検知部をさらに含み、
前記制御部は、前記第1検知部及び前記第3検知部による検知結果に基づいて、前記報知動作を前記報知部に実行させることを特徴とする画像形成装置。
【請求項8】
筐体と、
前記筐体に対して挿抜可能であって、シート状媒体がロール状に巻回されたロール体を収容可能な第1収容部と、シート状媒体を複数積層された状態で収容可能な第2収容部と、を有する給送トレイと、
前記給送トレイからシート状媒体を搬送経路に向けて給送する給送ローラと、
前記搬送経路内のシート状媒体に対して画像を形成する画像形成部と、
前記給送トレイの所定位置にシート状媒体が配置されているか否かを検知可能な一又は複数の検知部と、
ユーザに対して報知する報知動作を実行可能な報知部と、
制御部と、を備え、
前記制御部は、前記一又は複数の検知部による検知結果に基づいて、前記報知動作を前記報知部に実行させ、
前記一又は複数の検知部は、前記給送トレイの前記第1収容部にシート状媒体が収容されているか否かを検知可能な第1検知部を含み、
前記制御部は、前記第1検知部による検知結果に基づいて、前記報知動作を前記報知部に実行させ、
前記一又は複数の検知部は、前記給送トレイの前記第2収容部にシート状媒体が収容されているか否かを検知可能な第2検知部をさらに含み、
前記制御部は、前記第1検知部及び前記第2検知部による検知結果に基づいて、前記報知動作を前記報知部に実行させ、
前記一又は複数の検知部は、前記給送ローラによってシート状媒体を給送可能な給送位置にシート状媒体が配置されているか否かを検知する第3検知部をさらに含み、
前記制御部は、前記第1検知部、前記第2検知部、及び前記第3検知部による検知結果に基づいて、前記報知動作を前記報知部に実行させることを特徴とする画像形成装置。
【請求項9】
前記制御部は、
前記第1収容部に収容されたシート状媒体に印刷を行う指示を受信する場合であって、前記検知結果が前記第1収容部に前記シート状媒体が収容されていることを示すものでない場合、前記第1収容部に収容されるシート状媒体の前記給送トレイに対する配置に関する内容を報知する動作を前記報知動作として前記報知部に実行させ、
前記第2収容部に収容されたシート状媒体に印刷を行う指示を受信する場合であって、前記検知結果が前記第2収容部にシート状媒体が収容されていることを示すものでない場合、前記第2収容部に収容されるシート状媒体の前記給送トレイに対する配置に関する内容を報知する動作を前記報知動作として前記報知部に実行させることを特徴とする請求項1~8の何れか1項に記載の画像形成装置。
【請求項10】
前記一又は複数の検知部は、前記給送トレイの前記第1収容部にシート状媒体が収容されているか否かを検知可能な第1検知部を含み、
前記制御部は、前記第1検知部による検知結果に基づいて、前記報知動作を前記報知部に実行させることを特徴とする請求項1又は2に記載の画像形成装置。
(【請求項11】以降は省略されています)
発明の詳細な説明
【技術分野】
【0001】
本発明は、シート状媒体がロール状に巻回されたロール体と複数積層された状態のシート状媒体の両方を収容可能な給送トレイを有する画像形成装置に関する。
続きを表示(約 2,000 文字)
【背景技術】
【0002】
シート状の用紙がロール状に巻回されたロール体と、カット紙との両方を収容可能な画像形成装置が知られている。例えば、特許文献1には、ロール体用の載置部およびカット紙用の載置部が形成された給紙カセット(給送トレイ)を有するファクシミリ(画像形成装置)が開示されている。給送トレイに収容された用紙は、ローラ(給送ローラ)によって給送される。
【先行技術文献】
【特許文献】
【0003】
特開平02-264556号公報
【発明の概要】
【発明が解決しようとする課題】
【0004】
特許文献1のような画像形成装置では、印刷に用いられるべき用紙が給送トレイに収容されていないにもかかわらず、給送ローラによる給送動作が開始してしまう可能性がある。
【0005】
本発明の目的は、シート状媒体がロール状に巻回されたロール体と複数積層された状態のシート状媒体の両方を収容可能な給送トレイを有する画像形成装置において、シート状媒体が給送トレイの所定位置に適切に配置されているか否かをユーザに報知することができる画像形成装置を提供することである。
【課題を解決するための手段】
【0006】
本発明に係る画像形成装置は、筐体と、前記筐体に対して挿抜可能であって、シート状媒体がロール状に巻回されたロール体を収容可能な第1収容部と、シート状媒体を複数積層された状態で収容可能な第2収容部と、を有する給送トレイと、前記給送トレイからシート状媒体を搬送経路に向けて給送する給送ローラと、前記搬送経路内のシート状媒体に対して画像を形成する画像形成部と、前記給送トレイの所定位置にシート状媒体が配置されているか否かを検知可能な一又は複数の検知部と、ユーザに対して報知する報知動作を実行可能な報知部と、制御部と、を備え、前記制御部は、前記一又は複数の検知部による検知結果に基づいて、前記報知動作を前記報知部に実行させる。
【発明の効果】
【0007】
本発明の画像形成装置によると、給送トレイの所定位置にシート状媒体が配置されているか否かを検知し、検知結果に基づいた報知動作がユーザに対して行われる。このため、シート状媒体がロール状に巻回されたロール体と複数積層された状態のシート状媒体の両方を収容可能な給送トレイを有する画像形成装置において、ユーザが、シート状媒体が給送トレイの所定位置に適切に配置されているか否かを判別することができる。
【図面の簡単な説明】
【0008】
本発明の第1実施形態に係るプリンタの概略構成図である。
カット紙収容時におけるプリンタの概略構成図である。
ロール紙検知部を示す図であって、(a)ロール体が収容されていないときを示す図、及び、(b)ロール体が収容されているときを示す図である。
カット紙検知部を示す図であって、(a)カット紙が収容されていないときを示す図、及び、(b)カット紙が収容されているときを示す図である。
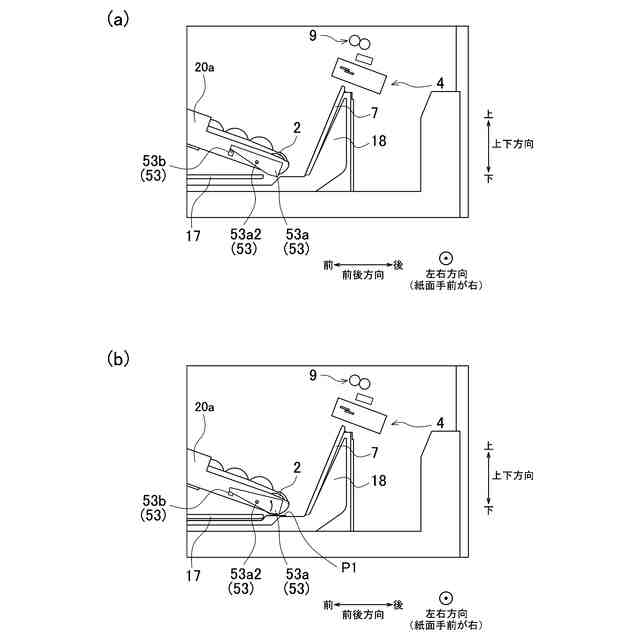
用紙有無検知部を示す図であって、(a)用紙がセットされていないときを示す図、及び、(b)用紙が適切にセットされているときを示す図である。
第1実施形態に係るプリンタにおいて実行される処理手順の一例を示すフローチャートの前半部分である。
第1実施形態に係るプリンタにおいて実行される処理手順の一例を示すフローチャートの後半部分である。
第2実施形態に係るプリンタにおいて実行される処理手順の一例を示すフローチャートの前半部分である。
第2実施形態に係るプリンタにおいて実行される処理手順の一例を示すフローチャートの後半部分である。
【発明を実施するための形態】
【0009】
(第1実施形態)
本発明の第1実施形態に係るプリンタ100(本発明の画像形成装置の一例)について、図1~図5を参照しつつ、以下に説明する。なお、図1に示す上下方向、左右方向及び前後方向を、プリンタ100の上下方向、左右方向及び前後方向とする。
【0010】
(プリンタ100の全体構成)
図1に示すように、プリンタ100は、筐体100aと、給送トレイ11と、給送ローラ2と、搬送ローラ対3aと、排紙ローラ対3bと、カッター機構4と、ヘッド5(本発明の画像形成部の一例)と、排紙トレイ6と、案内ガイド7と、中間ローラ対9と、制御部10と、報知部30と、を含む。給送トレイ11は、筐体100aの下部に挿抜可能である。給送トレイ11の筐体100aに対する挿抜は、不図示のセンサによって検知される。排紙トレイ6は、筐体100aの上部の前側の側壁を構成し、筐体100aに対して開閉可能である。
(【0011】以降は省略されています)
この特許をJ-PlatPat(特許庁公式サイト)で参照する
関連特許
ブラザー工業株式会社
電子機器
21日前
ブラザー工業株式会社
印刷装置
27日前
ブラザー工業株式会社
水塗布装置
13日前
ブラザー工業株式会社
水塗布装置
13日前
ブラザー工業株式会社
水塗布装置
13日前
ブラザー工業株式会社
水塗布装置
13日前
ブラザー工業株式会社
液体吐出装置
6日前
ブラザー工業株式会社
画像形成装置
18日前
ブラザー工業株式会社
画像形成装置
26日前
ブラザー工業株式会社
画像形成装置
26日前
ブラザー工業株式会社
画像形成装置
26日前
ブラザー工業株式会社
画像形成装置
26日前
ブラザー工業株式会社
シート給送装置
20日前
ブラザー工業株式会社
サポートプログラム
26日前
ブラザー工業株式会社
サポートプログラム
26日前
ブラザー工業株式会社
定着装置及び画像形成装置
18日前
ブラザー工業株式会社
サポートプログラムおよび印刷システム
6日前
ブラザー工業株式会社
印刷管理システム、サーバ、印刷管理方法
13日前
ブラザー工業株式会社
プログラム、電子装置、方法、及び印刷システム
11日前
ブラザー工業株式会社
情報処理プログラム、情報処理装置、及び情報処理方法
13日前
ブラザー工業株式会社
通信システム、サーバ、および、コンピュータプログラム
26日前
ブラザー工業株式会社
画像形成装置
5日前
ブラザー工業株式会社
現像カートリッジ
11日前
ブラザー工業株式会社
サポートプログラム
11日前
ブラザー工業株式会社
サポートプログラム
11日前
ブラザー工業株式会社
コンピュータプログラム、データ処理装置、および、シートの製造方法
13日前
ブラザー工業株式会社
タンクセット及び液体消費装置
18日前
ブラザー工業株式会社
情報処理プログラム、情報処理装置、情報処理方法、印刷プログラム、印刷装置、及び印刷方法
28日前
個人
箔熱転写装置
2か月前
シヤチハタ株式会社
印判
6か月前
キヤノン株式会社
記録装置
2か月前
キヤノン株式会社
電子機器
18日前
独立行政法人 国立印刷局
貼付装置
3か月前
株式会社リコー
画像形成装置
2か月前
株式会社リコー
液体吐出装置
5か月前
株式会社リコー
液体吐出装置
3か月前
続きを見る
他の特許を見る