TOP
|
特許
|
意匠
|
商標
特許ウォッチ
Twitter
他の特許を見る
10個以上の画像は省略されています。
公開番号
2025170161
公報種別
公開特許公報(A)
公開日
2025-11-14
出願番号
2025153750,2024165785
出願日
2025-09-17,2019-03-26
発明の名称
現像カートリッジ
出願人
ブラザー工業株式会社
代理人
個人
主分類
G03G
15/08 20060101AFI20251107BHJP(写真;映画;光波以外の波を使用する類似技術;電子写真;ホログラフイ)
要約
【課題】現像カートリッジにおいて、部品点数を低減できる構造を提供する。
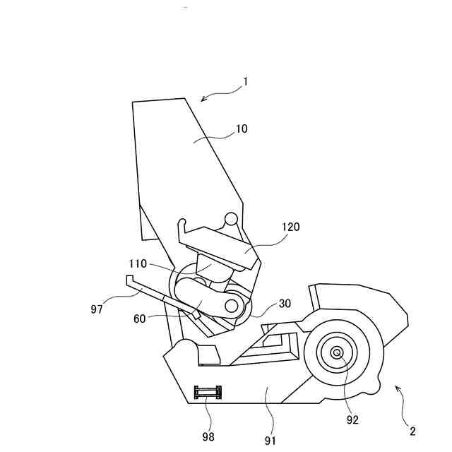
【解決手段】この現像カートリッジは、現像電極60と第1レバー110を備える。現像電極60は、第1孔67を有する。第1レバー110は、一端部111、他端部112、およびカム面113を有する。一端部111が駆動力を受けた場合、第1レバー110は、カム面113を中心として移動する。そして、第1孔67に挿入された第1レバー110の他端部112が、第1孔67の内面670を押圧する。これにより、現像カートリッジ1を動かすための力を加えることができる。また、現像電極60とは別の部材を押圧する場合よりも、現像カートリッジの部品点数を低減できる。
【選択図】図10
特許請求の範囲
【請求項1】
現像カートリッジであって、
第1方向に延びる現像ローラシャフトを有する現像ローラと、
現像剤を収容可能なケーシングであって、前記第1方向に対して交差する第2方向の一端に前記現像ローラが位置するケーシングと、
前記現像ローラシャフトと電気的に接続される第1端部と、前記第1端部よりも前記現像ローラシャフトから離れた第2端部とを有し、前記ケーシングおよび前記現像ローラと共に移動可能な現像電極であって、前記第2端部は、前記第1端部よりも、前記ケーシングの前記一端から前記第2方向に離れている現像電極であって、前記第1端部と前記第2端部との間において前記第2方向に延びる第1孔を有する現像電極と、
前記ケーシングに対して、第1位置と第2位置との間で移動可能な第1レバーであって、
前記第1レバーの一端部であり、力点として機能する一端部と、
前記第1レバーの他端部であり、作用点として機能する他端部と、
前記一端部と前記他端部との間に位置するカム面であって、支点として機能するカム面と、
を有する第1レバーと、
を備える現像カートリッジにおいて、
前記一端部が駆動力を受けたことに応じて、前記第1レバーが前記カム面を中心として前記第1位置から前記第2位置へ移動する場合、前記第1孔に挿入された前記他端部が前記第1孔の内面を押圧することを特徴とする、現像カートリッジ。
続きを表示(約 1,000 文字)
【請求項2】
請求項1に記載の現像カートリッジであって、
前記一端部が駆動力を受けたことに応じて、前記第1レバーが前記カム面を中心として前記第1位置から前記第2位置へ移動する場合、前記第1レバーの前記他端部は、前記第1孔の内面を、前記現像ローラから離れる方向へ押圧することを特徴とする、現像カートリッジ。
【請求項3】
請求項1または請求項2に記載の現像カートリッジであって、
前記第1レバーの前記他端部は、前記第1孔の内面と連結していることを特徴とする、現像カートリッジ。
【請求項4】
請求項3に記載の現像カートリッジであって、
前記第1レバーの前記他端部は、前記現像電極と共に移動可能であることを特徴とする、現像カートリッジ。
【請求項5】
請求項1から請求項4のいずれか一項に記載の現像カートリッジであって、
前記第1レバーが前記第1位置の場合、前記第1レバーの前記他端部は、前記第1孔の内面を押圧せず、
前記第1レバーが前記第2位置の場合、前記第1レバーの前記他端部は、前記第1孔の内面を押圧することを特徴とする、現像カートリッジ。
【請求項6】
請求項1から請求項5のいずれか一項に記載の現像カートリッジであって、
前記現像電極は、導電性樹脂から作られることを特徴とする現像カートリッジ。
【請求項7】
請求項1から請求項6のいずれか一項に記載の現像カートリッジであって、
前記第1孔は、前記現像電極を貫通することを特徴とする、現像カートリッジ。
【請求項8】
請求項1から請求項7のいずれか一項に記載の現像カートリッジであって、
前記ケーシングに対して前記第1レバーを移動可能に保持するホルダ
をさらに備えることを特徴とする、現像カートリッジ。
【請求項9】
請求項1から請求項8のいずれか一項に記載の現像カートリッジであって、
前記現像電極は、前記現像ローラシャフトを挿入可能な挿入孔を有し、
前記現像ローラシャフトは、前記挿入孔に挿入されることを特徴とする、現像カートリッジ。
【請求項10】
請求項9に記載の現像カートリッジであって、
前記現像ローラシャフトが前記挿入孔に挿入された状態で、
前記現像電極は、前記現像ローラシャフトについて回動可能であることを特徴とする、現像カートリッジ。
(【請求項11】以降は省略されています)
発明の詳細な説明
【技術分野】
【0001】
本開示は、現像カートリッジに関する。
続きを表示(約 1,600 文字)
【背景技術】
【0002】
従来、レーザプリンタ、LEDプリンタ等の電子写真方式の画像形成装置が知られている。画像形成装置には、現像カートリッジが用いられる。現像カートリッジは、現像剤を供給するための現像ローラを有する。従来の画像形成装置については、例えば、特許文献1に記載されている。
【0003】
特許文献1の現像カートリッジは、ドラムカートリッジに対して装着される。ドラムカートリッジは、感光体ドラムを有する。ドラムカートリッジに現像カートリッジが装着されると、感光体ドラムと現像ローラとが接触する。そして、現像カートリッジが装着されたドラムカートリッジが、画像形成装置に装着される。
【先行技術文献】
【特許文献】
【0004】
特開2013-54058号公報
【発明の概要】
【発明が解決しようとする課題】
【0005】
現像カートリッジは、感光体ドラムに対して現像ローラを位置決めするための部材を有する。また、現像カートリッジは、現像ローラのシャフトへバイアス電圧を供給するための現像電極を有する。また、現像カートリッジは、感光体ドラムから現像ローラを離間させるときに、押圧力を受ける部材を有する。しかしながら、現像ローラを位置決めするための部材と、現像ローラのシャフトへバイアス電圧を供給する現像電極と、離間時に押圧力を受ける部材とを、別々に設けると、現像カートリッジの部品点数が多くなる。
【0006】
本開示の目的は、現像カートリッジにおいて、部品点数を低減できる構造を提供することである。
【課題を解決するための手段】
【0007】
本願の第1開示は、現像カートリッジであって、第1方向に延びる現像ローラシャフトを有する現像ローラと、現像剤を収容可能なケーシングであって、前記第1方向に対して交差する第2方向の一端に前記現像ローラが位置するケーシングと、前記現像ローラシャフトと電気的に接続される第1端部と、前記第1端部よりも前記現像ローラシャフトから離れた第2端部とを有し、前記ケーシングおよび前記現像ローラと共に移動可能な現像電極であって、前記第2端部は、前記第1端部よりも、前記ケーシングの前記一端から前記第2方向に離れている現像電極であって、前記第1端部と前記第2端部との間において前記第2方向に延びる第1孔を有する現像電極と、前記ケーシングに対して、第1位置と第2位置との間で移動可能な第1レバーであって、前記第1レバーの一端部であり、力点として機能する一端部と、前記第1レバーの他端部であり、作用点として機能する他端部と、前記一端部と前記他端部との間に位置するカム面であって、支点として機能するカム面と、を有する第1レバーと、を備える現像カートリッジにおいて、前記一端部が駆動力を受けたことに応じて、前記第1レバーが前記カム面を中心として前記第1位置から前記第2位置へ移動する場合、前記第1孔に挿入された前記他端部が前記第1孔の内面を押圧することを特徴とする。
【0008】
本願の第2開示は、第1開示の現像カートリッジであって、前記一端部が駆動力を受けたことに応じて、前記第1レバーが前記カム面を中心として前記第1位置から前記第2位置へ移動する場合、前記第1レバーの前記他端部は、前記第1孔の内面を、前記現像ローラから離れる方向へ押圧することを特徴とする。
【0009】
本願の第3開示は、第1開示または第2開示の現像カートリッジであって、前記第1レバーの前記他端部は、前記第1孔の内面と連結していることを特徴とする。
【0010】
本願の第4開示は、第3開示の現像カートリッジであって、前記第1レバーの前記他端部は、前記現像電極と共に移動可能であることを特徴とする。
(【0011】以降は省略されています)
この特許をJ-PlatPat(特許庁公式サイト)で参照する
関連特許
ブラザー工業株式会社
水塗布装置
3日前
ブラザー工業株式会社
水塗布装置
3日前
ブラザー工業株式会社
水塗布装置
3日前
ブラザー工業株式会社
水塗布装置
3日前
ブラザー工業株式会社
印刷管理システム、サーバ、印刷管理方法
3日前
ブラザー工業株式会社
プログラム、電子装置、方法、及び印刷システム
1日前
ブラザー工業株式会社
情報処理プログラム、情報処理装置、及び情報処理方法
3日前
ブラザー工業株式会社
現像カートリッジ
1日前
ブラザー工業株式会社
サポートプログラム
1日前
ブラザー工業株式会社
サポートプログラム
1日前
ブラザー工業株式会社
コンピュータプログラム、データ処理装置、および、シートの製造方法
3日前
ブラザー工業株式会社
タンクセット及び液体消費装置
8日前
個人
表示装置
1か月前
個人
雨用レンズカバー
29日前
株式会社シグマ
絞りユニット
1か月前
キヤノン株式会社
撮像装置
22日前
日本精機株式会社
車両用投射装置
1か月前
キヤノン株式会社
撮像装置
22日前
キヤノン株式会社
撮像装置
22日前
キヤノン株式会社
撮像装置
1か月前
キヤノン株式会社
撮像装置
1か月前
キヤノン株式会社
撮像装置
2か月前
株式会社リコー
画像形成装置
19日前
株式会社リコー
画像形成装置
2か月前
株式会社リコー
画像形成装置
16日前
株式会社リコー
画像形成装置
16日前
株式会社リコー
画像形成装置
1か月前
株式会社リコー
画像形成装置
10日前
株式会社リコー
画像形成装置
1日前
株式会社オプトル
プロジェクタ
1か月前
キヤノン株式会社
画像形成装置
1か月前
キヤノン株式会社
トナー
1か月前
キヤノン株式会社
トナー
25日前
キヤノン株式会社
トナー
1か月前
キヤノン株式会社
画像形成装置
18日前
キヤノン株式会社
レンズキャップ
1か月前
続きを見る
他の特許を見る