TOP
|
特許
|
意匠
|
商標
特許ウォッチ
Twitter
他の特許を見る
公開番号
2025169562
公報種別
公開特許公報(A)
公開日
2025-11-14
出願番号
2024074362
出願日
2024-05-01
発明の名称
プログラム、電子装置、方法、及び印刷システム
出願人
ブラザー工業株式会社
代理人
名古屋国際弁理士法人
主分類
G06F
3/12 20060101AFI20251107BHJP(計算;計数)
要約
【課題】印刷装置での印刷で消費される消耗品を提供する印刷サービスへの加入を提示する新たな方法を提供する。
【解決手段】プログラムは、電子装置の制御部に枚数判定処理と変更処理とを実行させる。枚数判定処理は、複数のプランを有する印刷サービスの対象となる印刷装置において、現在の単位期間の印刷枚数が、現在の単位期間に対応する第1プランの第1上限枚数を超えるか否かを判定する。変更処理は、印刷サービスの第1プランを第2プランに変更するための処理であり、枚数判定処理にて、現在の単位期間の途中での印刷枚数が第1上限枚数を超えると判定された場合に実行される。第2プランの第2上限枚数は、第1プランの第1上限枚数よりも多い。
【選択図】図3
特許請求の範囲
【請求項1】
制御部を備えた電子装置における前記制御部が実行可能なプログラムであって、
前記制御部に、
第1及び第2プランを含む複数のプランを有する印刷サービスの対象となる印刷装置において、現在の単位期間に印刷された用紙の枚数である印刷枚数が、前記現在の単位期間に対応する前記第1プランの上限枚数である第1上限枚数を超えるか否かを判定する枚数判定処理と、
前記現在の単位期間に対応する前記印刷サービスのプランを、前記第1プランから前記第2プランに変更するための処理である変更処理と、を実行させ、
単位期間に対応して、前記印刷サービスの前記複数のプランのいずれかが設定され、前記複数のプランの各々には、異なる前記上限枚数が定められていると共に、前記上限枚数が増加するに従い高額となるよう、前記上限枚数に応じた基本料金が定められており、前記印刷サービスでは、前記単位期間の終了時の前記印刷枚数が、前記単位期間に対応する前記プランの前記上限枚数を超えない場合には、前記プランの前記基本料金を支払うことで、前記単位期間に前記印刷装置の印刷で消費される消耗品が提供され、
前記変更処理は、前記枚数判定処理にて、前記現在の単位期間の途中での前記印刷枚数が、前記第1上限枚数を超えると判定された場合に実行され、
前記第2プランの前記上限枚数である第2上限枚数は、前記第1プランの前記第1上限枚数よりも多い、
プログラム。
続きを表示(約 1,900 文字)
【請求項2】
請求項1に記載のプログラムであって、
前記変更処理は、前記現在の単位期間の次の単位期間に対応する前記印刷サービスのプランを、前記第2プランから前記第1プランに変更するための処理をさらに含む
プログラム。
【請求項3】
請求項1又は請求項2に記載のプログラムであって、
前記現在の単位期間に対応する前記プランを、前記第1プランから前記第2プランに変更することを報知する変更報知処理を、
さらに前記制御部に実行させるプログラム。
【請求項4】
請求項3に記載のプログラムであって、
前記変更報知処理は、前記現在の単位期間の途中での前記印刷枚数が、前記第1上限枚数を超えると判定された場合に実行される
プログラム。
【請求項5】
請求項3に記載のプログラムであって、
前記変更報知処理は、前記現在の単位期間の前記印刷枚数が前記第1上限枚数に到達するまでの残り枚数が予め定められた下限枚数に到達した場合に実行される
プログラム。
【請求項6】
請求項3に記載のプログラムであって、
前記変更報知処理では、さらに、前記現在の単位期間の前記印刷枚数が前記第1上限枚数に到達するまでの残り枚数を報知する
プログラム。
【請求項7】
請求項3に記載のプログラムであって、
前記現在の単位期間にユーザが前記印刷装置での印刷で用いる用紙の枚数である印刷予定枚数を取得し、取得した前記印刷予定枚数に基づき、前記現在の単位期間の終了時の前記印刷枚数が、前記第1上限枚数を超えるか否かを予測する予測処理を、さらに前記制御部に実行させ、
前記変更報知処理は、前記予測処理にて前記現在の単位期間の終了時の前記印刷枚数が前記第1上限枚数を超えると予測される場合に実行される
プログラム。
【請求項8】
請求項3に記載のプログラムであって、
前記現在の単位期間よりも前の前記単位期間における前記印刷枚数に基づき、前記現在の単位期間の終了時の前記印刷枚数が、前記第1上限枚数を超えるか否かを予測する予測処理を、さらに前記制御部に実行させ、
前記変更報知処理は、前記予測処理にて前記現在の単位期間の終了時の前記印刷枚数が前記第1上限枚数を超えると予測される場合に実行される
プログラム。
【請求項9】
請求項1又は請求項2に記載のプログラムであって、
前記印刷サービスでは、前記単位期間での前記印刷枚数が、前記単位期間に対応する前記プランの前記上限枚数を超える場合には、前記印刷枚数と前記上限枚数との差分である超過枚数に応じた超過料金を支払うことで、前記単位期間における前記消耗品が提供され、
前記現在の単位期間の途中での前記印刷枚数が、前記第1プランの前記上限枚数を超える場合に、前記現在の単位期間での前記超過枚数に応じた前記超過料金が、前記第2プランの前記基本料金から前記第1プランの前記基本料金を減算した差額を上回るか否かを判定する料金判定処理を、さらに前記制御部に実行させ、
前記変更処理は、前記枚数判定処理にて前記印刷枚数が前記第1上限枚数を超えると判定され、且つ、前記料金判定処理により、前記超過料金が前記差額を上回ると判定された場合に、実行される
プログラム。
【請求項10】
請求項1又は請求項2に記載のプログラムであって、
前記印刷サービスは、前記印刷装置を含む複数の印刷装置を対象としており、前記プランの前記基本料金を支払うことで、前記複数の印刷装置のうち、前記単位期間の終了時での前記印刷枚数が前記上限枚数を超えない印刷装置について、前記単位期間に消費される前記消耗品が提供され、
前記枚数判定処理は、前記複数の印刷装置の各々について、前記現在の単位期間の前記印刷枚数が、前記第1上限枚数を超えるか否かを判定し、
前記変更処理は、前記枚数判定処理にて、前記複数の印刷装置のうちの少なくとも1つについて、前記現在の単位期間の途中での前記印刷枚数が、前記第1上限枚数を超えると判定された場合に実行され、
前記複数の印刷装置のうち、前記現在の単位期間の前記印刷枚数が前記第1上限枚数に到達するまでの残り枚数が相対的に多い印刷装置を報知する印刷報知処理と、
をさらに前記制御部に実行させるプログラム。
(【請求項11】以降は省略されています)
発明の詳細な説明
【技術分野】
【0001】
本開示は、印刷装置に関して提供されるサービスの技術に関する。
続きを表示(約 2,200 文字)
【背景技術】
【0002】
印刷装置におけるトナーやインク等とった消耗品の残量が少なくなると、消耗品を自動的に発注し、配送するサービスが知られている。特許文献1の印刷装置は、消耗品の残量が少なくなると、このような消耗品の配送契約がなされていない場合には、配送契約を促す画面を表示する。このような印刷装置によれば、適切なタイミングで、消耗品の配送契約をユーザに勧めることができる。
【先行技術文献】
【特許文献】
【0003】
特開2020-111023号公報
【発明の概要】
【発明が解決しようとする課題】
【0004】
本開示の一局面は、印刷装置での印刷で消費される消耗品を提供する印刷サービスに関する新たな方法を提供する。
【課題を解決するための手段】
【0005】
本開示の一態様は、制御部を備えた電子装置における制御部が実行可能なプログラムであって、制御部に、枚数判定処理と、変更処理とを実行させる。枚数判定処理は、第1及び第2プランを含む複数のプランを有する印刷サービスの対象となる印刷装置において、現在の単位期間に印刷された用紙の枚数である印刷枚数が、現在の単位期間に対応する第1プランの上限枚数である第1上限枚数を超えるか否かを判定する。変更処理は、現在の単位期間に対応する印刷サービスのプランを、第1プランから第2プランに変更するための処理である。単位期間に対応して、印刷サービスの複数のプランのいずれかが設定され、複数のプランの各々には、異なる上限枚数が定められていると共に、上限枚数が増加するに従い高額となるよう、上限枚数に応じた基本料金が定められている。印刷サービスでは、単位期間の終了時の印刷枚数が、単位期間に対応するプランの上限枚数を超えない場合には、プランの基本料金を支払うことで、単位期間に印刷装置の印刷で消費される消耗品が提供される。変更処理は、枚数判定処理にて、現在の単位期間の途中での印刷枚数が、第1上限枚数を超えると判定された場合に実行される。第2プランの上限枚数である第2上限枚数は、第1プランの第1上限枚数よりも多い。
【0006】
上記構成によれば、単位期間の印刷枚数が一時的に増加した場合には、これに応じて印刷サービスのプランが変更され得る。このため、ユーザにとって適切な態様で印刷サービスを提供できる。
【図面の簡単な説明】
【0007】
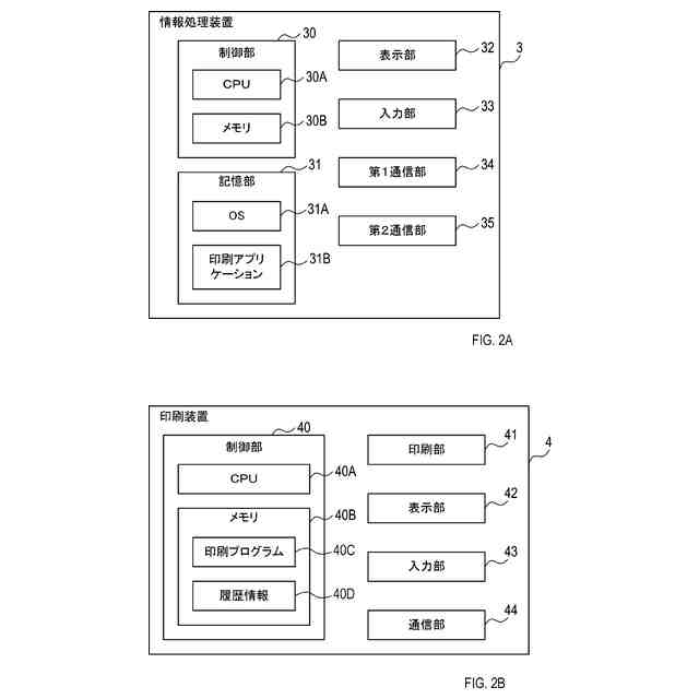
図1Aは、第1実施形態の印刷システムのブロック図である。図1Bは、第1実施形態の運営サーバのブロック図である。
図2Aは、第1実施形態の情報処理装置のブロック図である。図2Bは、第1実施形態の印刷装置のブロック図である。
第1実施形態のプラン変更処理のフローチャートである。
第1実施形態のプラン復帰処理のフローチャートである。
図5Aは、第3実施形態の情報処理装置のブロック図である。図5Bは、第5実施形態の印刷装置のブロック図である。
【発明を実施するための形態】
【0008】
以下、本開示の例示的な実施形態について説明する。
[1.第1実施形態]
[(1)概要]
第1実施形態の印刷システム1は、運営サーバ2と、情報処理装置3と、印刷装置4とを有している。運営サーバ2及び情報処理装置3は、例えば、インターネット等といった広域ネットワーク4に接続されている。また、印刷装置4は、情報処理装置3と通信可能となっており、情報処理装置3からの指示に応じて印刷を行う。印刷システム1は、印刷装置4にて行われる印刷についてのサービス(以後、印刷サービス)を提供するよう構成されている(図1A参照)。
【0009】
印刷サービスとは、印刷サービスへの加入者により指定された印刷装置4の印刷で消費される消耗品を提供するサービスである。なお、本実施形態では、一例として、1つの印刷装置4が印刷サービスの対象となるが、後述するように、複数の印刷装置4が印刷サービスの対象となってもよい。また、消耗品とは、例えば、インク又はトナー等の着色剤や、用紙等の被印刷媒体等であってもよい。具体的には、印刷サービスとは、例えば、各単位期間につき基本料金を支払うことで、各単位期間の総印刷枚数が上限枚数を超えない場合には、各単位期間に印刷装置4で消費される消耗品を提供するサブスクリプションサービスであってもよい。なお、以後、印刷装置4での印刷に用いられた用紙の枚数を、印刷枚数と記載する。また、総印刷枚数とは、単位期間における印刷枚数の総数を意味する。また、基本料金とは、定額料金であってもよいし、定額料金をベースとしつつ、何らかの要因で変動する料金であってもよい。
【0010】
より詳しくは、単位期間とは、例えば、月又は年であってもよい。つまり、印刷サービスでは、毎月(又は毎年)基本料金を支払うことで、各月(又は各年)の総印刷枚数が上限枚数を超えない場合には、各月(又は各年)に印刷装置4で消費される消耗品が提供されてもよい。
(【0011】以降は省略されています)
この特許をJ-PlatPat(特許庁公式サイト)で参照する
関連特許
ブラザー工業株式会社
電子機器
11日前
ブラザー工業株式会社
スキャナ
1か月前
ブラザー工業株式会社
スキャナ
1か月前
ブラザー工業株式会社
印刷装置
29日前
ブラザー工業株式会社
印刷装置
17日前
ブラザー工業株式会社
水塗布装置
3日前
ブラザー工業株式会社
水塗布装置
3日前
ブラザー工業株式会社
水塗布装置
3日前
ブラザー工業株式会社
水塗布装置
3日前
ブラザー工業株式会社
画像形成装置
1か月前
ブラザー工業株式会社
画像形成装置
16日前
ブラザー工業株式会社
画像形成装置
16日前
ブラザー工業株式会社
画像形成装置
1か月前
ブラザー工業株式会社
画像形成装置
8日前
ブラザー工業株式会社
画像形成装置
16日前
ブラザー工業株式会社
画像形成装置
1か月前
ブラザー工業株式会社
画像形成装置
16日前
ブラザー工業株式会社
シート給送装置
10日前
ブラザー工業株式会社
サポートプログラム
16日前
ブラザー工業株式会社
サポートプログラム
16日前
ブラザー工業株式会社
定着装置及び画像形成装置
8日前
ブラザー工業株式会社
プリンタおよびプログラム
18日前
ブラザー工業株式会社
プリンタおよびプログラム
18日前
ブラザー工業株式会社
インクジェット記録方法及び印刷物
1か月前
ブラザー工業株式会社
画像形成方法及びそれに用いられる液体
1か月前
ブラザー工業株式会社
画像形成装置、画像形成システム、消耗品
1か月前
ブラザー工業株式会社
印刷管理システム、サーバ、印刷管理方法
3日前
ブラザー工業株式会社
プログラム、電子装置、方法、及び印刷システム
1日前
ブラザー工業株式会社
プログラム、データ処理装置、および、データ処理方法
18日前
ブラザー工業株式会社
情報処理プログラム、情報処理装置、及び情報処理方法
3日前
ブラザー工業株式会社
カセット
1か月前
ブラザー工業株式会社
通信システム、サーバ、および、コンピュータプログラム
16日前
ブラザー工業株式会社
プリンタ
1か月前
ブラザー工業株式会社
画像形成装置
22日前
ブラザー工業株式会社
ラベル巻付装置
1か月前
ブラザー工業株式会社
現像カートリッジ
1日前
続きを見る
他の特許を見る