TOP
|
特許
|
意匠
|
商標
特許ウォッチ
Twitter
他の特許を見る
10個以上の画像は省略されています。
公開番号
2025177041
公報種別
公開特許公報(A)
公開日
2025-12-05
出願番号
2024083530
出願日
2024-05-22
発明の名称
工具搬送装置及び工作機械
出願人
ブラザー工業株式会社
代理人
個人
,
個人
主分類
B23Q
3/157 20060101AFI20251128BHJP(工作機械;他に分類されない金属加工)
要約
【課題】把持部の状態を検出する検出部の数の増加を抑制することができる工具搬送装置及び工作機械を提供する。
【解決手段】工具搬送装置は、工具を把持する把持状態又は前記工具を把持しない非把持状態となる把持部と、前記把持部が前記把持状態であるか否かを検出する第一検出部と、前記把持部が前記非把持状態であるか否かを検出する第二検出部と、前記第一検出部及び前記第二検出部の検出結果に基づいて、前記把持部が、前記把持状態及び前記非把持状態とは異なる異常状態であるか否かを判定する判定部とを備える。
【選択図】図11
特許請求の範囲
【請求項1】
工具を把持する把持状態又は前記工具を把持しない非把持状態となる把持部と、
前記把持部が前記把持状態であるか否かを検出する第一検出部と、
前記把持部が前記非把持状態であるか否かを検出する第二検出部と、
前記第一検出部及び前記第二検出部の検出結果に基づいて、前記把持部が、前記把持状態及び前記非把持状態とは異なる異常状態であるか否かを判定する判定部と
を備える工具搬送装置。
続きを表示(約 1,000 文字)
【請求項2】
前記第一検出部が前記把持状態でないことを検出し、前記第二検出部が前記非把持状態でないことを検出した場合、前記判定部は、前記把持部が前記異常状態であると判定する
請求項1に記載の工具搬送装置。
【請求項3】
前記把持部を移動する移動部を備え、
前記移動部の位置が第一範囲にある場合、前記第一検出部は前記把持部が前記把持状態であることを検出する
請求項1又は2に記載の工具搬送装置。
【請求項4】
前記移動部の位置が前記第一範囲とは異なる第二範囲にある場合、前記第二検出部は前記把持部が前記非把持状態でないことを検出する
請求項3に記載の工具搬送装置。
【請求項5】
前記第一検出部は近接センサを備える
請求項3に記載の工具搬送装置。
【請求項6】
前記第二検出部は近接センサを備える
請求項4に記載の工具搬送装置。
【請求項7】
前記判定部にて、前記把持部が前記異常状態であると判定した場合、前記異常状態であることを報知する報知部を備える
請求項1又は2に記載の工具搬送装置。
【請求項8】
工具を把持する把持状態又は前記工具を把持しない非把持状態となる把持部と、
前記把持部を移動する移動部と、
前記移動部が第一検出範囲にあるか否かを検出する第一検出部と、
前記移動部が前記第一検出範囲と異なる第二検出範囲にあるか否かを検出する第二検出部と、
前記第一検出部及び前記第二検出部の検出結果に基づいて、前記把持部が、前記把持状態及び前記非把持状態とは異なる異常状態であるか否かを判定する判定部と
を備える工具搬送装置。
【請求項9】
工具を装着する主軸と、
前記工具を把持する把持状態又は前記工具を把持しない非把持状態となる把持部と、
前記把持部が前記把持状態であるか否かを検出する第一検出部と、
前記把持部が前記非把持状態であるか否かを検出する第二検出部と、
前記第一検出部及び前記第二検出部の検出結果に基づいて、前記把持部が、前記把持状態及び前記非把持状態とは異なる異常状態であるか否かを判定する判定部と
を備える工作機械。
発明の詳細な説明
【技術分野】
【0001】
本技術は、工具を搬送する工具搬送装置及び工作機械に関する。
続きを表示(約 1,100 文字)
【背景技術】
【0002】
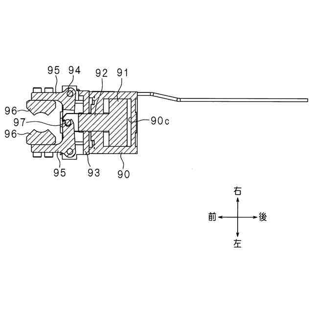
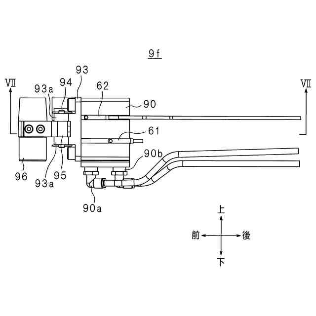
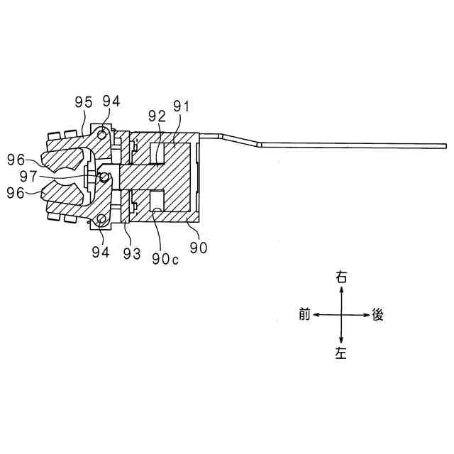
第一マガジンと、第二マガジンと、第一マガジン及び第二マガジンの間で工具を搬送する工具搬送装置とを備える工作機械がある。工具搬送装置は工具を把持するポッドを備える(特許文献1参照)。
【先行技術文献】
【特許文献】
【0003】
国際公開第2022/004484号
【発明の概要】
【発明が解決しようとする課題】
【0004】
工作機械はポッドの状態が工具を把持している状態なのか、工具を把持していない状態なのか、ポッドから工具が脱落した状態なのかを検出することがある。各状態に対応した複数の検出部を設けた場合、検出部の数が増加して、費用が嵩み、配線の複雑化を招くおそれがある。
【0005】
本開示は斯かる事情に鑑みてなされたものであり、把持部の状態を検出する検出部の数の増加を抑制することができる工具搬送装置及び工作機械を提供することを目的とする。
【課題を解決するための手段】
【0006】
本開示の一実施形態に係る工具搬送装置は、工具を把持する把持状態又は前記工具を把持しない非把持状態となる把持部と、前記把持部が前記把持状態であるか否かを検出する第一検出部と、前記把持部が前記非把持状態であるか否かを検出する第二検出部と、前記第一検出部及び前記第二検出部の検出結果に基づいて、前記把持部が、前記把持状態及び前記非把持状態とは異なる異常状態であるか否かを判定する判定部とを備える。
【0007】
本開示においては、第一検出部及び第二検出部の検出結果に基づいて、把持部が、把持状態及び非把持状態とは異なる異常状態であるか否かを判定する。即ち、二つの検出部によって、三つの状態を検出することができ、検出部の数の増加を抑制することができる。
【0008】
本開示の一実施形態に係る工具搬送装置は、前記第一検出部が前記把持状態でないことを検出し、前記第二検出部が前記非把持状態でないことを検出した場合、前記判定部は、前記把持部が前記異常状態であると判定する。
【0009】
本開示においては、第一検出部が把持状態でないことを検出し、第二検出部が非把持状態でないことを検出した場合、把持部が異常状態であると判定する。
【0010】
本開示の一実施形態に係る工具搬送装置は、前記把持部を為に移動する移動部を備え、前記移動部の位置が第一範囲にある場合、前記第一検出部は前記把持部が前記把持状態であることを検出する。
(【0011】以降は省略されています)
この特許をJ-PlatPat(特許庁公式サイト)で参照する
関連特許
ブラザー工業株式会社
電子機器
1か月前
ブラザー工業株式会社
印刷装置
7日前
ブラザー工業株式会社
印刷装置
1か月前
ブラザー工業株式会社
水塗布装置
23日前
ブラザー工業株式会社
水塗布装置
23日前
ブラザー工業株式会社
水塗布装置
23日前
ブラザー工業株式会社
水塗布装置
23日前
ブラザー工業株式会社
液体吐出装置
16日前
ブラザー工業株式会社
画像形成装置
1か月前
ブラザー工業株式会社
画像形成装置
1か月前
ブラザー工業株式会社
液体吐出装置
9日前
ブラザー工業株式会社
画像形成装置
28日前
ブラザー工業株式会社
画像形成装置
2日前
ブラザー工業株式会社
画像形成装置
1か月前
ブラザー工業株式会社
液体吐出装置
今日
ブラザー工業株式会社
液体吐出装置
今日
ブラザー工業株式会社
液体吐出装置
7日前
ブラザー工業株式会社
画像形成装置
1か月前
ブラザー工業株式会社
液体吐出ヘッド
7日前
ブラザー工業株式会社
液滴吐出ヘッド
9日前
ブラザー工業株式会社
シート給送装置
1か月前
ブラザー工業株式会社
サポートプログラム
1か月前
ブラザー工業株式会社
サポートプログラム
1か月前
ブラザー工業株式会社
印刷カセット収納体
1日前
ブラザー工業株式会社
情報処理プログラム
7日前
ブラザー工業株式会社
定着装置及び画像形成装置
28日前
ブラザー工業株式会社
タンクおよび液体吐出装置
7日前
ブラザー工業株式会社
工具搬送装置及び工作機械
今日
ブラザー工業株式会社
プリンタおよびプログラム
1か月前
ブラザー工業株式会社
プリンタおよびプログラム
1か月前
ブラザー工業株式会社
プログラムおよび情報処理装置
7日前
ブラザー工業株式会社
ラベルプリンタおよびプログラム
今日
ブラザー工業株式会社
プログラム、および、データ処理装置
7日前
ブラザー工業株式会社
画像処理装置及び認証処理プログラム
2日前
ブラザー工業株式会社
サポートプログラムおよび印刷システム
16日前
ブラザー工業株式会社
サポートプログラムおよび印刷システム
7日前
続きを見る
他の特許を見る