TOP
|
特許
|
意匠
|
商標
特許ウォッチ
Twitter
他の特許を見る
10個以上の画像は省略されています。
公開番号
2025176338
公報種別
公開特許公報(A)
公開日
2025-12-04
出願番号
2024082412
出願日
2024-05-21
発明の名称
印刷カセット収納体
出願人
ブラザー工業株式会社
代理人
個人
,
個人
主分類
B65D
77/00 20060101AFI20251127BHJP(運搬;包装;貯蔵;薄板状または線条材料の取扱い)
要約
【課題】収納箱内に収納する印刷カセットを取り出しやすい印刷カセット収納体を提供することである。
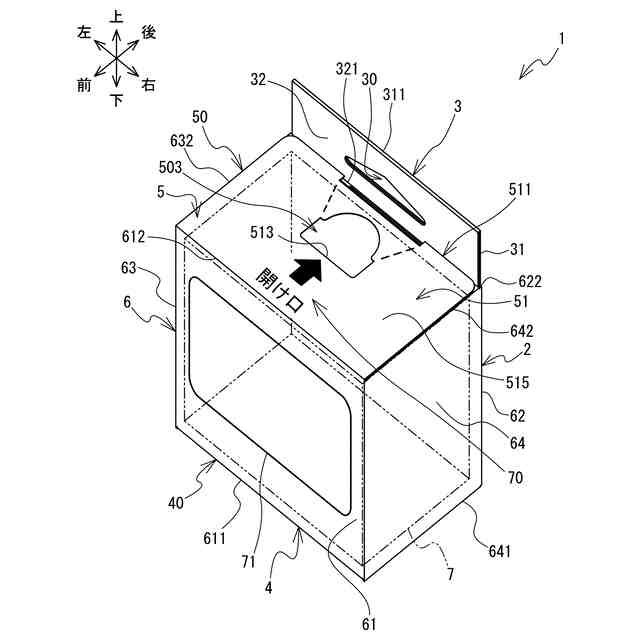
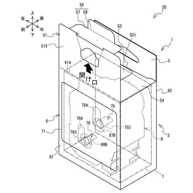
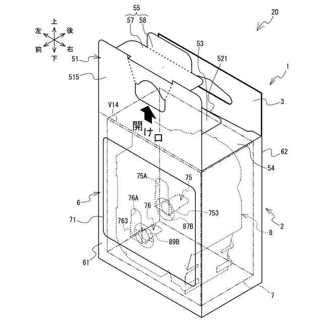
【解決手段】収納箱1の前壁61に形成した突出片75,76は、基端が前壁61に接続する。突出片75,76の自由端は、初期状態において基端の上方に位置する。収納箱1にテープカセット8を収納した状態で、突出片75,76はテープカセット8のカム穴87B,筒穴89Bに挿入され、自由端が基端の後方に位置する。テープカセット8を取り出すとき、収納箱1は天壁が開封され、テープカセット8が上方に引き抜かれる。テープカセット8が上方に移動すると、突出片75,76は、自由端が基端の上方に移動し、初期状態に戻る。突出片75,76がテープカセット8の取り出しを妨げないので、収納箱1はテープカセット8を取り出しやすい。
【選択図】図8
特許請求の範囲
【請求項1】
印刷装置に装着されて被印刷媒体への印刷に用いられる印刷カセットと、
前記印刷カセットを収納する収納箱と
を備えた印刷カセット収納体であって、
前記印刷カセットは、
前記被印刷媒体を収容するケースと、
前記ケースの外面の1つである特定面に形成された少なくとも1つの凹部と
を備え、
前記収納箱は、
開封時に開放される外面である開封面と、
前記開封面に接続する外面の1つで、前記ケースの前記特定面に対向する対向面と、
前記対向面から前記収納箱の内部に突出し、前記ケースの前記少なくとも1つの凹部に挿入される少なくとも1つの突出片と
を備え、
前記凹部に挿入されている全ての前記突出片は、
前記対向面を構成する初期状態から前記収納箱の内部に折り曲げられることにより形成され、
前記対向面に接続する基端と、
前記基端から延び、前記収納箱の内部に配置される自由端と
を有し、
前記開封面を開放して前記印刷カセットを前記収納箱から取り出す際に、前記初期状態に向かう方向に移動可能であり、
前記初期状態では、前記突出片の前記自由端は前記基端よりも前記開封面側にあること
を特徴とする印刷カセット収納体。
続きを表示(約 1,200 文字)
【請求項2】
前記印刷カセットの前記ケースは、複数の前記凹部を有し、
前記収納箱は、複数の前記凹部のそれぞれに対応する複数の前記突出片を有すること
を特徴とする請求項1に記載の印刷カセット収納体。
【請求項3】
前記突出片の部分のうち、もっとも幅の大きな部分の幅は、前記凹部の内径A以上の大きさであること
を特徴とする請求項1に記載の印刷カセット収納体。
【請求項4】
前記突出片は、
前記基端側に位置する部分である土台部と、
前記土台部から前記自由端へ向けて延びる部分である差込部と
を有し、
前記土台部における前記突出片の幅B1は、前記差込部における前記突出片の幅B2よりも大きく、且つ前記凹部の内径A以上であること
を特徴とする請求項3に記載の印刷カセット収納体。
【請求項5】
前記突出片の前記差込部は、前記自由端側の端部に、前記印刷カセットの前記凹部への挿入を案内する案内部を有し、
前記案内部における前記突出片の幅B3は、前記案内部を除く部分の前記差込部の幅B2よりも小さく、且つ前記凹部の内径Aよりも小さいこと
を特徴とする請求項4に記載の印刷カセット収納体。
【請求項6】
前記収納箱は、前記印刷カセットの前記特定面に交差する方向の厚みであるカセット厚が異なる複数種類の前記印刷カセットを収納可能であり、
前記突出片は、前記基端と前記自由端との間の長さを、前記カセット厚に応じた長さに変更可能であること
を特徴とする請求項1に記載の印刷カセット収納体。
【請求項7】
前記収納箱の前記対向面には、少なくとも前記突出片の形成部分を覆うラベルが貼設されること
を特徴とする請求項1に記載の印刷カセット収納体。
【請求項8】
前記ラベルには、前記収納箱に収納される前記印刷カセットに関する情報が印刷されていること
を特徴とする請求項7に記載の印刷カセット収納体。
【請求項9】
前記突出片の前記基端と前記自由端との間の長さである突出長Xは、前記収納箱の内部で前記開封面に向かう方向において、前記印刷カセットと前記開封面との間の距離Lよりも長いこと
を特徴とする請求項7に記載の印刷カセット収納体。
【請求項10】
前記収納箱は、前記対向面に対して前記収納箱の内部を介して対向する裏側面を有し、
前記印刷カセットは、前記特定面に交差する方向における前記特定面とは反対側の外面である反対面を有し、
複数の前記凹部のうちの一部の前記凹部は、前記反対面に設けられ、
複数の前記突出片のうちの一部の前記突出片は、前記裏側面に形成されたこと
を特徴とする請求項2に記載の印刷カセット収納体。
(【請求項11】以降は省略されています)
発明の詳細な説明
【技術分野】
【0001】
本発明は、印刷カセット収納体に関する。
続きを表示(約 1,900 文字)
【背景技術】
【0002】
特許文献1には、カセットテープを収納するカセットテープ用ケースが開示されている。カセットテープ用ケースはカセットテープの平面形状同大の平面部を有し、平面部に一対の第1切り起こし片が切り込み線により形成されている。一対の第1切り起こし片は、ハブ止めピースに切り込みによって形成された一対の第2の切り起こし片と互いに押し合うように組み合わされ、ハブ止めとして形成される。ハブ止めは、カセットテープ用ケース内に格納されたカセットテープのハブ穴にはめ込まれ、リールの回転並びにテープの緩みが防止される。
【先行技術文献】
【特許文献】
【0003】
特開平8-258883号公報
【発明の概要】
【発明が解決しようとする課題】
【0004】
カセットテープをカセットテープ用ケースから取り出す場合、第1切り起こし片と第2切り起こし片とが互いに押し合うためハブ止めが倒れにくく、カセットテープが取り出しにくいという問題がある。
【0005】
本発明の目的は、収納箱内に収納する印刷カセットを取り出しやすい印刷カセット収納体を提供することである。
【課題を解決するための手段】
【0006】
本発明の一態様によれば、印刷装置に装着されて被印刷媒体への印刷に用いられる印刷カセットと、前記印刷カセットを収納する収納箱とを備えた印刷カセット収納体であって、前記印刷カセットは、前記被印刷媒体を収容するケースと、前記ケースの外面の1つである特定面に形成された少なくとも1つの凹部とを備え、前記収納箱は、開封時に開放される外面である開封面と、前記開封面に接続する外面の1つで、前記ケースの前記特定面に対向する対向面と、前記対向面から前記収納箱の内部に突出し、前記ケースの前記少なくとも1つの凹部に挿入される少なくとも1つの突出片とを備え、前記凹部に挿入されている全ての前記突出片は、前記対向面を構成する初期状態から前記収納箱の内部に折り曲げられることにより形成され、前記対向面に接続する基端と、前記基端から延び、前記収納箱の内部に配置される自由端とを有し、前記開封面を開放して前記印刷カセットを前記収納箱から取り出す際に、前記初期状態に向かう方向に移動可能であり、前記初期状態では、前記突出片の前記自由端は前記基端よりも前記開封面側にあることを特徴とする印刷カセット収納体が提供される。
【0007】
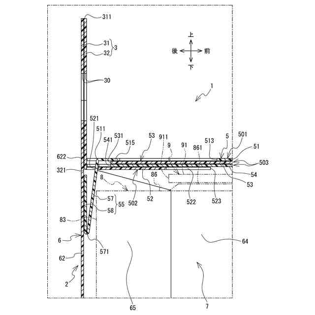
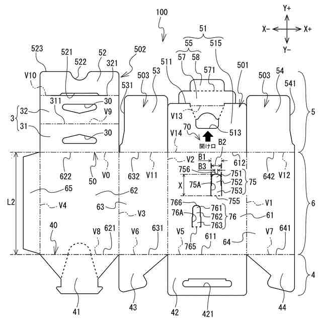
印刷カセット収納体は、収納箱の突出片が印刷カセットのケースの凹部に挿入されていることにより、収納箱内での印刷カセットの移動を抑制する。印刷カセットの取り出し時、開封面が開封され、印刷カセットは収納箱から取り出される。その際に、突出片は初期状態に向かうため、印刷カセットの取り出しを妨げないので、印刷カセット収納体は、収納箱内に収納する印刷カセットを取り出しやすい。
【0008】
本態様において、前記印刷カセットの前記ケースは、複数の前記凹部を有し、前記収納箱は、複数の前記凹部のそれぞれに対応する複数の前記突出片を有してもよい。複数の突出片で印刷カセットを位置決め保持することで、印刷カセット収納体は、例えば運搬時の振動などによる印刷カセットの特定面の面方向への移動を抑制することができる。よって印刷カセット収納体は、印刷カセットと収納箱とが相対的に擦れることを抑制し、紙粉の発生を抑制することができる。
【0009】
本態様において、前記突出片の部分のうち、もっとも幅の大きな部分の幅は、前記凹部の内径A以上の大きさであってもよい。突出片の最大幅が凹部の内径A以上の大きさであるので、印刷カセット収納体は、印刷カセットを収納箱に収納した場合に、突出片が凹部に嵌め込まれることによって、印刷カセットを収納箱内で位置決めして保持し、印刷カセットの厚み方向への移動を制限することができる。
【0010】
本態様において、前記突出片は、前記基端側に位置する部分である土台部と、前記土台部から前記自由端へ向けて延びる部分である差込部とを有し、前記土台部における前記突出片の幅B1は、前記差込部における前記突出片の幅B2よりも大きく、且つ前記凹部の内径A以上であってもよい。土台部の幅B1が凹部の内径Aよりも大きいので、印刷カセット収納体は、印刷カセットを収納箱に収納した場合に、土台部が凹部に嵌め込まれることによって、印刷カセットを収納箱内で位置決めして保持し、印刷カセットの厚み方向への移動を制限することができる。
(【0011】以降は省略されています)
この特許をJ-PlatPat(特許庁公式サイト)で参照する
関連特許
ブラザー工業株式会社
電子機器
1か月前
ブラザー工業株式会社
印刷装置
6日前
ブラザー工業株式会社
水塗布装置
22日前
ブラザー工業株式会社
水塗布装置
22日前
ブラザー工業株式会社
水塗布装置
22日前
ブラザー工業株式会社
水塗布装置
22日前
ブラザー工業株式会社
液体吐出装置
6日前
ブラザー工業株式会社
画像形成装置
27日前
ブラザー工業株式会社
画像形成装置
1日前
ブラザー工業株式会社
液体吐出装置
15日前
ブラザー工業株式会社
液体吐出装置
8日前
ブラザー工業株式会社
液滴吐出ヘッド
8日前
ブラザー工業株式会社
シート給送装置
29日前
ブラザー工業株式会社
液体吐出ヘッド
6日前
ブラザー工業株式会社
印刷カセット収納体
今日
ブラザー工業株式会社
情報処理プログラム
6日前
ブラザー工業株式会社
定着装置及び画像形成装置
27日前
ブラザー工業株式会社
タンクおよび液体吐出装置
6日前
ブラザー工業株式会社
プログラムおよび情報処理装置
6日前
ブラザー工業株式会社
画像処理装置及び認証処理プログラム
1日前
ブラザー工業株式会社
プログラム、および、データ処理装置
6日前
ブラザー工業株式会社
サポートプログラムおよび印刷システム
15日前
ブラザー工業株式会社
サポートプログラムおよび印刷システム
6日前
ブラザー工業株式会社
印刷管理システム、サーバ、印刷管理方法
22日前
ブラザー工業株式会社
液滴吐出装置、その制御方法及びプログラム
今日
ブラザー工業株式会社
プログラム、電子装置、方法、及び印刷システム
20日前
ブラザー工業株式会社
コンピュータプログラム、および、データ処理装置
6日前
ブラザー工業株式会社
液体吐出装置用ヘッド及びこれを備える液体吐出装置
6日前
ブラザー工業株式会社
情報処理プログラム、情報処理装置、及び情報処理方法
22日前
ブラザー工業株式会社
画像形成装置
14日前
ブラザー工業株式会社
現像カートリッジ
20日前
ブラザー工業株式会社
サポートプログラム
20日前
ブラザー工業株式会社
サポートプログラム
20日前
ブラザー工業株式会社
サポートプログラム
6日前
ブラザー工業株式会社
コンピュータプログラム、データ処理装置、および、シートの製造方法
22日前
ブラザー工業株式会社
タンクセット及び液体消費装置
27日前
続きを見る
他の特許を見る