TOP
|
特許
|
意匠
|
商標
特許ウォッチ
Twitter
他の特許を見る
10個以上の画像は省略されています。
公開番号
2025172344
公報種別
公開特許公報(A)
公開日
2025-11-26
出願番号
2024077806
出願日
2024-05-13
発明の名称
液体吐出装置
出願人
ブラザー工業株式会社
代理人
個人
,
個人
主分類
B41J
2/175 20060101AFI20251118BHJP(印刷;線画機;タイプライター;スタンプ)
要約
【課題】液体吐出装置において、ノズル配列方向に沿って配列された複数のノズルに連通し、両端部がインク供給孔に接続されたマニホールドにおいて気泡が残ることを抑制する。
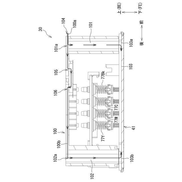
【解決手段】ノズル面41に開口する複数のノズルと連通するマニホールド103と、マニホールド103の第1端部103aと連通し、第1端部103aから上方へ延びる第1エアトラップ室101と、マニホールド103の第2端部103bと連通し、第2端部103bから上方へ延びる第2エアトラップ室102と、第1エアトラップ室101および第2エアトラップ室102と連通する供給流路100と、を備える記録ヘッド30において、供給流路100において第1エアトラップ室101へ繋がる第1流路100aの第1開口101aと、供給流路100において第2エアトラップ室102へ繋がる第2流路100bの第2開口105と、をカム機構で択一的に開閉して、パージ吸引動作を行う。
【選択図】図8
特許請求の範囲
【請求項1】
ヘッドと、第1バルブと、第2バルブと、カム機構と、を有する液体吐出装置であって、
上記ヘッドは、
ノズル面に開口する複数のノズルと、
上記複数のノズルと連通するマニホールドと、
上記マニホールドの第1端部と連通し、上記第1端部から上方へ延びる第1エアトラップ室と、
上記マニホールドの第2端部と連通し、上記第2端部から上方へ延びる第2エアトラップ室と、
上記第1エアトラップ室および上記第2エアトラップ室と連通する供給流路と、を有しており、
上記第1バルブは、上記供給流路において上記第1エアトラップ室へ繋がる第1流路を開閉し、
上記第2バルブは、上記供給流路において上記第2エアトラップ室へ繋がる第2流路を開閉し、
上記カム機構は、上記第1バルブが上記第1流路を閉塞しかつ上記第2バルブが上記第2流路を開放する第1状態、および上記第1バルブが上記第1流路を開放しかつ上記第2バルブが上記第2流路を閉塞する第2状態のいずれかの状態に択一的に変更する液体吐出装置。
続きを表示(約 1,200 文字)
【請求項2】
上記第1流路は、上記第1エアトラップ室の上端の第1開口を含み、
上記第1バルブは、上記第1開口を開閉し、
上記第2流路は、上記第1エアトラップ室の上端と上記第2エアトラップ室の上端との間に位置する第2開口を含み、
上記第2バルブは、上記第2開口を開閉する請求項1に記載の液体吐出装置。
【請求項3】
上記第1エアトラップ室の第1容積と、上記第2エアトラップ室の第2容積は概ね同じである請求項1に記載の液体吐出装置。
【請求項4】
上記ヘッドは、
排気ポートと、
第2エアトラップ室の上端と上記排気ポートとを連通する排気流路と、をさらに備え、
上記供給流路は液体が供給される供給孔を有しており、
上記第1エアトラップ室は、上記供給流路において液体が流通する流通方向において上記第2エアトラップ室の上流に位置しており、
上記供給流路は、上記排気流路と連通する請求項3に記載の液体吐出装置。
【請求項5】
上記カム機構は、
モータと、
回転カムと、
上記モータの駆動力を上記回転カムに伝達する伝達機構と、を備えており、
上記伝達機構は、減速ギヤを有する請求項1に記載の液体吐出装置。
【請求項6】
上記モータの正回転により駆動するポンプ機構をさらに備えており、
上記伝達機構は、上記モータの正回転を上記回転カムに伝達せず、上記モータの逆回転を上記回転カムに伝達する切替え機構をさらに有する請求項5に記載の液体吐出装置。
【請求項7】
上記ポンプ機構は、チューブポンプであり、
上記モータの正回転により吸引圧を生成し、
上記モータの逆回転により、チューブ内を大気開放する請求項6に記載の液体吐出装置。
【請求項8】
上記切替え機構は、上記回転カムを駆動するギヤと接離する遊星ギヤである請求項7に記載の液体吐出装置。
【請求項9】
上記遊星ギヤは、上記モータの逆回転により、上記ギヤと噛合する向きへ移動し、上記ポンプ機構が上記チューブ内を大気開放した後に、上記ギヤと噛合する請求項8に記載の液体吐出装置。
【請求項10】
上記ヘッド、上記第1バルブ、上記第2バルブ、上記カム機構を搭載して移動するキャリッジをさらに備えており、
上記カム機構は、スライドカムであり、
上記スライドカムは、上記キャリッジの移動によって壁と当接することによって、上記第1状態、上記第2状態、および上記第1バルブが上記第1流路を開放しかつ上記第2バルブが上記第2流路を開放する第3状態のいずれかの位置にスライドする請求項1に記載の液体吐出装置。
発明の詳細な説明
【技術分野】
【0001】
本開示は、液体吐出装置に関する。
続きを表示(約 1,400 文字)
【背景技術】
【0002】
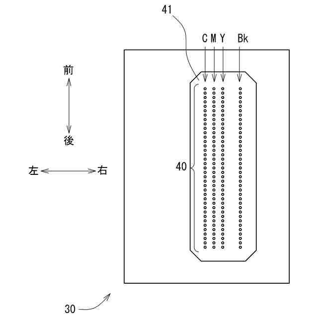
液体吐出装置として、ノズル配列方向に沿って配列された複数のノズルからなるノズル群と、ノズル配列方向に延びてノズル群に連通するマニホールドとを備えたものがある。マニホールドの両端部は、インク供給孔と接続されている。マニホールドには、2つのインク供給孔を経由してインクが供給される。
【先行技術文献】
【特許文献】
【0003】
特開2018-134880号公報
【発明の概要】
【発明が解決しようとする課題】
【0004】
ノズルを覆うキャップ内を負圧として、ノズルからインクを強制的に排出させるパージを行うことがある。パージにおいて、マニホールドの両端部からマニホールドの中央部へ向かってインクが流れる。パージによって、例えばマニホールドに存在する気泡がインクと共にノズルから排出される。
【0005】
しかし、マニホールドの中央部において、両側から流れるインクが合流するが、合流部分ではインクの流速が遅くなる。インクの流速が遅くなると、マニホールドの内壁に付着した気泡が内壁から離れず、パージを行ってもマニホールドから気泡が排出されないおそれがある。
【0006】
本開示は、液体吐出装置において、ノズル配列方向に沿って配列された複数のノズルに連通し、両端部がインク供給孔に接続されたマニホールドにおいて気泡が残ることを抑制することを目的とする。
【課題を解決するための手段】
【0007】
(1)本開示に係る液体吐出装置は、ヘッドと、第1バルブと、第2バルブと、カム機構と、を有する液体吐出装置であって、上記ヘッドは、ノズル面に開口する複数のノズルと、上記複数のノズルと連通するマニホールドと、上記マニホールドの第1端部と連通し、上記第1端部から上方へ延びる第1エアトラップ室と、上記マニホールドの第2端部と連通し、上記第2端部から上方へ延びる第2エアトラップ室と、上記第1エアトラップ室および上記第2エアトラップ室と連通する供給流路と、を有しており、上記第1バルブは、上記供給流路において上記第1エアトラップ室へ繋がる第1流路を開閉し、上記第2バルブは、上記供給流路において上記第2エアトラップ室へ繋がる第2流路を開閉し、上記カム機構は、上記第1バルブが上記第1流路を閉塞しかつ上記第2バルブが上記第2流路を開放する第1状態、および上記第1バルブが上記第1流路を開放しかつ上記第2バルブが上記第2流路を閉塞する第2状態のいずれかの状態に択一的に変更する。
【0008】
上記の構成によれば、カム機構によって、第1バルブおよび第2バルブを第1状態または第2状態に択一的に変更できる。第1状態または第2状態においてパージが行われることにより、マニホールドにおいて相反する向きから流れる液体が合流することが抑制される。
【0009】
(2)上記第1流路は、上記第1エアトラップ室の上端の第1開口を含み、上記第1バルブは、上記第1開口を開閉し、上記第2流路は、上記第1エアトラップ室の上端と上記第2エアトラップ室の上端との間に位置する第2開口を含み、上記第2バルブは、上記第2開口を開閉してもよい。
【0010】
(3)上記第1エアトラップ室の第1容積と、上記第2エアトラップ室の第2容積は概ね同じであってもよい。
(【0011】以降は省略されています)
この特許をJ-PlatPat(特許庁公式サイト)で参照する
関連特許
ブラザー工業株式会社
印刷装置
1か月前
ブラザー工業株式会社
印刷装置
29日前
ブラザー工業株式会社
電子機器
23日前
ブラザー工業株式会社
水塗布装置
15日前
ブラザー工業株式会社
水塗布装置
15日前
ブラザー工業株式会社
水塗布装置
15日前
ブラザー工業株式会社
水塗布装置
15日前
ブラザー工業株式会社
画像形成装置
28日前
ブラザー工業株式会社
画像形成装置
20日前
ブラザー工業株式会社
画像形成装置
1か月前
ブラザー工業株式会社
液体吐出装置
8日前
ブラザー工業株式会社
画像形成装置
28日前
ブラザー工業株式会社
画像形成装置
28日前
ブラザー工業株式会社
画像形成装置
28日前
ブラザー工業株式会社
液体吐出装置
1日前
ブラザー工業株式会社
シート給送装置
22日前
ブラザー工業株式会社
液滴吐出ヘッド
1日前
ブラザー工業株式会社
サポートプログラム
28日前
ブラザー工業株式会社
サポートプログラム
28日前
ブラザー工業株式会社
定着装置及び画像形成装置
20日前
ブラザー工業株式会社
プリンタおよびプログラム
1か月前
ブラザー工業株式会社
プリンタおよびプログラム
1か月前
ブラザー工業株式会社
インクジェット記録方法及び印刷物
1か月前
ブラザー工業株式会社
サポートプログラムおよび印刷システム
8日前
ブラザー工業株式会社
画像形成装置、画像形成システム、消耗品
1か月前
ブラザー工業株式会社
印刷管理システム、サーバ、印刷管理方法
15日前
ブラザー工業株式会社
プログラム、電子装置、方法、及び印刷システム
13日前
ブラザー工業株式会社
プログラム、データ処理装置、および、データ処理方法
1か月前
ブラザー工業株式会社
情報処理プログラム、情報処理装置、及び情報処理方法
15日前
ブラザー工業株式会社
カセット
1か月前
ブラザー工業株式会社
プリンタ
1か月前
ブラザー工業株式会社
通信システム、サーバ、および、コンピュータプログラム
28日前
ブラザー工業株式会社
画像形成装置
7日前
ブラザー工業株式会社
画像形成装置
1か月前
ブラザー工業株式会社
ラベル巻付装置
1か月前
ブラザー工業株式会社
現像カートリッジ
13日前
続きを見る
他の特許を見る