TOP
|
特許
|
意匠
|
商標
特許ウォッチ
Twitter
他の特許を見る
10個以上の画像は省略されています。
公開番号
2025168966
公報種別
公開特許公報(A)
公開日
2025-11-12
出願番号
2024073881
出願日
2024-04-30
発明の名称
水塗布装置
出願人
ブラザー工業株式会社
代理人
個人
,
個人
主分類
B65C
9/22 20060101AFI20251105BHJP(運搬;包装;貯蔵;薄板状または線条材料の取扱い)
要約
【課題】塗布部材の水がラベルの第一面に付着することを抑制できる水塗布装置を提供する。
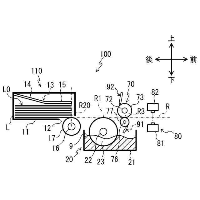
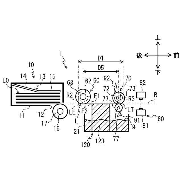
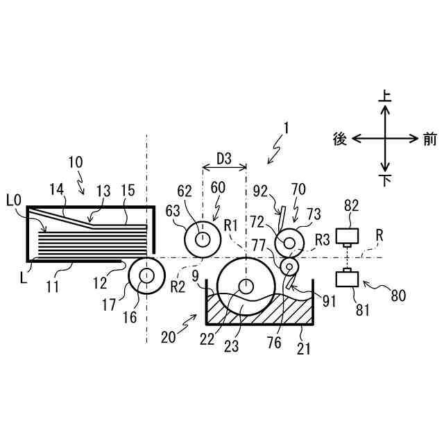
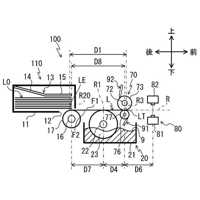
【解決手段】水塗布装置1は塗布部材23、第一接触部材63、及び第二接触部材73を有する。塗布部材23は、第一位置R1においてラベルLの第二面F2に接触し、第二面F2に水9を塗布する。第一接触部材63は、第二位置R2においてラベルLの第一面F1に接触する。第二位置R2は、搬送経路R上において第一位置R1に対して搬送方向の上流の位置である。第二接触部材73は、第三位置R3においてラベルLの第一面F1に接触する。第三位置R3は、搬送経路R上において第一位置R1に対して搬送方向の下流の位置である。第二位置R2と第三位置R3との搬送方向の距離は、長さD5である。長さD5はラベルLの搬送方向の長さD1よりも小さい(D5<D1)。
【選択図】図3
特許請求の範囲
【請求項1】
ラベルを搬送しながら前記ラベルの第一面とは反対側で且つ水活性粘着剤が設けられた第二面に水を塗布する水塗布装置であって、
前記ラベルの搬送経路上の第一位置において、前記第二面に接触し、前記第二面に前記水を塗布する塗布部材と、
前記搬送経路上において前記第一位置よりも前記ラベルの搬送方向の上流の第二位置において、前記第一面に接触する第一接触部材と、
前記搬送経路上において前記第一位置よりも前記搬送方向の下流の第三位置であって、前記第二位置と第三位置との前記搬送方向の距離が前記ラベルの前記搬送方向の長さよりも小さい第三位置において、前記第一面に接触する第二接触部材と、
を備えることを特徴とする水塗布装置。
続きを表示(約 570 文字)
【請求項2】
前記塗布部材は、ローラ状であることを特徴とする請求項1に記載の水塗布装置。
【請求項3】
前記塗布部材を回転させる塗布回転駆動部を有することを特徴とする請求項2に記載の水塗布装置。
【請求項4】
前記水を収容する水槽を有し、
前記塗布部材の一部は、前記水槽に収容された前記水に浸かること
を特徴とする請求項2又は3に記載の水塗布装置。
【請求項5】
前記塗布部材は、前記水を含浸させた含浸部材であることを特徴とする請求項1に記載の水塗布装置。
【請求項6】
前記第一接触部材は、ローラ状であることを特徴とする請求項1に記載の水塗布装置。
【請求項7】
前記第一接触部材を回転させる第一駆動部を有することを特徴とする請求項6に記載の水塗布装置。
【請求項8】
前記第一接触部材は、板状であることを特徴とする請求項1に記載の水塗布装置。
【請求項9】
前記第二接触部材は、ローラ状であることを特徴とする請求項1に記載の水塗布装置。
【請求項10】
前記第二接触部材を回転させる第二駆動部を有することを特徴とする請求項9に記載の水塗布装置。
(【請求項11】以降は省略されています)
発明の詳細な説明
【技術分野】
【0001】
本発明は、水塗布装置に関する。
続きを表示(約 1,400 文字)
【背景技術】
【0002】
裏面に水溶性粘着剤層が設けられたラベルに水を付ける水付け装置が知られている。特許文献1に記載の水付け装置は液槽と、回転ローラと、押圧ばねとを有する。液槽は水を収容する。回転ローラは液槽内に水平に軸支した回転軸の周りを回転可能である。押圧ばねは回転ローラの上方に設けられ、回転ローラに上方から接触する。回転ローラを回転してラベルを搬送すると、回転ローラと押圧ばねとの間でラベルが挟持され、回転ローラに付着した液槽の水がラベルの裏面に付けられる。
【先行技術文献】
【特許文献】
【0003】
実開昭52-124700号公報
【発明の概要】
【発明が解決しようとする課題】
【0004】
上記水付け装置では、押圧ばねは回転ローラと接触するので、回転ローラに付着した水が押圧ばねに付着する可能性がある。仮に押圧ばねが回転ローラと接触しない場合にも、押圧ばねが回転ローラとの間でラベルを挟持するために、押圧ばねは回転ローラに対してラベルの厚み程度にしか離隔していないので、回転ローラに付着した水が押圧ばねに付着し、押圧ばねを介してラベルのおもて面に水が付着する可能性がある。
【0005】
本発明の目的は、塗布部材の水がラベルの第一面に付着することを抑制できる水塗布装置を提供することである。
【課題を解決するための手段】
【0006】
本発明の第一態様に係る水塗布装置は、ラベルを搬送しながら前記ラベルの第一面とは反対側で且つ水活性粘着剤が設けられた第二面に水を塗布する水塗布装置であって、前記ラベルの搬送経路上の第一位置において、前記第二面に接触し、前記第二面に前記水を塗布する塗布部材と、前記搬送経路上において前記第一位置よりも前記ラベルの搬送方向の上流の第二位置において、前記第一面に接触する第一接触部材と、前記搬送経路上において前記第一位置よりも前記搬送方向の下流の第三位置であって、前記第二位置との前記搬送方向の距離が前記ラベルの前記搬送方向の長さよりも小さい第三位置において、前記第一面に接触する第二接触部材と、を備えることを特徴とする。
【0007】
第一態様の水塗布装置では、塗布部材と対向する挟持部材の代わりに、第一接触部材と第二接触部材を設けることにより、ラベルを挟持する挟持部材が不要となる。したがって、塗布部材の水が第一面に付着することを抑制できる。
【0008】
第一態様において、前記塗布部材は、ローラ状であってもよい。これによれば、塗布部材がローラであるので、水塗布装置は第二面に対して均一に水を塗布できる。
【0009】
第一態様において、前記塗布部材を回転させる塗布回転駆動部を有してもよい。これによれば、塗布回転駆動部が塗布部材を回転することで、水塗布装置は第二面に対して均一に水を塗布しつつ、ラベルを搬送できる。
【0010】
第一態様において、前記水を収容する水槽を有し、前記塗布部材の一部は、前記水槽に収容された前記水に浸かってもよい。これによれば、塗布部材の一部が水に浸かっているので、水塗布装置は簡単な構成で第二面に水を塗布できる。
(【0011】以降は省略されています)
この特許をJ-PlatPat(特許庁公式サイト)で参照する
関連特許
ブラザー工業株式会社
印刷装置
1か月前
ブラザー工業株式会社
印刷装置
1か月前
ブラザー工業株式会社
電子機器
1か月前
ブラザー工業株式会社
印刷装置
6日前
ブラザー工業株式会社
水塗布装置
22日前
ブラザー工業株式会社
水塗布装置
22日前
ブラザー工業株式会社
水塗布装置
22日前
ブラザー工業株式会社
水塗布装置
22日前
ブラザー工業株式会社
液体吐出装置
8日前
ブラザー工業株式会社
画像形成装置
1か月前
ブラザー工業株式会社
画像形成装置
1か月前
ブラザー工業株式会社
画像形成装置
1か月前
ブラザー工業株式会社
画像形成装置
1か月前
ブラザー工業株式会社
画像形成装置
27日前
ブラザー工業株式会社
液体吐出装置
15日前
ブラザー工業株式会社
画像形成装置
1日前
ブラザー工業株式会社
液体吐出装置
6日前
ブラザー工業株式会社
液滴吐出ヘッド
8日前
ブラザー工業株式会社
液体吐出ヘッド
6日前
ブラザー工業株式会社
シート給送装置
29日前
ブラザー工業株式会社
情報処理プログラム
6日前
ブラザー工業株式会社
サポートプログラム
1か月前
ブラザー工業株式会社
サポートプログラム
1か月前
ブラザー工業株式会社
定着装置及び画像形成装置
27日前
ブラザー工業株式会社
タンクおよび液体吐出装置
6日前
ブラザー工業株式会社
プリンタおよびプログラム
1か月前
ブラザー工業株式会社
プリンタおよびプログラム
1か月前
ブラザー工業株式会社
プログラムおよび情報処理装置
6日前
ブラザー工業株式会社
インクジェット記録方法及び印刷物
1か月前
ブラザー工業株式会社
プログラム、および、データ処理装置
6日前
ブラザー工業株式会社
画像処理装置及び認証処理プログラム
1日前
ブラザー工業株式会社
サポートプログラムおよび印刷システム
6日前
ブラザー工業株式会社
サポートプログラムおよび印刷システム
15日前
ブラザー工業株式会社
印刷管理システム、サーバ、印刷管理方法
22日前
ブラザー工業株式会社
プログラム、電子装置、方法、及び印刷システム
20日前
ブラザー工業株式会社
コンピュータプログラム、および、データ処理装置
6日前
続きを見る
他の特許を見る