TOP
|
特許
|
意匠
|
商標
特許ウォッチ
Twitter
他の特許を見る
10個以上の画像は省略されています。
公開番号
2025168968
公報種別
公開特許公報(A)
公開日
2025-11-12
出願番号
2024073884
出願日
2024-04-30
発明の名称
水塗布装置
出願人
ブラザー工業株式会社
代理人
個人
,
個人
主分類
B65C
9/22 20060101AFI20251105BHJP(運搬;包装;貯蔵;薄板状または線条材料の取扱い)
要約
【課題】本発明の目的は、水が媒体の第一面に付着することを抑制できる水塗布装置を提供する。
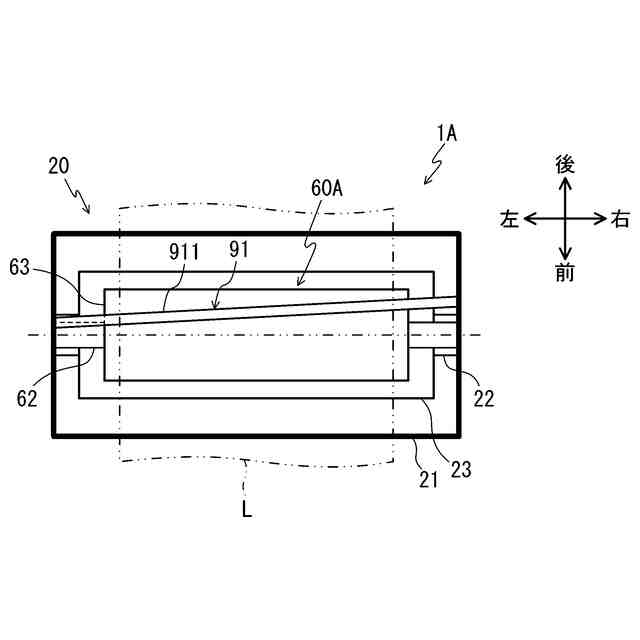
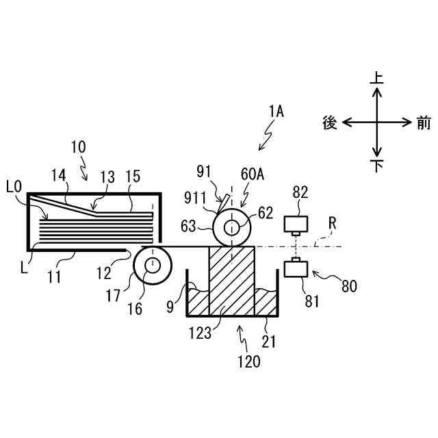
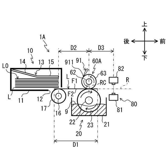
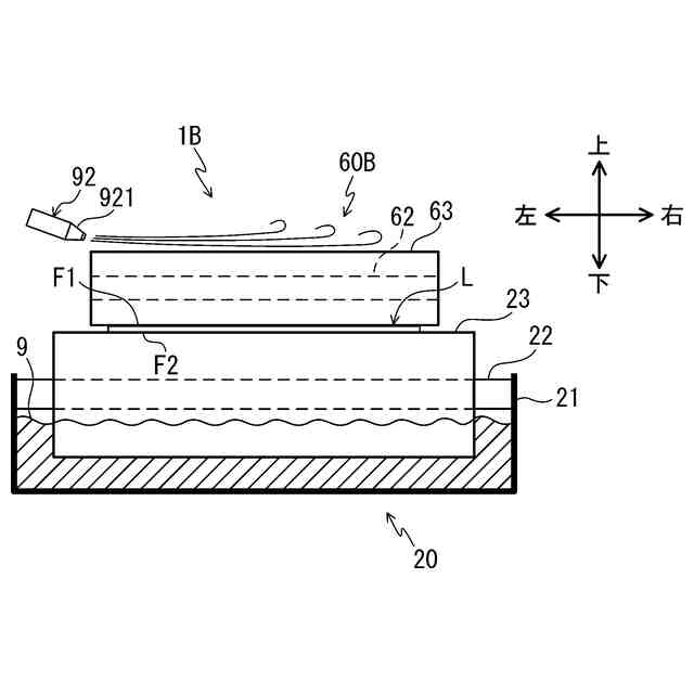
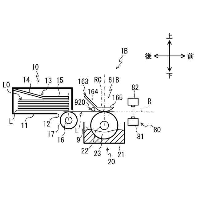
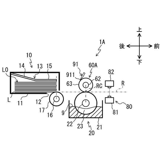
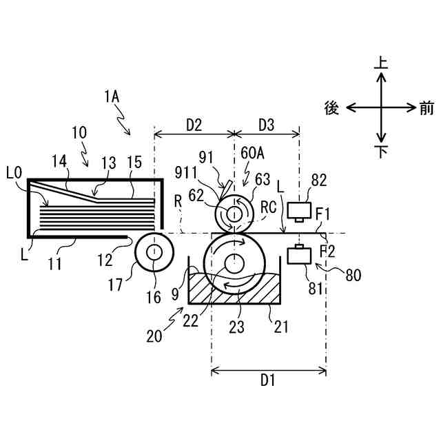
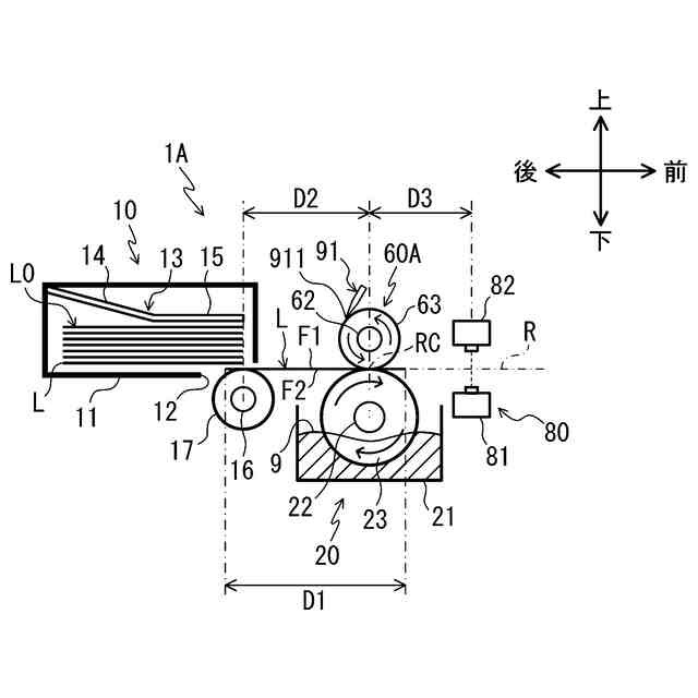
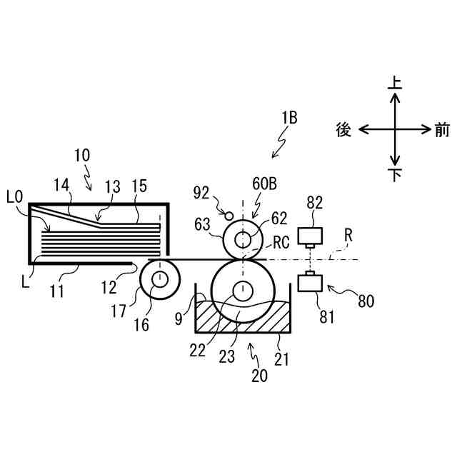
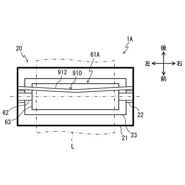
【解決手段】水塗布装置1Aは、供給部材17、塗布部材23、挟持部材63、及び水除去機構91を有する。供給部材17は、ラベルLを塗布部材23に向けて搬送する。塗布部材23は、供給部材17により搬送されるラベルLの第二面F2に接触し、第二面F2に水9を塗布する。挟持部材63は、ラベルLの第一面F1に接触し、塗布部材23との間でラベルLを挟持する。水除去機構91は挟持部材63と別体であり、挟持部材63に付着した水9を除去する。
【選択図】図2
特許請求の範囲
【請求項1】
媒体の第一面とは反対側で且つ水活性粘着剤が設けられた第二面に水を塗布する水塗布装置であって、
前記媒体を搬送する搬送部と、
前記搬送部により搬送される前記媒体の前記第二面に対して接触し、前記第二面に前記水を塗布する塗布部材と、
前記第一面と接触し前記塗布部材との間で前記媒体を挟持する挟持部材と、
前記挟持部材と別体であり、前記挟持部材に付着した水を前記挟持部材から除去する水除去機構と、
を備えることを特徴とする水塗布装置。
続きを表示(約 670 文字)
【請求項2】
前記挟持部材は、回転可能なローラであることを特徴とする請求項1に記載の水塗布装置。
【請求項3】
前記水除去機構は、前記ローラに接触して前記水を掻き取るブレードを含むことを特徴とする請求項2に記載の水塗布装置。
【請求項4】
前記ブレードは、前記ローラにおける前記塗布部材との間で前記媒体を挟持する挟持位置から前記ローラの回転方向の上流側で前記ローラに接触することを特徴とする請求項3に記載の水塗布装置。
【請求項5】
前記ブレードにおける前記ローラとの接触部は、前記ローラの径方向から視て前記ローラの回転方向に対して傾斜していることを特徴とする請求項3に記載の水塗布装置。
【請求項6】
前記水除去機構は、前記ローラにエアを吹き付ける吹付装置を含むことを特徴とする請求項2に記載の水塗布装置。
【請求項7】
前記吹付装置は、前記エアを前記ローラの軸方向に吹き付けることを特徴とする請求項6に記載の水塗布装置。
【請求項8】
前記水除去機構は、前記ローラから除去された前記水を回収する回収部を更に有することを特徴とする請求項3又は6に記載の水塗布装置。
【請求項9】
前記挟持部材は、板であることを特徴とする請求項1に記載の水塗布装置。
【請求項10】
前記水除去機構は、前記板にエアを吹き付ける吹付装置を含むことを特徴とする請求項9に記載の水塗布装置。
(【請求項11】以降は省略されています)
発明の詳細な説明
【技術分野】
【0001】
本発明は、水塗布装置に関する。
続きを表示(約 1,400 文字)
【背景技術】
【0002】
裏面に水活性粘着剤層が設けられたラベルに水を付ける水付け装置が知られている。特許文献1に記載の水付け装置は液槽と、回転ローラと、押圧ばねとを有する。液槽は水を収容する。回転ローラは液槽内に水平に軸支した回転軸の周りを回転可能である。押圧ばねは回転ローラの上方に設けられ、回転ローラに上方から接触する。回転ローラを回転してラベルを搬送すると、回転ローラと押圧ばねとの間でラベルが挟持され、回転ローラに付着した液槽の水がラベルの裏面に付けられる。
【先行技術文献】
【特許文献】
【0003】
実開昭52-124700号公報
【発明の概要】
【発明が解決しようとする課題】
【0004】
上記水付け装置では、押圧ばねは回転ローラと接触するので、回転ローラに付着した水が押圧ばねに付着する可能性がある。仮に押圧ばねが回転ローラと接触しない場合にも、押圧ばねが回転ローラとの間でラベルを挟持するために、押圧ばねは回転ローラに対してラベルの厚み程度にしか離隔していないので、回転ローラに付着した水が押圧ばねに付着するときがある。押圧ばねに付着した水は水滴となって落下、又は押圧ばねを介してラベルのおもて面に接触し、ラベルのおもて面に付着する可能性がある。
【0005】
本発明の目的は、水が媒体の第一面に付着することを抑制できる水塗布装置を提供することである。
【課題を解決するための手段】
【0006】
本発明に係る水塗布装置は、媒体の第一面とは反対側で且つ水活性粘着剤が設けられた第二面に水を塗布する水塗布装置であって、前記媒体を搬送する搬送部と、前記搬送部により搬送される前記媒体の前記第二面に対して接触し、前記第二面に前記水を塗布する塗布部材と、前記第一面と接触し前記塗布部材との間で前記媒体を挟持する挟持部材と、前記挟持部材と別体であり、前記挟持部材に付着した水を前記挟持部材から除去する水除去機構と、を備えることを特徴とする。
【0007】
本発明の水塗布装置では、挟持部材に付着した水が水除去機構により挟持部材から除去される。よって、水塗布装置は挟持部材に付着した水が第一面に付着することを抑制できる。
【0008】
本発明において、前記挟持部材は、回転可能なローラであってもよい。これによれば、挟持部材がローラを含むので、水塗布装置は第二面に対して均一に水を塗布できる。
【0009】
本発明において、前記水除去機構は、前記ローラに接触して前記水を掻き取るブレードを含んでもよい。これによれば、水除去機構がブレードを含むので、水塗布装置はローラに付着した水をローラから移動して除去できる。よって、水塗布装置はローラに付着した水が第一面に付着することを抑制できる。
【0010】
本発明において、前記ブレードは、前記ローラにおける前記塗布部材との間で前記媒体を挟持する挟持位置から前記ローラの回転方向の上流側で前記ローラに接触してもよい。これによれば、ローラが塗布部材と近接する挟持位置に到達する前に、ブレードがローラに付着した水を除去できる。よって、水塗布装置はローラに付着した水が第一面に付着することを更に抑制できる。
(【0011】以降は省略されています)
この特許をJ-PlatPat(特許庁公式サイト)で参照する
関連特許
ブラザー工業株式会社
ミシン
1か月前
ブラザー工業株式会社
ミシン
1か月前
ブラザー工業株式会社
ボビン
1か月前
ブラザー工業株式会社
ホルダ
1か月前
ブラザー工業株式会社
固定具
1か月前
ブラザー工業株式会社
空調機
1か月前
ブラザー工業株式会社
印刷装置
27日前
ブラザー工業株式会社
印刷媒体
1か月前
ブラザー工業株式会社
印刷媒体
1か月前
ブラザー工業株式会社
印刷媒体
1か月前
ブラザー工業株式会社
回収装置
1か月前
ブラザー工業株式会社
塗工装置
1か月前
ブラザー工業株式会社
印刷装置
15日前
ブラザー工業株式会社
塗布装置
1か月前
ブラザー工業株式会社
塗工装置
1か月前
ブラザー工業株式会社
塗工装置
1か月前
ブラザー工業株式会社
スキャナ
1か月前
ブラザー工業株式会社
結紮装置
1か月前
ブラザー工業株式会社
結紮装置
1か月前
ブラザー工業株式会社
電子機器
9日前
ブラザー工業株式会社
制御装置
1か月前
ブラザー工業株式会社
制御装置
1か月前
ブラザー工業株式会社
縫製装置
1か月前
ブラザー工業株式会社
印刷装置
1か月前
ブラザー工業株式会社
スキャナ
1か月前
ブラザー工業株式会社
水塗布装置
1日前
ブラザー工業株式会社
糸巻回装置
1か月前
ブラザー工業株式会社
糸巻回装置
1か月前
ブラザー工業株式会社
水塗布装置
1日前
ブラザー工業株式会社
水塗布装置
1日前
ブラザー工業株式会社
水塗布装置
1日前
ブラザー工業株式会社
画像形成装置
14日前
ブラザー工業株式会社
画像形成装置
1か月前
ブラザー工業株式会社
画像形成装置
1か月前
ブラザー工業株式会社
画像読取装置
1か月前
ブラザー工業株式会社
画像形成装置
1か月前
続きを見る
他の特許を見る