TOP
|
特許
|
意匠
|
商標
特許ウォッチ
Twitter
他の特許を見る
公開番号
2025152994
公報種別
公開特許公報(A)
公開日
2025-10-10
出願番号
2024055232
出願日
2024-03-29
発明の名称
塗布装置
出願人
ブラザー工業株式会社
代理人
弁理士法人有古特許事務所
主分類
B05C
5/00 20060101AFI20251002BHJP(霧化または噴霧一般;液体または他の流動性材料の表面への適用一般)
要約
【課題】高粘度体の曳糸を切断する信頼性を向上することができる塗布装置を提供する。
【解決手段】塗布装置は、被吐出媒体を支持する金属製の支持部と、高粘度体を被吐出媒体に塗布するノズルを先端に有するシリンジと、ノズルと支持部との間に電圧を印加する電源と、ノズルが相対的に被吐出媒体に近付くように又は被吐出媒体から遠ざかるようにシリンジ、支持部、並びに、シリンジおよび支持部、のうち何れか一つを移動させる駆動部と、制御装置と、を備え、制御装置は、電源によりノズルと支持部との間に電圧を印加した状態でノズルから被吐出媒体に高粘度体を吐出させる第1処理と、第1処理が終了した後、駆動部により支持部をノズルに近付けてノズルにより被吐出媒体上の高粘度体を圧縮させる第2処理と、第2処理が終了した後、駆動部により支持部をノズルから遠ざける第3処理と、を実行する。
【選択図】図3
特許請求の範囲
【請求項1】
高粘度体を被吐出媒体に塗布する塗布装置であって、
前記被吐出媒体を支持する金属製の支持部と、
前記高粘度体を前記被吐出媒体に塗布するノズルを先端に有するシリンジと、
前記ノズルと前記支持部との間に電圧を印加する電源と、
前記ノズルが相対的に前記被吐出媒体に近付くように又は前記被吐出媒体から遠ざかるように前記シリンジ、前記支持部、並びに、前記シリンジおよび前記支持部、のうち何れか一つを移動させる駆動部と、
制御装置と、を備え、
前記制御装置は、
前記電源により前記ノズルと前記支持部との間に電圧を印加した状態で前記ノズルから前記被吐出媒体に前記高粘度体を吐出させる第1処理と、
前記第1処理が終了した後、前記駆動部により前記支持部を前記ノズルに近付けて前記ノズルにより前記被吐出媒体上の前記高粘度体を圧縮させる第2処理と、
前記第2処理が終了した後、前記駆動部により前記支持部を前記ノズルから遠ざける第3処理と、を実行する、塗布装置。
続きを表示(約 1,200 文字)
【請求項2】
前記制御装置は、前記第2処理において、前記ノズルの先端が前記被吐出媒体に吐出された前記高粘度体の表面と前記被吐出媒体との間に位置するように前記駆動部により前記シリンジ、前記支持部、並びに、前記シリンジおよび前記支持部、のうち何れか一つを前記ノズルに近付ける、請求項1に記載の塗布装置。
【請求項3】
前記制御装置は、前記第2処理において、前記ノズルの先端が前記被吐出媒体から前記ノズルの内径に相当する距離以下の距離だけ離間する位置に位置するように前記駆動部により前記シリンジ、前記支持部、並びに、前記シリンジおよび前記支持部、のうち何れか一つを前記ノズルに近付ける、請求項1に記載の塗布装置。
【請求項4】
前記高粘度体は、10Pa・sよりも高い粘度を有している、請求項1に記載の塗布装置。
【請求項5】
前記シリンジを加熱する第1加熱部をさらに備える、請求項1に記載の塗布装置。
【請求項6】
前記ノズルを加熱する第2加熱部をさらに備える、請求項1に記載の塗布装置。
【請求項7】
前記被吐出媒体又は前記支持部を加熱するヒータをさらに備える、請求項1に記載の塗布装置。
【請求項8】
高粘度体を被吐出媒体に塗布する塗布装置であって、
前記被吐出媒体を支持する金属製の支持部と、
前記高粘度体を前記被吐出媒体に塗布するノズルを先端に有するシリンジと、
前記ノズルと前記支持部との間に電圧を印加する電源と、
前記ノズルが相対的に前記被吐出媒体に近付くように又は前記被吐出媒体から遠ざかるように前記シリンジ、前記支持部、並びに、前記シリンジおよび前記支持部、のうち何れか一つを移動させる駆動部と、
制御装置と、を備え、
前記制御装置は、
前記被吐出媒体に吐出されるべき前記高粘度体の表面の高さ位置に相当する高さ位置に前記ノズルの先端が位置するように前記駆動部により前記シリンジ、前記支持部、並びに、前記シリンジおよび前記支持部、のうち何れか一つを移動させる第1処理と、
前記第1処理が終了した後、前記電源により前記ノズルと前記支持部との間に電圧を印加した状態で前記ノズルから前記被吐出媒体に前記高粘度体を吐出させる第2処理と、
前記第2処理が終了した後、吐出された前記高粘度体から前記ノズルが遠ざかるように前記駆動部により前記シリンジ、前記支持部、並びに、前記シリンジおよび前記支持部、のうち何れか一つを移動させる第3処理と、を実行する、塗布装置。
【請求項9】
前記高粘度体は、10Pa・sよりも高い粘度を有している、請求項8に記載の塗布装置。
【請求項10】
前記シリンジを加熱する第1加熱部をさらに備える、請求項8に記載の塗布装置。
(【請求項11】以降は省略されています)
発明の詳細な説明
【技術分野】
【0001】
本開示は、高粘度体を被吐出媒体に塗布する塗布装置に関する。
続きを表示(約 1,600 文字)
【背景技術】
【0002】
従来、インク組成物として溶媒中に帯電性色材粒子を分散させた絶縁性インクを用い、当該インク組成物に静電力を作用させてインク組成物の曳糸を形成し、所定範囲内の周波数による振動を当該曳糸に付与して曳糸を分断させてインク滴を形成することが知られている(特許文献1)。
【先行技術文献】
【特許文献】
【0003】
特許第4421888号公報
【発明の概要】
【発明が解決しようとする課題】
【0004】
しかしながら、上記従来技術の発明では曳糸が切断されない恐れや、振動を付与した後一定時間が経過した後に切断される恐れがあった。そのため、高粘度体がノズル先端周辺又は被吐出媒体上に残留するという問題がある。
【0005】
そこで、本開示は高粘度体の曳糸を切断する信頼性を向上することができる塗布装置を提供することを目的とする。
【課題を解決するための手段】
【0006】
本開示の塗布装置は、高粘度体を被吐出媒体に塗布する塗布装置であって、前記被吐出媒体を支持する金属製の支持部と、前記高粘度体を前記被吐出媒体に塗布するノズルを先端に有するシリンジと、前記ノズルと前記支持部との間に電圧を印加する電源と、前記ノズルが相対的に前記被吐出媒体に近付くように又は前記被吐出媒体から遠ざかるように前記シリンジ、前記支持部、並びに、前記シリンジおよび前記支持部、のうち何れか一つを移動させる駆動部と、制御装置と、を備え、前記制御装置は、前記電源により前記ノズルと前記支持部との間に電圧を印加した状態で前記ノズルから前記被吐出媒体に前記高粘度体を吐出させる第1処理と、前記第1処理が終了した後、前記駆動部により前記支持部を前記ノズルに近付けて前記ノズルにより前記被吐出媒体上の前記高粘度体を圧縮させる第2処理と、前記第2処理が終了した後、前記駆動部により前記支持部を前記ノズルから遠ざける第3処理と、を実行するものである。
【0007】
本開示に従えば、第1処理の終了後に実行される第2処理によって、支持部をノズルに近付けることで当該ノズルにより被吐出媒体上の高粘度体を圧縮させる。これにより、被吐出媒体とノズルとの間における高粘度体が押しつぶされてその表面積が小さくなる結果、当該高粘度体における表面張力が大きくなる。この状態から、第3処理によって支持部がノズルから遠ざかるように移動することで高粘度体の曳糸が切断され易くなる。よって、高粘度体の曳糸を切断する信頼性を向上することができる。また、第2処理において支持部をノズルに近付けることで、ノズル先端周辺に残留する高粘度体の量を減らすことができる。これにより、第3処理の際に高粘度体の曳糸が発生する可能性も低減される。
【発明の効果】
【0008】
本開示によれば、高粘度体の曳糸を切断する信頼性を向上することができる塗布装置を提供することができる。
【図面の簡単な説明】
【0009】
一実施形態に係る塗布装置の構成を示す模式図である。
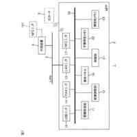
図1の塗布装置の構成を示すブロック図である。
(a)乃至(c)は高粘度体の吐出制御を説明するための図である。
塗布装置における処理の流れを示すフローチャートである。
(a)および(b)は高粘度体の吐出制御を説明するための図である。
(a)および(b)は高粘度体の吐出制御を説明するための図である。
【発明を実施するための形態】
【0010】
以下、本開示の実施形態に係る塗布装置について図面を参照して説明する。以下に説明する塗布装置は本開示の一実施形態に過ぎない。従って、本開示は以下の実施形態に限定されるものではなく、本開示の趣旨を逸脱しない範囲で追加、削除および変更が可能である。
(【0011】以降は省略されています)
この特許をJ-PlatPat(特許庁公式サイト)で参照する
関連特許
ブラザー工業株式会社
印刷装置
7日前
ブラザー工業株式会社
液体吐出装置
16日前
ブラザー工業株式会社
液体吐出装置
9日前
ブラザー工業株式会社
液体吐出装置
7日前
ブラザー工業株式会社
液体吐出装置
今日
ブラザー工業株式会社
液体吐出装置
今日
ブラザー工業株式会社
画像形成装置
2日前
ブラザー工業株式会社
液体吐出ヘッド
7日前
ブラザー工業株式会社
液滴吐出ヘッド
9日前
ブラザー工業株式会社
印刷カセット収納体
1日前
ブラザー工業株式会社
情報処理プログラム
7日前
ブラザー工業株式会社
工具搬送装置及び工作機械
今日
ブラザー工業株式会社
タンクおよび液体吐出装置
7日前
ブラザー工業株式会社
プログラムおよび情報処理装置
7日前
ブラザー工業株式会社
ラベルプリンタおよびプログラム
今日
ブラザー工業株式会社
プログラム、および、データ処理装置
7日前
ブラザー工業株式会社
画像処理装置及び認証処理プログラム
2日前
ブラザー工業株式会社
サポートプログラムおよび印刷システム
7日前
ブラザー工業株式会社
サポートプログラムおよび印刷システム
16日前
ブラザー工業株式会社
液滴吐出装置、その制御方法及びプログラム
1日前
ブラザー工業株式会社
コンピュータプログラム、および、データ処理装置
7日前
ブラザー工業株式会社
液体吐出装置用ヘッド及びこれを備える液体吐出装置
7日前
ブラザー工業株式会社
画像形成装置
15日前
ブラザー工業株式会社
画像処理装置
今日
ブラザー工業株式会社
情報処理装置
今日
ブラザー工業株式会社
現像カートリッジ
21日前
ブラザー工業株式会社
サポートプログラム
今日
ブラザー工業株式会社
サポートプログラム
7日前
ブラザー工業株式会社
サポートプログラムおよび印刷システム
今日
ブラザー工業株式会社
端末装置のためのコンピュータプログラム、端末装置、及び、端末装置を制御するための方法
7日前
ブラザー工業株式会社
端末装置のためのコンピュータプログラム、端末装置、及び、端末装置を制御するための方法
7日前
個人
微細霧発生装置
28日前
ベック株式会社
被膜形成方法
23日前
ベック株式会社
被膜形成方法
23日前
ベック株式会社
被膜形成方法
23日前
ベック株式会社
被膜形成方法
1か月前
続きを見る
他の特許を見る