TOP
|
特許
|
意匠
|
商標
特許ウォッチ
Twitter
他の特許を見る
公開番号
2025178399
公報種別
公開特許公報(A)
公開日
2025-12-05
出願番号
2025163074,2022055497
出願日
2025-09-30,2022-03-30
発明の名称
サポートプログラムおよび印刷システム
出願人
ブラザー工業株式会社
代理人
主分類
G06F
3/12 20060101AFI20251128BHJP(計算;計数)
要約
【課題】 OS標準の汎用印刷プログラムからプリンタに蓄積印刷を行わせる場合に、プリンタで扱えない印刷ジョブをプリンタに蓄積する可能性を低減すること。
【解決手段】汎用印刷プログラム41と補助プログラム42が組み込まれたPC1は、蓄積印刷が有効な場合、補助プログラム42がプリンタ2で扱うことができるユーザ識別情報を決定する。補助プログラム42は、蓄積印刷が有効な状態で印刷指示により汎用印刷プログラム41から起動された際に、その決定されたユーザ識別情報を印刷ジョブに付与し、プリンタ2に送信する。
【選択図】 図1
特許請求の範囲
【請求項1】
情報処理装置のコンピュータによって実行可能であり、前記情報処理装置と接続するプリンタに対応し、前記情報処理装置のオペレーティングシステムにあらかじめ組み込まれた汎用印刷プログラムをサポートするサポートプログラムであって、前記プリンタは、蓄積印刷を行う機能を有し、前記蓄積印刷が有効な場合、印刷ジョブを受信した後、印刷を開始せずに受信した前記印刷ジョブを前記プリンタのメモリに保持し、前記印刷ジョブに付与されたユーザ識別情報と前記プリンタに受け付けられたユーザ識別情報とが一致したことを条件として、前記印刷ジョブに基づく印刷を開始し、
前記コンピュータに、
前記汎用印刷プログラムから処理が要求され、前記蓄積印刷が有効な場合に、
前記プリンタで扱うことができるユーザ識別情報を決定する決定処理を実行させ、 さらに前記コンピュータに、
前記情報処理装置に組み込まれているアプリケーションプログラムから出力された印刷指示であって、前記汎用印刷プログラムに対して画像の印刷を前記プリンタに行わせる前記印刷指示があったことによって、前記汎用印刷プログラムから処理が要求され、前記蓄積印刷が有効な場合に、
前記決定処理にて決定された前記ユーザ識別情報がある場合に、前記ユーザ識別情報が付与された印刷ジョブを前記プリンタに送信するための送信処理を実行させる、
ように構成されるサポートプログラム。
続きを表示(約 2,900 文字)
【請求項2】
請求項1に記載するサポートプログラムにおいて、
前記決定処理では、
前記オペレーティングシステムで選択されている言語が、前記プリンタで扱うことができない文字を含む言語でなければ、前記オペレーティングシステムから前記情報処理装置にログインしているユーザのログインユーザ名を取得し、取得された前記ログインユーザ名に基づいて前記ユーザ識別情報を決定し、
前記オペレーティングシステムで選択されている言語が、前記プリンタで扱うことができない文字を含む言語であれば、ユーザ名の入力を受け付けるユーザ名入力画面を前記情報処理装置のユーザインタフェースに表示させ、前記ユーザ名入力画面にて受け付けられたユーザ名に基づいて前記ユーザ識別情報を決定する、
ように構成されるサポートプログラム。
【請求項3】
請求項1に記載するサポートプログラムにおいて、
前記決定処理では、
前記オペレーティングシステムから前記情報処理装置にログインしているユーザのログインユーザ名を取得し、取得された前記ログインユーザ名にユーザ名を示す情報以外の付加情報が付与されている場合、前記付加情報を除去した前記ユーザ名に基づいて前記ユーザ識別情報を決定する、
ように構成されるサポートプログラム。
【請求項4】
請求項3に記載するサポートプログラムにおいて、
前記決定処理では、
前記オペレーティングシステムから前記ログインユーザ名を取得し、取得された前記ログインユーザ名に、前記付加情報としてデバイス名を示す情報が付与されている場合、前記デバイス名を示す情報を除去した前記ユーザ名に基づいて前記ユーザ識別情報に決定する、
ように構成されるサポートプログラム。
【請求項5】
請求項1から請求項4のいずれか1つに記載するサポートプログラムにおいて、
前記コンピュータに、
前記情報処理装置に組み込まれている前記アプリケーションプログラムから出力された印刷指示であって、前記汎用印刷プログラムに対して画像の印刷を前記プリンタに行わせる前記印刷指示があったことによって、前記汎用印刷プログラムから処理が要求され、前記蓄積印刷が有効な場合に、
前記決定処理と、
前記決定処理にて決定された前記ユーザ識別情報が付与された印刷ジョブを前記プリンタに送信するための前記送信処理と、
を実行させる、
ように構成されるサポートプログラム。
【請求項6】
請求項1から請求項4のいずれか1つに記載するサポートプログラムにおいて、
前記サポートプログラムは、前記プリンタで対応可能な印刷設定を受け付ける詳細設定画面を、前記情報処理装置のディスプレイに表示させる機能を有し、前記汎用印刷プログラムは、前記詳細設定画面の表示指示を受け付けることが可能であり、
前記コンピュータに、
前記表示指示を受け付けたことによって、前記汎用印刷プログラムから処理が要求され、前記蓄積印刷が有効な場合に、
前記決定処理と、
前記決定処理にて決定された前記ユーザ識別情報を前記情報処理装置のメモリに記憶する記憶処理と、
を実行させ、
さらに前記コンピュータに、
前記情報処理装置に組み込まれている前記アプリケーションプログラムから出力された印刷指示であって、前記汎用印刷プログラムに対して画像の印刷を前記プリンタに行わせる前記印刷指示があったことによって、前記汎用印刷プログラムから処理が要求され、前記蓄積印刷が有効な場合に、
前記記憶処理によって前記メモリに記憶されている前記ユーザ識別情報がある場合に、前記メモリから前記ユーザ識別情報を読み出し、読み出された前記ユーザ識別情報が付与された前記印刷ジョブを前記プリンタに送信するための前記送信処理を実行させる、 ように構成されるサポートプログラム。
【請求項7】
請求項1から請求項4のいずれか1つに記載するサポートプログラムにおいて、
前記コンピュータに、
前記汎用印刷プログラムから処理が要求され、前記蓄積印刷を有効にする設定変更があった場合に、
前記決定処理と、
前記決定処理にて決定された前記ユーザ識別情報を前記情報処理装置のメモリに記憶する記憶処理と、
を実行させ、
さらに前記コンピュータに、
前記情報処理装置に組み込まれている前記アプリケーションプログラムから出力された印刷指示であって、前記汎用印刷プログラムに対して画像の印刷を前記プリンタに行わせる前記印刷指示があったことによって、前記汎用印刷プログラムから処理が要求され、前記蓄積印刷が有効な場合に、
前記記憶処理によって前記メモリに記憶されている前記ユーザ識別情報がある場合に、前記メモリから前記ユーザ識別情報を読み出し、読み出された前記ユーザ識別情報が付与された前記印刷ジョブを前記プリンタに送信するための前記送信処理を実行させる、 ように構成されるサポートプログラム。
【請求項8】
情報処理装置に組み込まれたサポートプログラムと、前記情報処理装置に接続されたプリンタと、を有する印刷システムであって、
前記サポートプログラムは、前記情報処理装置のコンピュータによって実行可能であり、前記プリンタに対応し、前記情報処理装置のオペレーティングシステムにあらかじめ組み込まれた汎用印刷プログラムをサポートするプログラムであり、
前記プリンタは、蓄積印刷を行う機能を有し、前記蓄積印刷が有効な場合、印刷ジョブを受信した後、印刷を開始せずに受信した前記印刷ジョブを前記プリンタのメモリに保持し、
前記サポートプログラムは、前記情報処理装置の前記コンピュータに、
前記汎用印刷プログラムから処理が要求され、前記蓄積印刷が有効な場合に、
前記プリンタで扱うことができるユーザ識別情報を決定する決定処理を実行させ、 さらに前記サポートプログラムは、前記情報処理装置の前記コンピュータに、
前記情報処理装置に組み込まれているアプリケーションプログラムから出力された印刷指示であって、前記汎用印刷プログラムに対して画像の印刷を前記プリンタに行わせる前記印刷指示があったことによって、前記汎用印刷プログラムから処理が要求され、前記蓄積印刷が有効な場合に、
前記決定処理にて決定された前記ユーザ識別情報が付与された印刷ジョブを前記プリンタに送信するための送信処理を実行させ、
前記プリンタは、
ユーザ識別情報の入力を受け付け、前記メモリに保持されている前記印刷ジョブに付与されている前記ユーザ識別情報が、受け付けられた前記ユーザ識別情報と一致したことを条件として、前記印刷ジョブに基づく印刷を開始する、
ように構成される印刷システム。
発明の詳細な説明
【技術分野】
【0001】
本明細書に開示される技術分野は、プリンタの制御をサポートするサポートプログラムおよび印刷システムに関する。
続きを表示(約 2,100 文字)
【背景技術】
【0002】
近年、プリンタドライバを利用せず、オペレーティングシステム(OS)に標準に組み込まれている汎用印刷プログラムによってプリンタを制御する技術が実用化されている。
この技術では、OSがプリンタを検知するとOS標準の汎用印刷プログラムとの関連付けを行い、以後、そのプリンタに対する印刷指示を受け付けた場合に、プリンタドライバを用いずに、OS標準の汎用印刷プログラムによる印刷が可能になる。
【0003】
また、受信した印刷ジョブに基づく印刷を直ぐには開始せずにその印刷データに基づくデータをメモリに一旦保持し、ユーザインタフェースを介したユーザの操作によって、そのデータに基づく印刷を開始する蓄積印刷機能を有するプリンタが知られている。蓄積印刷機能を開示した文献としては、例えば特許文献1がある。
【先行技術文献】
【特許文献】
【0004】
特開2019-142172号公報
【発明の概要】
【発明が解決しようとする課題】
【0005】
OS標準の汎用印刷プログラムが印刷ジョブを生成する際、必ずしもプリンタが扱えるユーザ識別情報を印刷ジョブに付与するとは限らない。一方で、プリンタがメモリに蓄積された印刷ジョブの実行をその印刷ジョブに付与されたユーザ識別情報に基づいて決定する場合、プリンタが扱えないユーザ識別情報が付与された印刷ジョブを実行できない場合がある。そのため、OS標準の汎用印刷プログラムを用いて蓄積印刷を実現するには、改善の余地がある。
【課題を解決するための手段】
【0006】
上述した課題の解決を目的としてなされたサポートプログラムは、情報処理装置のコンピュータによって実行可能であり、前記情報処理装置と接続するプリンタに対応し、前記情報処理装置のオペレーティングシステムにあらかじめ組み込まれた汎用印刷プログラムをサポートするサポートプログラムであって、前記プリンタは、蓄積印刷を行う機能を有し、前記蓄積印刷が有効な場合、印刷ジョブを受信した後、印刷を開始せずに受信した前記印刷ジョブを前記プリンタのメモリに保持し、前記印刷ジョブに付与されたユーザ識別情報と前記プリンタに受け付けられたユーザ識別情報とが一致したことを条件として、前記印刷ジョブに基づく印刷を開始し、前記コンピュータに、前記汎用印刷プログラムから処理が要求され、前記蓄積印刷が有効な場合に、前記プリンタで扱うことができるユーザ識別情報を決定する決定処理を実行させ、さらに前記コンピュータに、前記情報処理装置に組み込まれているアプリケーションプログラムから出力された印刷指示であって、前記汎用印刷プログラムに対して画像の印刷を前記プリンタに行わせる前記印刷指示があったことによって、前記汎用印刷プログラムから処理が要求され、前記蓄積印刷が有効な場合に、前記決定処理にて決定された前記ユーザ識別情報がある場合に、前記ユーザ識別情報が付与された印刷ジョブを前記プリンタに送信するための送信処理を実行させる、ように構成される。
【0007】
上記構成のサポートプログラムは、蓄積印刷が有効な状態で汎用印刷プログラムから処理を要求された場合、プリンタで扱うことができるユーザ識別情報を決定する。サポートプログラムは、蓄積印刷が有効な状態で印刷指示があり、汎用印刷プログラムから処理を要求された際、その決定されたユーザ識別情報が付与された印刷ジョブをプリンタに送信する。これにより、プリンタで扱えないユーザ識別情報が付与された印刷ジョブがプリンタに蓄積される可能性を低減でき、その結果として、プリンタでの蓄積印刷の実行可能性を高めることができる。
【0008】
上記サポートプログラムの機能を実現するための装置、システム、および当該サポートプログラムを格納するコンピュータにて読取可能な記憶媒体も、新規で有用である。
【発明の効果】
【0009】
本明細書に開示される技術によれば、OS標準の汎用印刷プログラムからプリンタに蓄積印刷を行わせる場合に、プリンタで扱えない印刷ジョブをプリンタに蓄積する可能性を低減できる技術が実現される。
【図面の簡単な説明】
【0010】
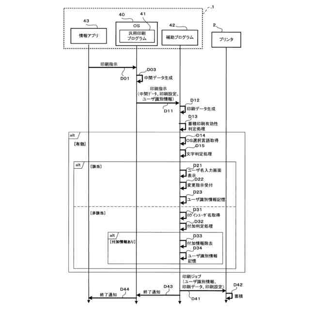
印刷システムの概略構成図である。
印刷が選択された場合の手順の例を示すシーケンス図である。
印刷指示を受け付けた場合の手順の例を示すシーケンス図である。
ユーザ名入力画面の一例を示す図である。
印刷の手順の例を示すシーケンス図である。
詳細設定画面を表示する表示指示を受け付けた場合の手順の例を示すシーケンス図である。
印刷指示を受け付けた場合の手順の例を示すシーケンス図である。
詳細設定画面の例を示す図である。
【発明を実施するための形態】
(【0011】以降は省略されています)
この特許をJ-PlatPat(特許庁公式サイト)で参照する
関連特許
ブラザー工業株式会社
印刷装置
1か月前
ブラザー工業株式会社
電子機器
1か月前
ブラザー工業株式会社
印刷装置
8日前
ブラザー工業株式会社
印刷装置
1か月前
ブラザー工業株式会社
スキャナ
1か月前
ブラザー工業株式会社
スキャナ
1か月前
ブラザー工業株式会社
水塗布装置
24日前
ブラザー工業株式会社
水塗布装置
24日前
ブラザー工業株式会社
水塗布装置
24日前
ブラザー工業株式会社
水塗布装置
24日前
ブラザー工業株式会社
液体吐出装置
8日前
ブラザー工業株式会社
画像形成装置
1か月前
ブラザー工業株式会社
画像形成装置
1か月前
ブラザー工業株式会社
液体吐出装置
17日前
ブラザー工業株式会社
液体吐出装置
10日前
ブラザー工業株式会社
画像形成装置
3日前
ブラザー工業株式会社
画像形成装置
1か月前
ブラザー工業株式会社
画像形成装置
1か月前
ブラザー工業株式会社
画像形成装置
1か月前
ブラザー工業株式会社
液体吐出装置
1日前
ブラザー工業株式会社
画像形成装置
1か月前
ブラザー工業株式会社
液体吐出装置
1日前
ブラザー工業株式会社
画像形成装置
29日前
ブラザー工業株式会社
静電塗工装置
1か月前
ブラザー工業株式会社
画像形成装置
1か月前
ブラザー工業株式会社
液体吐出ヘッド
8日前
ブラザー工業株式会社
液滴吐出ヘッド
10日前
ブラザー工業株式会社
シート給送装置
1か月前
ブラザー工業株式会社
サポートプログラム
1か月前
ブラザー工業株式会社
サポートプログラム
1か月前
ブラザー工業株式会社
印刷カセット収納体
2日前
ブラザー工業株式会社
情報処理プログラム
8日前
ブラザー工業株式会社
タンクおよび液体吐出装置
8日前
ブラザー工業株式会社
プリンタおよびプログラム
1か月前
ブラザー工業株式会社
工具搬送装置及び工作機械
1日前
ブラザー工業株式会社
プリンタおよびプログラム
1か月前
続きを見る
他の特許を見る