TOP
|
特許
|
意匠
|
商標
特許ウォッチ
Twitter
他の特許を見る
10個以上の画像は省略されています。
公開番号
2025175728
公報種別
公開特許公報(A)
公開日
2025-12-03
出願番号
2024081949
出願日
2024-05-20
発明の名称
画像形成装置
出願人
ブラザー工業株式会社
代理人
弁理士法人矢野内外国特許事務所
主分類
G03G
21/16 20060101AFI20251126BHJP(写真;映画;光波以外の波を使用する類似技術;電子写真;ホログラフイ)
要約
【課題】容易に回路基板の修理および交換を行うことができる画像形成装置を提供する。
【解決手段】画像形成装置1の再搬送部7は、シートトレイ10と基板ケース12との間に位置し、シートSを案内する下シュート71と、基板ケース12の再搬送方向における下流側に位置し、下シュート71と共にシートSを案内する上シュート72と、上シュート72を装置本体2に固定するためのネジ92と、を有し、上シュート72は、下シュート71と共にシートSの再搬送経路P2を形成する第1位置と、第1位置に対して回動軸722を中心として下シュート71側に回動した第2位置との間で回動可能であり、回動軸722は、上シュート72の再搬送方向における下流側端部である前端部に位置し、ネジ92は、上シュート72の再搬送方向における上流側端部である後端部を装置本体2に固定する。
【選択図】図3
特許請求の範囲
【請求項1】
装置本体と、
前記装置本体の下端に位置するシートトレイと、
前記シートトレイの上方に位置し、シートに画像を形成する画像形成部と、
前記画像形成部と前記シートトレイとの間に位置し、前記画像形成部にて一面に画像が形成されたシートの他面に画像を形成するために、シートを前記画像形成部に再搬送方向に沿って再搬送するための再搬送部と、
前記画像形成部と前記再搬送部との間に位置する回路基板と、
前記回路基板を収容するためのケース本体と蓋部とを有するケースであって、前記蓋部が前記ケース本体よりも前記再搬送部の近くに位置する姿勢で前記装置本体に固定されるケースと、
を備え、
前記再搬送部は、
前記シートトレイと前記ケースとの間に位置し、シートを案内する下シュートと、
前記ケースの前記再搬送方向における下流側に位置し、前記下シュートと共にシートを案内する上シュートと、
前記上シュートを前記装置本体に固定するための固定具と、を有し、
前記上シュートは、
前記下シュートと共にシートの再搬送経路を形成する第1位置と、前記第1位置に対して回動軸を中心として前記下シュート側に回動した第2位置との間で回動可能であり、
前記回動軸は、前記上シュートの前記再搬送方向における下流側端部に位置し、
前記固定具は、前記上シュートの前記再搬送方向における上流側端部を前記装置本体に固定する画像形成装置。
続きを表示(約 610 文字)
【請求項2】
前記画像形成部は、感光ドラムと、前記感光ドラムにレーザ光を照射する露光ユニットとを有し、
前記露光ユニットは、前記装置本体の上部に固定されている請求項1に記載の画像形成装置。
【請求項3】
前記画像形成部は、複数色の画像に対応した複数の感光ドラムを有する請求項1に記載の画像形成装置。
【請求項4】
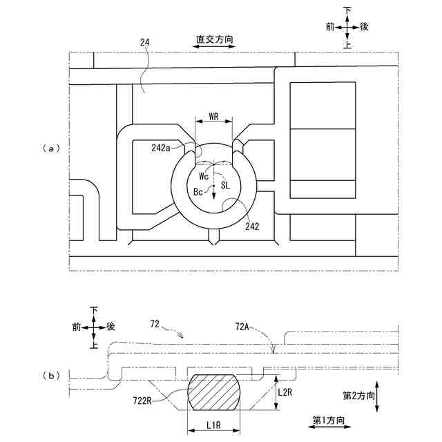
前記装置本体は、前記上シュートの前記回動軸を回動可能に支持する軸受孔を有し、
前記軸受孔は、周方向の一部に開口する嵌入口によって開放されており、
前記回動軸は、前記嵌入口を通じて前記軸受孔に挿入可能である請求項1に記載の画像形成装置。
【請求項5】
前記回動軸は、前記回動軸の軸方向と直交する第1方向において第1長さを有し、前記軸方向および前記第1方向と直交する第2方向において前記第1長さよりも小さい第2長さを有し、
前記嵌入口の前記軸方向と直交する直交方向の寸法は、前記第2長さよりも大きく、前記第1長さよりも小さい請求項4に記載の画像形成装置。
【請求項6】
上シュートが第2位置にあるときに、前記第1方向と、前記嵌入口から前記軸受孔に向かう方向とが一致し、
上シュートが第1位置にあるときに、前記第1方向と、前記嵌入口から前記軸受孔に向かう方向とが交差する請求項5に記載の画像形成装置。
発明の詳細な説明
【技術分野】
【0001】
本発明は、画像形成装置に関する。
続きを表示(約 1,700 文字)
【背景技術】
【0002】
従来、特許文献1に開示されるように、画像形成部にて一面に画像が形成されたシートを再搬送方向に沿って画像形成部に再搬送するための再搬送部を備えた画像形成装置が知られている。
【0003】
特許文献1に記載の画像形成装置は、再搬送経路を形成する上シュート62と、上シュート62の再搬送方向における下流側に位置する低電圧回路基板72と、低電圧回路基板72を収容する板金部材73と、シートトレイに収容されるシートを画像形成部に供給する供給部41とを備えている。上シュート62は、板金部材73と供給部41との2箇所に、それぞれネジ止めされている。また、上シュート62、低電圧回路基板72、板金部材73、および供給部41等を収容する装置本体2は、上部が開放可能に構成されている。
【先行技術文献】
【特許文献】
【0004】
特開2022-102434号公報
【発明の概要】
【発明が解決しようとする課題】
【0005】
上述の構成の画像形成装置においては、低電圧回路基板72の修理や交換を行う際に、装置本体2に収容されるドラムユニット52、ベルト搬送部42、およびベルトクリーナ54を装置本体2から取り外して、上シュート62および板金部材73を装置本体2の外部に露出させる必要があった。
【0006】
低電圧回路基板72の修理や交換を行うためには、さらに上シュート62と板金部材73および供給部41とを固定しているネジを取り除いて、上シュート62および板金部材73の上側板金732を装置本体2から取り外したうえで、装置本体2の外部に露出した低電圧回路基板72の修理や交換を行う必要があった。従って、低電圧回路基板72の修理および交換を行うために手間がかかり、煩雑であった。
【0007】
そこで、本発明においては、回路基板の修理および交換を行うための手間を低減して、容易に回路基板の修理および交換を行うことができる画像形成装置を提供する。
【課題を解決するための手段】
【0008】
上記課題を解決する画像形成装置は、以下の特徴を有する。
【0009】
即ち、画像形成装置は、装置本体と、前記装置本体の下端に位置するシートトレイと、前記シートトレイの上方に位置し、シートに画像を形成する画像形成部と、前記画像形成部と前記シートトレイとの間に位置し、前記画像形成部にて一面に画像が形成されたシートの他面に画像を形成するために、シートを前記画像形成部に再搬送方向に沿って再搬送するための再搬送部と、前記画像形成部と前記再搬送部との間に位置する回路基板と、前記回路基板を収容するためのケース本体と蓋部とを有するケースであって、前記蓋部が前記ケース本体よりも前記再搬送部の近くに位置する姿勢で前記装置本体に固定されるケースと、を備え、前記再搬送部は、前記シートトレイと前記ケースとの間に位置し、シートを案内する下シュートと、前記ケースの前記再搬送方向における下流側に位置し、前記下シュートと共にシートを案内する上シュートと、前記上シュートを前記装置本体に固定するための固定具と、を有し、前記上シュートは、前記下シュートと共にシートの再搬送経路を形成する第1位置と、前記第1位置に対して回動軸を中心として前記下シュート側に回動した第2位置との間で回動可能であり、前記回動軸は、前記上シュートの前記再搬送方向における下流側端部に位置し、前記固定具は、前記上シュートの前記再搬送方向における上流側端部を前記装置本体に固定する。
【0010】
これにより、上シュートおよびケースの蓋部を装置本体から露出させた状態で、上シュートを第1位置から第2位置へ回動させるとともに、蓋部を取り外すことで、回路基板の修理および交換を行うことが可能となる。従って、回路基板の修理および交換を行うための手間を低減して、容易に回路基板の修理および交換を行うことができる。
(【0011】以降は省略されています)
この特許をJ-PlatPat(特許庁公式サイト)で参照する
関連特許
ブラザー工業株式会社
印刷装置
6日前
ブラザー工業株式会社
液体吐出装置
15日前
ブラザー工業株式会社
画像形成装置
1日前
ブラザー工業株式会社
液体吐出装置
8日前
ブラザー工業株式会社
液体吐出装置
6日前
ブラザー工業株式会社
液滴吐出ヘッド
8日前
ブラザー工業株式会社
液体吐出ヘッド
6日前
ブラザー工業株式会社
印刷カセット収納体
今日
ブラザー工業株式会社
情報処理プログラム
6日前
ブラザー工業株式会社
タンクおよび液体吐出装置
6日前
ブラザー工業株式会社
プログラムおよび情報処理装置
6日前
ブラザー工業株式会社
プログラム、および、データ処理装置
6日前
ブラザー工業株式会社
画像処理装置及び認証処理プログラム
1日前
ブラザー工業株式会社
サポートプログラムおよび印刷システム
6日前
ブラザー工業株式会社
サポートプログラムおよび印刷システム
15日前
ブラザー工業株式会社
液滴吐出装置、その制御方法及びプログラム
今日
ブラザー工業株式会社
コンピュータプログラム、および、データ処理装置
6日前
ブラザー工業株式会社
液体吐出装置用ヘッド及びこれを備える液体吐出装置
6日前
ブラザー工業株式会社
画像形成装置
14日前
ブラザー工業株式会社
サポートプログラム
6日前
ブラザー工業株式会社
端末装置のためのコンピュータプログラム、端末装置、及び、端末装置を制御するための方法
6日前
ブラザー工業株式会社
端末装置のためのコンピュータプログラム、端末装置、及び、端末装置を制御するための方法
6日前
個人
表示装置
1か月前
個人
雨用レンズカバー
1か月前
株式会社シグマ
絞りユニット
2か月前
キヤノン株式会社
撮像装置
2か月前
日本精機株式会社
車両用投射装置
1か月前
キヤノン株式会社
撮像装置
1か月前
キヤノン株式会社
撮像装置
1か月前
キヤノン株式会社
撮像装置
1か月前
キヤノン株式会社
撮像装置
3か月前
キヤノン株式会社
撮像装置
2か月前
キヤノン株式会社
撮像装置
6日前
株式会社リコー
画像形成装置
2か月前
株式会社リコー
画像形成装置
1か月前
株式会社リコー
画像形成装置
29日前
続きを見る
他の特許を見る