TOP
|
特許
|
意匠
|
商標
特許ウォッチ
Twitter
他の特許を見る
公開番号
2025173755
公報種別
公開特許公報(A)
公開日
2025-11-28
出願番号
2024079492
出願日
2024-05-15
発明の名称
液体吐出装置用ヘッド及びこれを備える液体吐出装置
出願人
ブラザー工業株式会社
代理人
弁理士法人有古特許事務所
主分類
B41J
2/145 20060101AFI20251120BHJP(印刷;線画機;タイプライター;スタンプ)
要約
【課題】同一のヘッドを用いて印刷する場合において、異なる印刷解像度で印刷処理を行えるようにすると共に、複数のヘッドを用いて印刷する場合において、ヘッド同士の間の位置ずれを防止する。
【解決手段】液体吐出装置用のヘッドは、複数のノズルを含むノズル群を有する。ヘッドは、複数のノズルのノズル軸方向から見て、ノズル群が配置された正六角形状のノズル面と、ノズル面の6つの辺に隣接する6つの側面とを有する。ヘッドが液体吐出装置に装着された状態において、ノズル群は、ヘッドが所定の第1印刷姿勢のときと、ノズル軸方向に平行な所定の回転軸線回りの回転角度が第1印刷姿勢に対して所定角度をなす第2印刷姿勢のときとで、ノズル軸方向に交差する交差方向における複数のノズルの配置密度が異なるよう構成されている。
【選択図】図1
特許請求の範囲
【請求項1】
被記録媒体の表面に対して液体を吐出する複数のノズルを含むノズル群を有する、液体吐出装置用のヘッドであって、
前記複数のノズルのノズル軸方向から見て、前記ノズル群が配置された正六角形状のノズル面と、前記ノズル面の6つの辺に隣接する6つの側面と、を有し、且つ、
前記液体吐出装置に装着された状態において、前記ノズル群は、前記ヘッドが所定の第1印刷姿勢のときと、前記ノズル軸方向に平行な所定の回転軸線回りの回転角度が前記第1印刷姿勢に対して所定角度をなす第2印刷姿勢のときとで、前記ノズル軸方向に交差する交差方向における前記複数のノズルの配置密度が異なるよう構成されている、液体吐出装置用ヘッド。
続きを表示(約 1,600 文字)
【請求項2】
前記ノズル軸方向から見て、前記ノズル群は、正三角形を格子単位とする格子パターン上に前記複数のノズルが配列された格子配列ノズル群を含む、請求項1に記載の液体吐出装置用ヘッド。
【請求項3】
前記所定角度は30°であり、
前記回転角度が前記第1印刷姿勢に対して60°となる印刷姿勢において、前記複数のノズルの配置密度が同一となる、請求項2に記載の液体吐出装置用ヘッド。
【請求項4】
前記ノズル群は、前記格子配列ノズル群のみを含む、請求項3に記載の液体吐出装置用ヘッド。
【請求項5】
前記複数のノズルのうち、前記格子単位における前記正三角形の各頂点に対応する位置に配置された3つのノズルを、第1ノズル、第2ノズル、及び第3ノズルとするとき、
最も近接する前記第1ノズルと前記第2ノズルとの開口中心を通る第1仮想線上と、前記第1仮想線に平行な複数の第1仮想平行線上とに、全ての前記第1ノズルと全ての前記第2ノズルとの開口中心が位置し、
最も近接する前記第2ノズルと前記第3ノズルとの開口中心を通る第2仮想線上と、前記第2仮想線に平行な複数の第2仮想平行線上とに、全ての前記第2ノズルと全ての前記第3ノズルとの開口中心が位置し、
最も近接する前記第3ノズルと前記第1ノズルとの開口中心を通る第3仮想線上と、前記第3仮想線に平行な複数の第3仮想平行線上とに、全ての前記第3ノズルと全ての前記第1ノズルとの開口中心が位置し、
前記第1、第2、第3仮想線、及び、前記複数の第1、第2、第3仮想平行線の線ピッチが同一である、請求項4に記載の液体吐出装置用ヘッド。
【請求項6】
前記ノズル軸方向に垂直な一方向である所定の搬送方向に前記被記録媒体を搬送する搬送部を更に備え、
前記第1印刷姿勢は、前記第1仮想線と前記複数の第1仮想平行線、前記第2仮想線と前記複数の第2仮想平行線、又は、前記第3仮想線と前記複数の第3仮想平行線のいずれかが、前記搬送方向と平行となる姿勢であり、
前記第2印刷姿勢は、前記第1仮想線と前記複数の第1仮想平行線、前記第2仮想線と前記複数の第2仮想平行線、又は、前記第3仮想線と前記複数の第3仮想平行線のいずれかが、前記搬送方向と直交する姿勢である、請求項5に記載の液体吐出装置用ヘッド。
【請求項7】
請求項1~6のいずれか1項に記載のヘッドを少なくとも3つ備え、
前記ノズル軸方向から見て、前記3つのヘッドの各々は、隣接する2つの前記側面を、前記3つのヘッドのうち残余の2つのヘッドの各々が有する1つの前記側面の各々と面接触させて配置されている、液体吐出装置用ヘッドユニット。
【請求項8】
請求項1~6のいずれか1項に記載の少なくとも1つの前記ヘッドを備える、液体吐出装置。
【請求項9】
各々が、被記録媒体の表面に対して液体を吐出する複数のノズルを含むノズル群を有する、3以上の複数のヘッドを備える液体吐出装置の製造方法であって、
前記複数のヘッドとして、前記複数のノズルのノズル軸方向から見て、前記ノズル群が配置された六角形状のノズル面と、前記ノズル面の6つの辺に隣接する6つの側面を有する第1ヘッド、第2ヘッド、及び、第3ヘッドを準備し、
前記第1ヘッドの1つの前記側面と、前記第2ヘッドの1つの前記側面とを、各々の前記側面と面接触させるように、前記第1ヘッドと前記第2ヘッドとを配置し、
前記第1ヘッドと前記第2ヘッドとを前記配置した後、前記第3ヘッドの隣接する2つの前記側面に対して、前記配置された前記第1ヘッドの他の1つの前記側面と、前記配置された前記第2ヘッドの他の1つの前記側面とを面接触させるように、前記第3ヘッドを配置する、液体吐出装置の製造方法。
発明の詳細な説明
【技術分野】
【0001】
本開示は、インク等の液体を被記録媒体に向けて吐出するヘッドを備える液体吐出装置に関する。
続きを表示(約 1,500 文字)
【背景技術】
【0002】
例えば特許文献1に開示されるように、多数のインク吐出口が配列され、且つ、平面視において六角形状のインク吐出領域を有するインクヘッドを備えるインクジェットプリンタが知られている。
【先行技術文献】
【特許文献】
【0003】
特開2003-311959号公報
【発明の概要】
【発明が解決しようとする課題】
【0004】
液体を吐出する液体吐出装置では、同一のヘッドを用いて異なる印刷解像度で印刷処理を行うことが要求される場合がある。しかしながら、特許文献1に開示された技術では、このような印刷解像度の変更設定を行えない。また例えば、複数のヘッドを並べて配置することで印刷解像度を調整しようとした場合、ヘッド同士の間の位置ずれが生じて、所望の印刷解像度が得られないおそれがある。
【0005】
そこで本開示は、同一のヘッドを用いて印刷する場合において、異なる印刷解像度で印刷処理を行えるようにすると共に、複数のヘッドを用いて印刷する場合において、ヘッド同士の間の位置ずれを防止することを目的とする。
【課題を解決するための手段】
【0006】
上記課題を解決するために、本開示の一態様は、被記録媒体の表面に対して液体を吐出する複数のノズルを含むノズル群を有する、液体吐出装置用のヘッドであって、前記複数のノズルのノズル軸方向から見て、前記ノズル群が配置された正六角形状のノズル面と、前記ノズル面の6つの辺に隣接する6つの側面と、を有し、且つ、前記液体吐出装置に装着された状態において、前記ノズル群は、前記ヘッドが所定の第1印刷姿勢のときと、前記ノズル軸方向に平行な所定の回転軸線回りの回転角度が前記第1印刷姿勢に対して所定角度をなす第2印刷姿勢のときとで、前記ノズル軸方向に交差する交差方向における前記複数のノズルの配置密度が異なるよう構成されている。
【発明の効果】
【0007】
本開示の一態様によれば、本開示は、同一のヘッドを用いて印刷する場合において、異なる印刷解像度で印刷処理を行えると共に、複数のヘッドを用いて印刷する場合において、ヘッド同士の間の位置ずれを防止できる。
【図面の簡単な説明】
【0008】
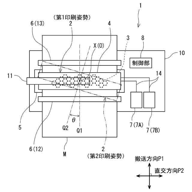
図1は、本開示の実施形態に係る液体吐出装置の概略構成を示す平面図である。
図2は、第1印刷姿勢におけるヘッドの平面図である。
図3は、図2の第1印刷姿勢におけるヘッドの一部拡大図である。
図4は、第2印刷姿勢におけるヘッドの平面図である。
図5は、図4の第2印刷姿勢におけるヘッドの一部拡大図である。
図6は、複数のヘッドが組み合わせて配置される様子を示す模式図である。
【発明を実施するための形態】
【0009】
以下、図面を参照しながら本開示に係る実施形態を説明する。なお、全ての図面を通じて同一又は対応する要素には同一の参照符号を付し、重複説明を省略する。また、本開示は実施形態に限定されず、本開示の趣旨を逸脱しない範囲で追加、削除、及び、変更が可能である。
【0010】
[液体吐出装置の構成]
図1は、本開示の実施形態に係る液体吐出装置1(以下、「装置1」とも称する。)の概略構成を示す平面図である。図1では、回転軸線X方向から見た装置1の構成を示す。また、第1印刷姿勢のヘッドユニット2を実線で示し、第2印刷姿勢のヘッドユニット2を一点鎖線で示す。
(【0011】以降は省略されています)
この特許をJ-PlatPat(特許庁公式サイト)で参照する
関連特許
ブラザー工業株式会社
電子機器
24日前
ブラザー工業株式会社
印刷装置
今日
ブラザー工業株式会社
水塗布装置
16日前
ブラザー工業株式会社
水塗布装置
16日前
ブラザー工業株式会社
水塗布装置
16日前
ブラザー工業株式会社
水塗布装置
16日前
ブラザー工業株式会社
画像形成装置
29日前
ブラザー工業株式会社
液体吐出装置
9日前
ブラザー工業株式会社
液体吐出装置
2日前
ブラザー工業株式会社
画像形成装置
29日前
ブラザー工業株式会社
液体吐出装置
今日
ブラザー工業株式会社
画像形成装置
29日前
ブラザー工業株式会社
画像形成装置
29日前
ブラザー工業株式会社
画像形成装置
21日前
ブラザー工業株式会社
液体吐出ヘッド
今日
ブラザー工業株式会社
液滴吐出ヘッド
2日前
ブラザー工業株式会社
シート給送装置
23日前
ブラザー工業株式会社
情報処理プログラム
今日
ブラザー工業株式会社
タンクおよび液体吐出装置
今日
ブラザー工業株式会社
定着装置及び画像形成装置
21日前
ブラザー工業株式会社
プログラムおよび情報処理装置
今日
ブラザー工業株式会社
プログラム、および、データ処理装置
今日
ブラザー工業株式会社
サポートプログラムおよび印刷システム
9日前
ブラザー工業株式会社
サポートプログラムおよび印刷システム
今日
ブラザー工業株式会社
印刷管理システム、サーバ、印刷管理方法
16日前
ブラザー工業株式会社
プログラム、電子装置、方法、及び印刷システム
14日前
ブラザー工業株式会社
コンピュータプログラム、および、データ処理装置
今日
ブラザー工業株式会社
液体吐出装置用ヘッド及びこれを備える液体吐出装置
今日
ブラザー工業株式会社
情報処理プログラム、情報処理装置、及び情報処理方法
16日前
ブラザー工業株式会社
通信システム、サーバ、および、コンピュータプログラム
29日前
ブラザー工業株式会社
画像形成装置
8日前
ブラザー工業株式会社
現像カートリッジ
14日前
ブラザー工業株式会社
サポートプログラム
今日
ブラザー工業株式会社
サポートプログラム
14日前
ブラザー工業株式会社
サポートプログラム
14日前
ブラザー工業株式会社
コンピュータプログラム、データ処理装置、および、シートの製造方法
16日前
続きを見る
他の特許を見る