TOP
|
特許
|
意匠
|
商標
特許ウォッチ
Twitter
他の特許を見る
10個以上の画像は省略されています。
公開番号
2025170114
公報種別
公開特許公報(A)
公開日
2025-11-14
出願番号
2025152089,2022026765
出願日
2025-09-12,2022-02-24
発明の名称
サポートプログラム
出願人
ブラザー工業株式会社
代理人
主分類
G06F
3/12 20060101AFI20251107BHJP(計算;計数)
要約
【課題】OS標準の汎用印刷プログラムが組み込まれた情報処理装置において、OS標準の汎用印刷プログラムが表示する印刷設定画面をカスタマイズすること。
【解決手段】PC1と接続するプリンタ2に対応し、PC1のOS21にあらかじめ組み込まれた汎用印刷プログラム41をサポートする補助プログラム42である。補助プログラム42は、PC1のCPU11に、プリンタ2が選択されたことによって汎用印刷プログラム41から処理が要求された場合に、印刷設定画面D2をカスタマイズする設定内容を示す設定データを読み込む処理と、読み込まれた設定データに示される設定内容に基づいて、印刷設定画面の表示内容を示す表示データを生成する処理と、生成された表示データを汎用印刷プログラム41に渡し、PC1のディスプレイ13aに表示される印刷設定画面を表示データに従って表示させる処理と、を実行させる。
【選択図】図1
特許請求の範囲
【請求項1】
情報処理装置のコンピュータによって実行可能であり、前記情報処理装置と接続するプリンタに対応し、前記情報処理装置のオペレーティングシステムにあらかじめ組み込まれた汎用印刷プログラムをサポートするサポートプログラムであって、前記汎用印刷プログラムは、前記情報処理装置のディスプレイに印刷設定画面を表示させるためのデータを取り扱うことが可能であり、
前記コンピュータに、
前記プリンタが選択されたことによって前記汎用印刷プログラムから処理が要求された場合に、
前記印刷設定画面をカスタマイズする設定内容を示す設定データを読み込む読込処理と、
前記読込処理にて読み込まれた前記設定データに示される前記設定内容に基づいて、前記印刷設定画面の表示内容を示す表示データを生成する生成処理と、
前記生成処理にて生成された前記表示データを前記汎用印刷プログラムに渡し、前記情報処理装置の前記ディスプレイに表示される前記印刷設定画面を前記表示データに従って表示させる表示処理と、
を実行させる、
ように構成されるサポートプログラム。
続きを表示(約 2,100 文字)
【請求項2】
請求項1に記載するサポートプログラムにおいて、
前記設定データに示される前記設定内容には、印刷設定の項目あるいは各項目に設定可能なパラメータを含めることが可能であり、
前記生成処理では、前記設定データに示される前記設定内容に、前記印刷設定の項目あるいは各項目に設定可能なパラメータが含まれる場合、前記印刷設定画面の表示内容として、前記設定データに従って、前記印刷設定画面にて表示される前記印刷設定の項目あるいは各項目にて設定可能なパラメータを決定する前記表示データを生成する、
ように構成されるサポートプログラム。
【請求項3】
請求項2に記載するサポートプログラムにおいて、
前記生成処理では、前記設定データに示される前記設定内容に、前記印刷設定の第1項目を第1パラメータとする内容が含まれている場合、前記印刷設定画面の表示内容として、前記印刷設定画面に表示される前記印刷設定の前記第1項目を前記第1パラメータとし、前記第1項目の設定の変更を不可にする前記表示データを生成する、
ように構成されるサポートプログラム。
【請求項4】
請求項2または請求項3に記載するサポートプログラムにおいて、
前記生成処理では、前記設定データに示される前記設定内容に、前記印刷設定の第2項目で設定可能な複数のパラメータのうち、第2パラメータを設定不可にする内容が含まれている場合、前記印刷設定画面の表示内容として、前記印刷設定画面に表示される前記印刷設定の前記第2項目で前記第2パラメータを設定不可にする前記表示データを生成する、
ように構成されるサポートプログラム。
【請求項5】
請求項2から請求項4のいずれか1つに記載するサポートプログラムにおいて、
前記生成処理では、前記設定データに示される前記設定内容に、前記印刷設定に第3項目を追加する内容が含まれている場合、前記印刷設定画面に表示される前記印刷設定に前記第3項目を設定可能にする前記表示データを生成する、
ように構成されるサポートプログラム。
【請求項6】
請求項2から請求項5のいずれか1つに記載するサポートプログラムにおいて、
前記生成処理では、前記設定データに示される前記設定内容に、前記印刷設定の第4項目に設定可能なパラメータとして第4パラメータを追加する内容が含まれている場合、前記印刷設定画面に表示される前記印刷設定の前記第4項目に前記第4パラメータを設定可能にする前記表示データを生成する、
ように構成されるサポートプログラム。
【請求項7】
請求項2から請求項6のいずれか1つに記載するサポートプログラムにおいて、
前記生成処理では、前記設定データに示される前記設定内容に、前記印刷設定で設定可能な各項目の表示順序、あるいは前記項目ごとに設定可能な各パラメータの表示順序が含まれている場合、前記印刷設定画面に表示される前記印刷設定の各項目の表示順序、あるいは前記項目ごとに設定可能な各パラメータの表示順序を決定する前記表示データを生成する、
ように構成されるサポートプログラム。
【請求項8】
請求項2から請求項7のいずれか1つに記載するサポートプログラムにおいて、
前記生成処理では、前記設定データに示される前記設定内容に、前記印刷設定で設定可能な各項目の表記、あるいは前記項目ごとに設定可能な各パラメータの表記が含まれている場合、前記印刷設定画面に表示される前記印刷設定で設定可能な各項目の表記、あるいは前記項目ごとに設定可能な各パラメータの表記を決定する前記表示データを生成する、 ように構成されるサポートプログラム。
【請求項9】
請求項1から請求項8のいずれか1つに記載するサポートプログラムにおいて、
前記印刷設定画面には、画像を表示する特定の表示エリアが設けられており、
前記生成処理では、前記設定データに示される前記設定内容に、画像データが含まれる場合、前記印刷設定画面の表示内容として、前記画像データに示される画像を前記印刷設定画面の前記特定の表示エリアに表示させる前記表示データを生成する、
ように構成されるサポートプログラム。
【請求項10】
請求項1から請求項9のいずれか1つに記載するサポートプログラムにおいて、
前記印刷設定画面には、画像を表示する特定の表示エリアが設けられており、
前記生成処理では、前記設定データに示される前記設定内容に、前記印刷設定画面の前記特定の表示エリアに画像を表示しないことを示す情報が含まれる場合、前記印刷設定画面の表示内容として、前記特定の表示エリアに画像を表示しない前記表示データを生成する、
ように構成されるサポートプログラム。
(【請求項11】以降は省略されています)
発明の詳細な説明
【技術分野】
【0001】
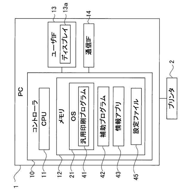
本明細書に開示される技術分野は、プリンタの制御をサポートするサポートプログラムに関する。
続きを表示(約 2,000 文字)
【背景技術】
【0002】
従来、プリンタドライバにて表示される印刷設定画面のカスタマイズを行う技術が知られている。例えば特許文献1には、プリンタドライバに対応する印刷設定アプリケーションをインストールする際にカスタマイズデータもインストールし、印刷設定アプリケーションは、カスタマイズデータに従って印刷設定画面を表示する構成が開示されている。
【先行技術文献】
【特許文献】
【0003】
特開2019-75011号公報
【発明の概要】
【発明が解決しようとする課題】
【0004】
近年、プリンタドライバを利用せず、オペレーティングシステム(OS)に標準に組み込まれている汎用印刷プログラムによってプリンタを制御する技術が実用化されている。
この技術では、OSがプリンタを検知するとOS標準の汎用印刷プログラムとの関連付けを行い、以後、そのプリンタに対する印刷指示を受け付けた場合に、プリンタドライバを用いずに、OS標準の汎用印刷プログラムによる印刷が可能になる。
【0005】
しかしながら、OS標準の汎用印刷プログラムを用いる情報処理装置において、OS標準の汎用印刷プログラムが表示する印刷設定画面を、プリンタの仕様等に合わせてカスタマイズする構成は知られていない。そのため、OS標準の汎用印刷プログラムを用いた環境での印刷設定画面の表示技術には、改善の余地がある。
【課題を解決するための手段】
【0006】
上述した課題の解決を目的としてなされたサポートプログラムは、情報処理装置のコンピュータによって実行可能であり、前記情報処理装置と接続するプリンタに対応し、前記情報処理装置のオペレーティングシステムにあらかじめ組み込まれた汎用印刷プログラムをサポートするサポートプログラムであって、前記汎用印刷プログラムは、前記情報処理装置のディスプレイに印刷設定画面を表示させるためのデータを取り扱うことが可能であり、前記コンピュータに、前記プリンタが選択されたことによって前記汎用印刷プログラムから処理が要求された場合に、前記印刷設定画面をカスタマイズする設定内容を示す設定データを読み込む読込処理と、前記読込処理にて読み込まれた前記設定データに示される前記設定内容に基づいて、前記印刷設定画面の表示内容を示す表示データを生成する生成処理と、前記生成処理にて生成された前記表示データを前記汎用印刷プログラムに渡し、前記情報処理装置の前記ディスプレイに表示される前記印刷設定画面を前記表示データに従って表示させる表示処理と、を実行させる、ように構成される。
【0007】
上記構成のサポートプログラムは、プリンタが選択されたことによって汎用印刷プログラムから処理が要求された際、印刷設定画面をカスタマイズするための設定データを読み込み、その設定データに示される設定内容を反映した表示データを汎用印刷プログラムに渡す。汎用印刷プログラムは、プリンタのモデルごとに対応するプリンタドライバとは異なるOS標準の印刷プログラムである。その汎用印刷プログラムが、サポートプログラムから受け取った表示データに従って印刷設定画面を情報処理装置のディスプレイに表示する。これにより、OS標準の汎用印刷プログラムを用いる情報処理装置において、ユーザの好みやプリンタの仕様ないし運用にあった印刷設定画面をディスプレイに表示することができる。
【0008】
上記サポートプログラムの機能を実現するための装置、制御方法、サポートプログラムを格納するコンピュータにて読取可能な記憶媒体も、新規で有用である。
【発明の効果】
【0009】
本明細書に開示される技術によれば、OS標準の汎用印刷プログラムが組み込まれた情報処理装置において、OS標準の汎用印刷プログラムが表示する印刷設定画面をカスタマイズする技術が実現される。
【図面の簡単な説明】
【0010】
PCの電気的構成の概略を示すブロック図である。
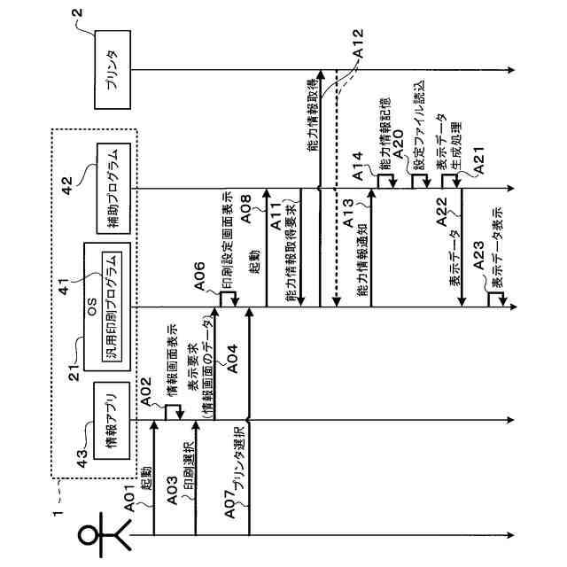
印刷が選択された場合の手順の例を示すシーケンス図である。
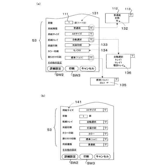
印刷設定画面の例を示す図である。
印刷設定画面の表示例を示す図である。
印刷設定画面の表示例を示す図である。
印刷設定画面の表示例を示す図である。
印刷設定画面の表示例を示す図である。
印刷指示を受け付けた場合の手順の例を示すシーケンス図である。
登録処理の制御手順の一例を示すフローチャートである。
カスタマイズ画面の一例を示す図である。
【発明を実施するための形態】
(【0011】以降は省略されています)
この特許をJ-PlatPat(特許庁公式サイト)で参照する
関連特許
ブラザー工業株式会社
印刷装置
11日前
ブラザー工業株式会社
印刷装置
今日
ブラザー工業株式会社
プリンタ
今日
ブラザー工業株式会社
画像形成装置
6日前
ブラザー工業株式会社
液体吐出装置
11日前
ブラザー工業株式会社
画像読取装置
今日
ブラザー工業株式会社
液体吐出装置
4日前
ブラザー工業株式会社
液体吐出装置
4日前
ブラザー工業株式会社
液体吐出装置
13日前
ブラザー工業株式会社
液体吐出ヘッド
11日前
ブラザー工業株式会社
液体吐出ヘッド
今日
ブラザー工業株式会社
液滴吐出ヘッド
13日前
ブラザー工業株式会社
印刷カセット収納体
5日前
ブラザー工業株式会社
情報処理プログラム
11日前
ブラザー工業株式会社
印刷用カセット収納体
今日
ブラザー工業株式会社
工具搬送装置及び工作機械
4日前
ブラザー工業株式会社
タンクおよび液体吐出装置
11日前
ブラザー工業株式会社
プログラムおよび情報処理装置
11日前
ブラザー工業株式会社
ラベルプリンタおよびプログラム
4日前
ブラザー工業株式会社
ラベルプリンタおよび印刷システム
今日
ブラザー工業株式会社
プログラム、および、データ処理装置
11日前
ブラザー工業株式会社
画像処理装置及び認証処理プログラム
6日前
ブラザー工業株式会社
サポートプログラムおよび印刷システム
11日前
ブラザー工業株式会社
サポートプログラムおよび印刷システム
20日前
ブラザー工業株式会社
液滴吐出装置、その制御方法及びプログラム
5日前
ブラザー工業株式会社
コンピュータプログラム、および、データ処理装置
11日前
ブラザー工業株式会社
管理システム、消費装置、サーバ、および管理方法
今日
ブラザー工業株式会社
液体吐出装置用ヘッド及びこれを備える液体吐出装置
11日前
ブラザー工業株式会社
画像処理装置
4日前
ブラザー工業株式会社
情報処理装置
4日前
ブラザー工業株式会社
画像形成装置
19日前
ブラザー工業株式会社
画像形成装置
今日
ブラザー工業株式会社
サポートプログラム
11日前
ブラザー工業株式会社
サポートプログラム
4日前
ブラザー工業株式会社
サポートプログラムおよび印刷システム
4日前
ブラザー工業株式会社
端末装置のためのコンピュータプログラム、端末装置、及び、端末装置を制御するための方法
11日前
続きを見る
他の特許を見る