TOP
|
特許
|
意匠
|
商標
特許ウォッチ
Twitter
他の特許を見る
10個以上の画像は省略されています。
公開番号
2025170113
公報種別
公開特許公報(A)
公開日
2025-11-14
出願番号
2025152088,2022010931
出願日
2025-09-12,2022-01-27
発明の名称
サポートプログラム
出願人
ブラザー工業株式会社
代理人
主分類
G06F
3/12 20060101AFI20251107BHJP(計算;計数)
要約
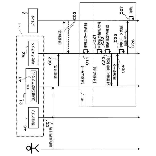
【課題】OS標準の汎用印刷プログラムが組み込まれた情報処理装置において、プリンタとの間で接続エラーが生じている状態である場合に、印刷指示の前にその情報を通知する技術を提供すること。
【解決手段】PC1のOS21にあらかじめ組み込まれた汎用印刷プログラム41は、PC1のディスプレイ13aに印刷設定画面D2を表示させるためのデータを取り扱う。汎用印刷プログラム41をサポートする補助プログラム42は、プリンタ2が選択されたことによって処理が要求された場合に、プリンタ2との間で接続確認を行い、接続確認にて接続エラーが確認された場合に、プリンタ2との接続に失敗したことをユーザに通知する通知内容を示す通知データを生成し、生成された通知データを汎用印刷プログラム41に渡し、PC1のディスプレイ13aに表示される印刷設定画面D2に通知データを表示させる。
【選択図】図1
特許請求の範囲
【請求項1】
情報処理装置のコンピュータによって実行可能であり、前記情報処理装置と接続するプリンタに対応し、前記情報処理装置のオペレーティングシステムにあらかじめ組み込まれた汎用印刷プログラムをサポートするサポートプログラムであって、前記汎用印刷プログラムは、前記情報処理装置のディスプレイに印刷設定画面を表示させるためのデータを取り扱うことが可能であり、
前記コンピュータに、
前記プリンタが選択されたことによって前記汎用印刷プログラムから処理が要求された場合に、
前記プリンタとの間で接続確認を行う確認処理を実行させ、
さらに前記コンピュータに、
前記確認処理にて接続エラーが確認された場合に、
前記プリンタとの接続に失敗したことをユーザに通知する通知内容を示す第1通知データを生成する第1生成処理と、
前記第1生成処理にて生成された前記第1通知データを前記汎用印刷プログラムに渡し、前記情報処理装置の前記ディスプレイに表示される前記印刷設定画面に前記第1通知データを表示させる第1表示処理と、
を実行させる、
ように構成されるサポートプログラム。
続きを表示(約 2,000 文字)
【請求項2】
請求項1に記載するサポートプログラムにおいて、
前記コンピュータに、
前記確認処理にて接続エラーが確認された場合に、
前記プリンタとの接続に失敗したことをユーザに通知するポップアップ画面を、前記印刷設定画面とは別に、前記情報処理装置の前記ディスプレイに表示させるポップアップ表示処理を実行させる、
ように構成されるサポートプログラム。
【請求項3】
請求項1または請求項2に記載するサポートプログラムにおいて、
前記コンピュータに、
前記確認処理にて接続エラーが確認されなかった場合に、
前記プリンタから得られる情報をユーザに通知する通知内容を示す第2通知データを生成する第2生成処理と、
前記第2生成処理にて生成された前記第2通知データを前記汎用印刷プログラムに渡し、前記情報処理装置の前記ディスプレイに表示される前記印刷設定画面に前記第2通知データを表示させる第2表示処理と、
を実行させる、
ように構成されるサポートプログラム。
【請求項4】
請求項3に記載するサポートプログラムにおいて、
前記第2生成処理では、
前記プリンタのステータスを示すステータス情報を取得し、取得された前記ステータス情報に基づいて印刷が可能か否かを判断し、印刷不可と判断された場合に、印刷不可をユーザに通知する通知内容を示す前記第2通知データを生成する、
ように構成されるサポートプログラム。
【請求項5】
情報処理装置のコンピュータによって実行可能であり、前記情報処理装置と接続するプリンタに対応し、前記情報処理装置のオペレーティングシステムにあらかじめ組み込まれた汎用印刷プログラムをサポートするサポートプログラムであって、
前記コンピュータに、
前記プリンタが選択されたことによって前記汎用印刷プログラムから処理が要求された場合に、
前記プリンタとの間で接続確認を行う確認処理を実行させ、
さらに前記コンピュータに、
前記確認処理にて接続エラーが確認された場合に、
前記プリンタとの接続に失敗したことをユーザに通知する通知内容を示す第1通知データを生成する第1生成処理と、
前記第1生成処理にて生成された前記第1通知データをユーザに通知するポップアップ画面を、前記情報処理装置のディスプレイに表示させる第1表示処理と、
を実行させる、
ように構成されるサポートプログラム。
【請求項6】
請求項1から請求項5のいずれか1つに記載するサポートプログラムにおいて、
前記第1生成処理では、
前記プリンタとの接続に失敗したことを示す失敗情報と、前記接続エラーを解消する手順を示すガイド情報と、を前記通知内容に含む前記第1通知データを生成する、
ように構成されるサポートプログラム。
【請求項7】
請求項6に記載するサポートプログラムにおいて、
前記第1生成処理では、
前記失敗情報と、ウェブページを示すURLが埋め込まれたリンクを含む前記ガイド情報と、を前記通知内容に含む前記第1通知データを生成し、前記ウェブページには、前記接続エラーを解消する手順に関する情報が含まれる、
ように構成されるサポートプログラム。
【請求項8】
請求項1から請求項7のいずれか1つに記載するサポートプログラムにおいて、
前記コンピュータに、
前記情報処理装置に組み込まれているアプリケーションプログラムから出力された印刷指示であって、前記汎用印刷プログラムに対して画像の印刷を前記プリンタに行わせる前記印刷指示があったことによって、前記汎用印刷プログラムから処理が要求された場合に、
前記プリンタとの間で接続確認を行う直前確認処理を実行させ、
さらに前記コンピュータに、
前記直前確認処理にて接続エラーが確認された場合に、
前記プリンタとの接続に失敗したことを通知する通知処理を実行させる、
ように構成されるサポートプログラム。
【請求項9】
請求項1から請求項8のいずれか1つに記載するサポートプログラムにおいて、
前記コンピュータに、
前記情報処理装置に組み込まれているアプリケーションプログラムから出力された印刷指示であって、前記汎用印刷プログラムに対して画像の印刷を前記プリンタに行わせる前記印刷指示があったことによって、前記汎用印刷プログラムから処理が要求された場合に、
前記汎用印刷プログラムから前記画像を示す画像データを取得し、前記画像データに基づいて印刷コマンドを前記プリンタに送信するための送信処理を実行させる、
ように構成されるサポートプログラム。
発明の詳細な説明
【技術分野】
【0001】
本明細書に開示される技術分野は、プリンタの制御をサポートするサポートプログラムに関する。
続きを表示(約 2,100 文字)
【背景技術】
【0002】
従来、プリンタドライバを利用して、プリンタとの間の接続状態を通知する構成が知られている。例えば特許文献1には、プリンタ診断修正部と、プリンタドライバと、を備える情報処理装置であって、印刷アプリケーションプログラムから印刷指示があった場合に、プリンタドライバは、印刷ジョブを生成するとともにプリンタ診断修正部に問題の有無の確認を指示し、プリンタ診断修正部は、問題が有る場合は、問題に関わる情報を表示する構成が開示されている。そして、特許文献1には、問題の1つとして、プリンタとの間のオフラインが挙げられている。
【先行技術文献】
【特許文献】
【0003】
特開2021-135666号公報
【発明の概要】
【発明が解決しようとする課題】
【0004】
近年、プリンタドライバを利用せず、オペレーティングシステム(OS)に標準に組み込まれている汎用印刷プログラムによってプリンタを制御する技術が実用化されている。
この技術では、OSがプリンタを検知するとOS標準の汎用印刷プログラムとの関連付けを行い、以後、そのプリンタに対する印刷指示を受け付けた場合に、プリンタドライバを用いずに、OS標準の汎用印刷プログラムによる印刷が可能になる。
【0005】
しかしながら、OS標準の汎用印刷プログラムを用いる情報処理装置において、印刷指示がある前にプリンタとの間の接続状態を通知する構成は知られていない。特許文献1に開示されるプリンタドライバでは、印刷指示があった場合に問題に関わる情報を報知しているため、印刷指示を入力する前にユーザがオフラインを知ることはできない。従って、プリンタに対して接続エラーが生じている状態であっても、ユーザはそのことを知らずに印刷実行を指示することがあることから、改善の余地がある。
【課題を解決するための手段】
【0006】
上述した課題の解決を目的としてなされたサポートプログラムは、情報処理装置のコンピュータによって実行可能であり、前記情報処理装置と接続するプリンタに対応し、前記情報処理装置のオペレーティングシステムにあらかじめ組み込まれた汎用印刷プログラムをサポートするサポートプログラムであって、前記汎用印刷プログラムは、前記情報処理装置のディスプレイに印刷設定画面を表示させるためのデータを取り扱うことが可能であり、前記コンピュータに、前記プリンタが選択されたことによって前記汎用印刷プログラムから処理が要求された場合に、前記プリンタとの間で接続確認を行う確認処理を実行させ、さらに前記コンピュータに、前記確認処理にて接続エラーが確認された場合に、前記プリンタとの接続に失敗したことをユーザに通知する通知内容を示す第1通知データを生成する第1生成処理と、前記第1生成処理にて生成された前記第1通知データを前記汎用印刷プログラムに渡し、前記情報処理装置の前記ディスプレイに表示される前記印刷設定画面に前記第1通知データを表示させる第1表示処理と、を実行させる、ように構成されている。
【0007】
本明細書に開示されるサポートプログラムは、汎用印刷プログラムを介してプリンタが選択された際、プリンタとの間で接続確認を行い、接続エラーが確認された場合に通知データを汎用印刷プログラムに渡して印刷設定画面に表示させる。これにより、OSの汎用印刷プログラムを用いる情報処理装置において、ユーザは、印刷指示を入力する前にそのプリンタとの間の接続状態を知ることができる。
【0008】
上記サポートプログラムが組み込まれた情報処理装置、サポートプログラムを格納するコンピュータにて読取可能な記憶媒体、及びサポートプログラムの機能を実現するための制御方法、サポートプログラムとプリンタとを含む印刷システムも、新規で有用である。
【発明の効果】
【0009】
本明細書に開示される技術によれば、OS標準の汎用印刷プログラムが組み込まれた情報処理装置において、プリンタとの間で接続エラーが生じている状態である場合に、印刷指示の前にその情報を通知する技術が実現される。
【図面の簡単な説明】
【0010】
PCの電気的構成の概略を示すブロック図である。
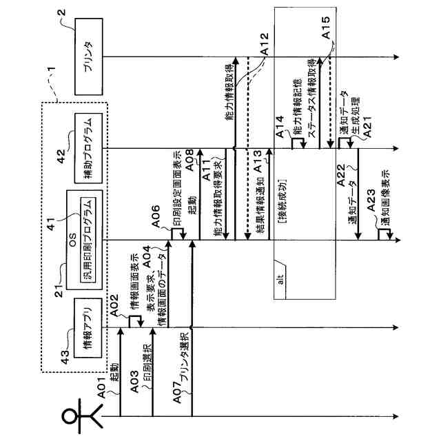
印刷が選択された場合の手順の例を示すシーケンス図である。
情報画面の例を示す説明図である。
印刷設定画面の例を示す説明図である。
通知データ生成処理の手順を示すフローチャートである。
ポップアップ画面の例を示す説明図である。
通知画像の例を示す説明図である。
通知画像の例を示す説明図である。
印刷指示を受け付けた場合の手順の例を示すシーケンス図である。
【発明を実施するための形態】
(【0011】以降は省略されています)
この特許をJ-PlatPat(特許庁公式サイト)で参照する
関連特許
個人
詐欺保険
1か月前
個人
縁伊達ポイン
1か月前
個人
職業自動販売機
1日前
個人
5掛けポイント
8日前
個人
RFタグシート
19日前
個人
ペルソナ認証方式
16日前
個人
QRコードの彩色
1か月前
個人
地球保全システム
1か月前
個人
自動調理装置
18日前
個人
情報処理装置
11日前
個人
残土処理システム
1か月前
個人
農作物用途分配システム
1か月前
個人
サービス情報提供システム
3日前
個人
インターネットの利用構造
15日前
個人
知的財産出願支援システム
1か月前
個人
タッチパネル操作指代替具
25日前
個人
スケジュール調整プログラム
24日前
個人
携帯端末障害問合せシステム
24日前
株式会社キーエンス
受発注システム
1か月前
個人
食品レシピ生成システム
1か月前
株式会社キーエンス
受発注システム
1か月前
株式会社キーエンス
受発注システム
1か月前
個人
エリアガイドナビAIシステム
16日前
個人
帳票自動生成型SaaSシステム
1か月前
キヤノン株式会社
表示システム
1か月前
キヤノン株式会社
印刷システム
24日前
株式会社ワコム
電子ペン
10日前
株式会社ケアコム
項目選択装置
11日前
株式会社ケアコム
項目選択装置
11日前
株式会社ワコム
電子ペン
10日前
トヨタ自動車株式会社
通知装置
22日前
キヤノン株式会社
情報処理装置
9日前
エッグス株式会社
情報処理装置
25日前
個人
音声・通知・再配達UX制御構造
1か月前
個人
マーケティング活動支援装置
1か月前
太陽誘電株式会社
表示装置
22日前
続きを見る
他の特許を見る