TOP
|
特許
|
意匠
|
商標
特許ウォッチ
Twitter
他の特許を見る
公開番号
2025172239
公報種別
公開特許公報(A)
公開日
2025-11-20
出願番号
2025158044,2021140668
出願日
2025-09-24,2021-08-31
発明の名称
画像形成装置
出願人
ブラザー工業株式会社
代理人
弁理士法人ATEN
主分類
B41J
15/04 20060101AFI20251113BHJP(印刷;線画機;タイプライター;スタンプ)
要約
【課題】筐体に挿抜可能であって、ロール体及びカット媒体を収容可能な給送トレイを有する画像形成装置において、給送トレイに収容されたロール体から巻き解かれたロール媒体及びカット媒体を、搬送経路に適切に案内することを可能とする。
【解決手段】本実施形態のプリンタ100は、搬送経路が形成される筐体100aと、ロール体R及びカット紙P2を収容可能な給送トレイ11と、ロール紙P1a及びカット紙P2を搬送経路に案内する第1案内部材7と、ロール紙P1aを搬送経路に案内する第2案内部材8とを有している。第2案内部材8は、ロール紙P1aを挟んで第1案内部材7と反対側に位置している。そして、第2案内部材8は、ロール紙P1aを案内経路に案内する案内位置と、案内位置よりも第1案内部材7から離れた位置であって第2収容部11bに収容されたカット紙P2と干渉しない退避位置との間で移動可能である。
【選択図】図1
特許請求の範囲
【請求項1】
搬送経路が形成される筐体と、
前記筐体に対して挿抜可能であって、シート状媒体がロール状に巻回されたロール体を収容可能な第1収容部と、シート状媒体を複数積層された状態で収容可能な第2収容部と、を有する給送トレイと、
前記搬送経路内の前記シート状媒体に対して画像を形成する画像形成部と、
前記シート状媒体を前記搬送経路に案内する第1案内部材と、
前記筐体に支持され、前記ロール体から巻き解かれたシート状媒体であるロール媒体を前記搬送経路に案内する第2案内部材と、を備え、
前記第2案内部材は、前記ロール媒体を挟んで前記第1案内部材と反対側に位置しており、
前記第2案内部材は、さらに、前記ロール媒体を前記搬送経路に案内する案内位置と、前記案内位置よりも前記第1案内部材から離れた位置であって前記第2収容部に収容された前記シート状媒体と干渉しない退避位置との間で移動可能であることを特徴とする画像形成装置。
続きを表示(約 1,600 文字)
【請求項2】
前記第2案内部材は、前記退避位置にあるとき、前記給送トレイの前記筐体に対する挿抜時に前記給送トレイと干渉しないことを特徴とする請求項1に記載の画像形成装置。
【請求項3】
前記第2案内部材は、
前記案内位置にあるとき、その少なくとも一部が前記第2収容部における前記シート状媒体を収容可能な収容領域に配置され、
前記退避位置にあるとき、その全部が前記収容領域の外側に配置されることを特徴とする請求項1又は2に記載の画像形成装置。
【請求項4】
前記第2案内部材は、
前記退避位置にあるとき、前記第2収容部に前記シート状媒体が最大数収容されたときの最大高さ位置よりも上側となる位置に配置されていることを特徴とする請求項3に記載の画像形成装置。
【請求項5】
前記第2案内部材は、前記搬送経路に沿った搬送方向の下流側の一端部に回転軸を有し、
前記第2案内部材は、前記回転軸を中心に回転することで、前記案内位置と前記退避位置との間を移動可能であることを特徴とする請求項1~4のいずれか1項に記載の画像形成装置。
【請求項6】
前記第2案内部材は、前記給送トレイの前記筐体に対する挿抜に連動して前記退避位置に移動可能であることを特徴とする請求項1~5のいずれか1項に記載の画像形成装置。
【請求項7】
前記給送トレイから前記シート状媒体を前記搬送経路に給送する給送ローラと、
前記給送ローラを回転可能に支持する揺動アームと、
前記揺動アームを揺動可能に支持する揺動軸と、
前記給送トレイの前記筐体に対する挿抜時に、前記給送ローラ及び前記揺動アームを、前記給送トレイと干渉しない位置に移動させる退避機構と、をさらに備え、
前記第2案内部材は、前記揺動アームの移動に連動して前記退避位置に移動可能であることを特徴とする請求項6に記載の画像形成装置。
【請求項8】
前記揺動アーム及び前記第2案内部材の一方には、前記給送トレイの挿抜方向と直交する方向に延びる凸部が形成され、
前記揺動アーム及び前記第2案内部材の他方には、前記凸部の延在方向と直交する方向に沿って形成され、前記凸部が挿入された長孔部分を有しており、
前記給送トレイの前記筐体に対する挿抜時に、前記凸部が前記長孔部分に沿って移動することにより、前記第2案内部材が前記揺動アームの移動に連動して移動可能であることを特徴とする請求項7に記載の画像形成装置。
【請求項9】
前記第2案内部材は、前記搬送経路に沿った搬送方向の下流側の一端部に回転軸を有し、
前記第2案内部材は、前記回転軸を中心に回転することで、前記案内位置と前記退避位置との間を移動可能であり、
前記給送ローラは、前記第2案内部材が前記案内位置にあるときに、前記回転軸及び前記揺動軸よりも下方であって、前記挿抜方向において前記回転軸と前記揺動軸との間に配置され、
前記凸部と前記長孔部分は、前記給送ローラによる前記ロール媒体の給送時に当該ロール媒体との接触により前記第2案内部材が前記案内位置から前記退避位置に向かって回動する際に、前記揺動アームに、前記凸部と前記長孔部分との当接箇所から前記揺動軸の中心に向かう第1方向及び前記当接箇所から前記揺動軸の中心よりも下方を向く第2方向のいずれかの力が作用する形状に形成されていることを特徴とする請求項8に記載の画像形成装置。
【請求項10】
前記第2方向は、水平方向及び前記水平方向よりも上方を向く方向のいずれかであることを特徴とする請求項9に記載の画像形成装置。
(【請求項11】以降は省略されています)
発明の詳細な説明
【技術分野】
【0001】
本発明は、ロール体とカット媒体の両方を収容可能な給送トレイを有する画像形成装置に関する。
続きを表示(約 2,000 文字)
【背景技術】
【0002】
シート状の用紙がロール状に巻回されたロール体と、カット紙との両方を収容可能な画像形成装置が知られている。例えば、特許文献1には、ロール体用の載置部およびカット紙用の載置部が形成された給紙カセット(給送トレイ)を有するファクシミリ(画像形成装置)が開示されている。給送トレイは、ファクシミリ本体(筐体)に挿抜可能である。
【先行技術文献】
【特許文献】
【0003】
特開平02-264556号公報
【発明の概要】
【発明が解決しようとする課題】
【0004】
ここで、ロール体から巻き解かれたロール紙の先端は巻回方向に沿ってカールしている。このため、給送トレイに収容されたロール体から巻き解かれて搬送されるロール紙(ロール媒体)が、搬送経路に適切に案内されないおそれがある。
【0005】
本発明の目的は、筐体に挿抜可能であって、ロール体及びカット媒体を収容可能な給送トレイを有する画像形成装置において、給送トレイに収容されたロール体から巻き解かれたロール媒体及びカット媒体を、搬送経路に適切に案内することができる画像形成装置を提供することである。
【課題を解決するための手段】
【0006】
本発明に係る画像形成装置は、搬送経路が形成される筐体と、前記筐体に対して挿抜可能であって、長尺のシート状媒体がロール状に巻回されたロール体を収容可能な第1収容部と、前記長尺のシート状媒体よりも短尺のシート状媒体であるカット媒体を複数積層された状態で収容可能な第2収容部と、を有する給送トレイと、前記搬送経路内の前記シート状媒体に対して画像を形成する画像形成部と、前記シート状媒体を前記搬送経路に案内する第1案内部材と、前記筐体に支持され、前記ロール体から巻き解かれたシート状媒体であるロール媒体を前記搬送経路に案内する第2案内部材と、を備え、前記第2案内部材は、前記ロール媒体を挟んで前記第1案内部材と反対側に位置しており、前記第2案内部材は、さらに、前記ロール媒体を前記搬送経路に案内する案内位置と、前記案内位置よりも前記第1案内部材から離れた位置であって前記第2収容部に収容された前記カット媒体と干渉しない退避位置との間で移動可能である。
【発明の効果】
【0007】
本発明によると、第2案内部材を退避位置に移動させることで、第2案内部材が第2収容部に収容されたカット媒体と干渉しない。このため、カット媒体を第2収容部に適切に収容しつつ、且つ、第2収容部に収容されたカット媒体を第1案内部材によって搬送経路に適切に案内することができる。また、案内部材を案内位置に移動させることで、ロール体から巻き解かれたロール媒体を第2案内部材によって搬送経路に適切に案内することができる。これにより、筐体に挿抜可能であって、ロール体とカット媒体を収容可能な給送トレイを有する画像形成装置において、ロール体から巻き解かれたロール媒体及びカット媒体を、搬送経路に適切に案内することができる。
【図面の簡単な説明】
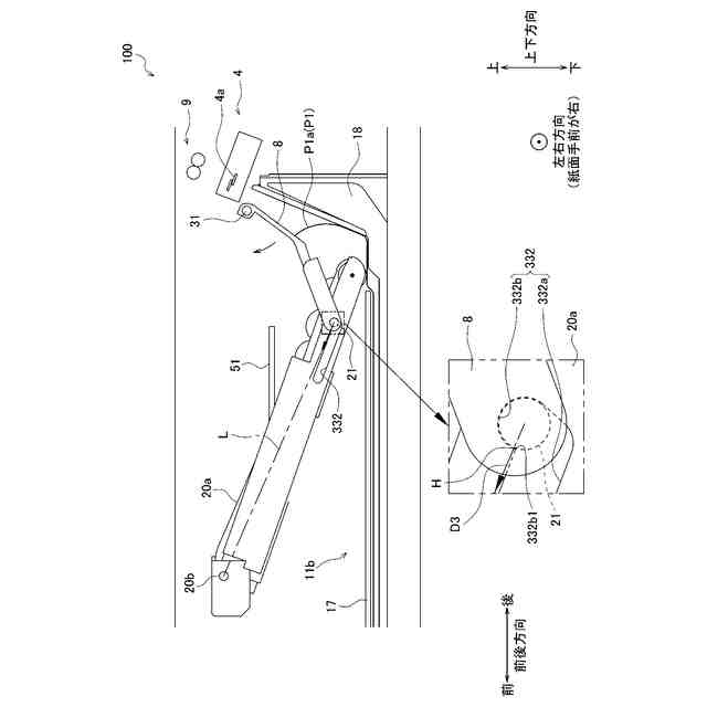
【0008】
本発明の実施形態に係るプリンタの概略構成図である。
カット紙収容時におけるプリンタの概略構成図である。
筐体の一部と給送トレイとを示す概略斜視図である。
給送トレイの挿抜時におけるプリンタの概略構成図である。
給送トレイが筐体に挿入されている時における退避機構の概略構成図である。
給送トレイの挿抜時における退避機構の概略構成図である。
長孔部分の変形例を示す要部拡大図である。
長孔部分及び凸部の別の変形例を示す要部拡大図である。
【発明を実施するための形態】
【0009】
本発明の好適な実施形態に係るプリンタ100(本発明の画像形成装置)について、図1~図6を参照しつつ、以下に説明する。なお、図1に示す上下方向、左右方向及び前後方向を、プリンタ100の上下方向、左右方向及び前後方向とする。
【0010】
(プリンタ100の全体構成)
図1に示すように、プリンタ100は、筐体100aと、給送トレイ11と、給送ローラ2と、搬送ローラ対3aと、排紙ローラ対3bと、カッター機構4と、ヘッド5(本発明の画像形成部)と、排紙トレイ6と、第1案内部材7と、第2案内部材8と、中間ローラ対9と、制御部10と、を含む。給送トレイ11は、筐体100aの下部に挿抜可能である。排紙トレイ6は、筐体100aの上部の前側の側壁を構成し、筐体100aに対して開閉可能である。なお、図3では、筐体100aの下側の一部のみ図示している。
(【0011】以降は省略されています)
この特許をJ-PlatPat(特許庁公式サイト)で参照する
関連特許
ブラザー工業株式会社
画像形成装置
1日前
株式会社FUJI
搬送治具及び印刷装置
1日前
他の特許を見る