TOP
|
特許
|
意匠
|
商標
特許ウォッチ
Twitter
他の特許を見る
公開番号
2025155176
公報種別
公開特許公報(A)
公開日
2025-10-14
出願番号
2024058777
出願日
2024-04-01
発明の名称
スキャナ
出願人
ブラザー工業株式会社
代理人
弁理士法人コスモス国際特許商標事務所
主分類
H04N
1/00 20060101AFI20251006BHJP(電気通信技術)
要約
【課題】プルスキャンが可能なスキャナにおいて、スキャンを実行できる可能性を高められる技術を提供すること。
【解決手段】MFP1は、PC3からプルスキャン実行指示を受信した場合、原稿トレイ161に載せられた原稿を読取ユニット16を用いてスキャンして、スキャンデータを送信する。MFP1は、PC3からプルスキャン予約指示を受信可能であり、原稿トレイ161に原稿が載せられていない状態でプルスキャン予約指示を受信したことに応じて、予約情報25をメモリ12に記憶する。MFP1は、原稿トレイ161に原稿が載せられている状態で、ユーザIF13を介して、予約情報25の1つが指定された予約スキャン実行指示を受け付け可能であり、予約スキャン実行指示を受け付けたことに応じて、原稿トレイ161に載せられた原稿を読取ユニット16を用いてスキャンして、指定された予約情報25を送信したPC3にスキャンデータを送信する。
【選択図】図1
特許請求の範囲
【請求項1】
トレイと、
画像読取りユニットと、
ユーザインタフェースと、
通信インタフェースと、
メモリと、
を備えるスキャナであって、
前記スキャナは、
前記通信インタフェースを介して、情報処理装置への操作に基づいて前記情報処理装置から送信されるスキャン指示を受信可能であり、
前記スキャン指示を受信したことに応じて、プルスキャン処理を実行し、前記プルスキャン処理では、前記トレイに載せられた原稿を前記画像読取りユニットを用いてスキャンして画像データを生成し、生成した前記画像データを、前記通信インタフェースを介して、前記スキャン指示を送信した前記情報処理装置に送信し、
前記スキャナはさらに、
前記通信インタフェースを介して、前記情報処理装置への操作に基づいて前記情報処理装置から送信されるスキャン予約指示を受信可能であり、
原稿が前記トレイに載せられていない状態で、前記スキャン予約指示を受信したことに応じて、前記スキャン予約指示に対応する予約情報を前記メモリに記憶させ、
前記スキャナはさらに、
原稿が前記トレイに載せられている状態で、前記ユーザインタフェースを介して、前記メモリに記憶された前記予約情報の1つが指定された予約プルスキャン指示を受け付け可能であり、
前記予約プルスキャン指示を受け付けたことに応じて、予約プルスキャン処理を実行し、前記予約プルスキャン処理では、前記トレイに載せられた原稿を前記画像読取りユニットを用いてスキャンして画像データを生成し、生成した前記画像データを、前記通信インタフェースを介して、指定された前記予約情報に対応する前記スキャン予約指示を送信した前記情報処理装置に送信する、
ように構成されるスキャナ。
続きを表示(約 3,500 文字)
【請求項2】
請求項1に記載するスキャナにおいて、
前記スキャナは、
第1情報処理装置にインストールされた第1プログラムによって前記第1情報処理装置から送信される第1指示であって、前記第1情報処理装置に表示される画面に対する操作に基づいて受け付けられる前記第1指示を、受信可能であり、前記第1プログラムにて受け付け可能な前記第1指示の種類には、前記スキャン指示および前記スキャン予約指示が含まれ、
前記スキャナはさらに、
前記第1プログラムからの前記第1指示が前記スキャン指示である場合、前記スキャン指示を受信したときに前記トレイに載せられている原稿を対象に、前記プルスキャン処理を実行し、
前記第1プログラムからの前記第1指示が前記スキャン予約指示である場合、受信した前記スキャン予約指示に対応する前記予約情報を前記メモリに記憶させ、受信した前記スキャン予約指示に対応する前記予約情報が指定された前記予約プルスキャン指示を受け付けたことに応じて、前記予約プルスキャン指示を受け付けたときに前記トレイに載せられている原稿を対象に、前記予約プルスキャン処理を実行する、
ように構成されるスキャナ。
【請求項3】
請求項2に記載するスキャナにおいて、
前記スキャナは、
原稿が前記トレイに載せられていない状態で、前記第1プログラムからの前記スキャン指示を受信した場合、原稿を前記トレイに載せることを報知する報知画面を前記ユーザインタフェースに表示させ、
原稿が前記トレイに載せられていない状態で、前記第1プログラムからの前記スキャン予約指示を受信した場合、前記報知画面を前記ユーザインタフェースに表示させず、受信した前記スキャン予約指示に対応する前記予約情報を前記メモリに記憶させ、受信した前記スキャン予約指示に対応する前記予約情報が指定された前記予約プルスキャン指示を受け付けたことに応じて、前記予約プルスキャン指示を受け付けたときに前記トレイに載せられている原稿を対象に、前記予約プルスキャン処理を実行する、
ように構成されるスキャナ。
【請求項4】
請求項3に記載するスキャナにおいて、
前記スキャナは、
第2情報処理装置にインストールされた第2プログラムによって前記第2情報処理装置から送信される第2指示であって、前記第2情報処理装置に表示される画面に対する操作に基づいて受け付けられる前記第2指示を、受信可能であり、前記第2プログラムにて受け付け可能な前記第2指示の種類には、前記スキャン指示が含まれ、前記スキャン予約指示が含まれず、
前記スキャナはさらに、
原稿が前記トレイに載せられていない状態で、前記第1プログラムあるいは前記第2プログラムからの前記スキャン指示を受信した場合、原稿が前記トレイに載せられていないことを示す報知画面を前記ユーザインタフェースに表示させ、
原稿が前記トレイに載せられていない状態で、前記第1プログラムからの前記スキャン予約指示を受信した場合、前記報知画面を前記ユーザインタフェースに表示させず、受信した前記スキャン予約指示に対応する前記予約情報を前記メモリに記憶させ、受信した前記スキャン予約指示に対応する前記予約情報が指定された前記予約プルスキャン指示を受け付けたことに応じて、前記予約プルスキャン指示を受け付けたときに前記トレイに載せられている原稿を対象に、前記予約プルスキャン処理を実行する、
ように構成されるスキャナ。
【請求項5】
請求項1に記載するスキャナにおいて、
前記スキャナは、
前記予約情報が前記メモリに記憶されている場合に、前記予約情報が記憶されていることを示す予約有り画面を前記ユーザインタフェースに表示させ、
前記スキャナはさらに、
前記予約有り画面を介した操作に含まれる前記予約プルスキャン指示を受け付けたことに応じて、前記予約プルスキャン処理を実行する、
ように構成されるスキャナ。
【請求項6】
請求項5に記載するスキャナにおいて、
前記スキャナは、
前記予約情報が前記メモリに記憶されている場合に、前記予約情報が記憶されていることを示すアイコンを含む前記予約有り画面を前記ユーザインタフェースに表示させ、
前記アイコンを介した操作に含まれる前記予約プルスキャン指示を受け付けたことに応じて、前記予約プルスキャン処理を実行する、
ように構成されるスキャナ。
【請求項7】
請求項1に記載するスキャナにおいて、
前記スキャナは、
前記ユーザインタフェースを介した操作に応じて、前記メモリに記憶されている前記予約情報に対応する前記スキャン予約指示の予約内容を示す予約内容画面を前記ユーザインタフェースに表示させ、
前記スキャナはさらに、
前記予約内容画面を介した操作によって前記予約情報が指定された前記予約プルスキャン指示を受け付けたことに応じて、前記予約プルスキャン指示を受け付けたときに前記トレイに載せられている原稿を対象に、前記予約プルスキャン処理を実行する、
ように構成されるスキャナ。
【請求項8】
請求項7に記載するスキャナにおいて、
前記情報処理装置から送信される前記スキャン予約指示には、前記情報処理装置にログインしているユーザの識別情報が関連付けられている場合があり、
前記スキャナは、
特定のユーザが前記スキャナにログインしている状態で、前記ユーザインタフェースを介した操作に応じて、前記予約内容画面を前記ユーザインタフェースに表示させ、前記予約内容画面には、前記特定のユーザを示す識別情報が関連付けられた前記スキャン予約指示に対応する前記予約情報の指定を受け付け、前記特定のユーザと異なるユーザを示す識別情報が関連付けられた前記スキャン予約指示に対応する前記予約情報の指定を受け付けず、
前記スキャナはさらに、
前記予約内容画面を介した操作によって前記予約情報が指定された前記予約プルスキャン指示を受け付けたことに応じて、前記予約プルスキャン指示を受け付けたときに前記トレイに載せられている原稿を対象に、前記予約プルスキャン処理を実行する、
ように構成されるスキャナ。
【請求項9】
請求項8に記載するスキャナにおいて、
前記スキャナは、
前記メモリに前記予約情報が記憶されている状態で、前記通信インタフェースを介して、新たに、前記情報処理装置あるいは別の情報処理装置からスキャン予約指示を受信したことに応じて、受信した新たな前記スキャン予約指示に対応する新たな予約情報を前記メモリに記憶させ、
前記スキャナはさらに、
特定のユーザが前記スキャナにログインしている状態で、前記ユーザインタフェースを介した操作に応じて、前記予約内容画面を前記ユーザインタフェースに表示させ、前記予約内容画面には、前記特定のユーザを示す識別情報が関連付けられた前記スキャン予約指示に対応する前記予約情報の指定を受け付ける選択肢を含ませ、前記特定のユーザと異なるユーザを示す識別情報が関連付けられた前記スキャン予約指示に対応する前記予約情報の指定を受け付ける選択肢を含ませず、
前記スキャナはさらに、
前記予約内容画面に含まれる前記選択肢の1つを選択する操作によって前記予約情報が指定された前記予約プルスキャン指示を受け付けたことに応じて、前記予約プルスキャン指示を受け付けたときに前記トレイに載せられている原稿を対象に、前記予約プルスキャン処理を実行する、
ように構成されるスキャナ。
【請求項10】
請求項9に記載するスキャナにおいて、
前記スキャナは、
特定のユーザが前記スキャナにログインしている状態で、前記ユーザインタフェースを介した操作に応じて、前記予約内容画面を前記ユーザインタフェースに表示させ、前記予約内容画面には、前記特定のユーザを示す識別情報が関連付けられた前記スキャン予約指示の前記予約内容として、前記情報処理装置によって設定されたスキャンの設定を示す設定情報が含まれる、
ように構成されるスキャナ。
(【請求項11】以降は省略されています)
発明の詳細な説明
【技術分野】
【0001】
本明細書に開示される技術分野は、プルスキャンが可能なスキャナに関する。
続きを表示(約 2,200 文字)
【背景技術】
【0002】
スキャナの機能として、スキャナと接続する装置から送信されるスキャン指示に基づいて、原稿をスキャンして画像データを生成し、その画像データをスキャン指示を送信した装置に送信するプルスキャンが知られている。プルスキャンの構成が開示されている文献としては、例えば特許文献1がある。
【先行技術文献】
【特許文献】
【0003】
特開2014-030182号公報
【発明の概要】
【発明が解決しようとする課題】
【0004】
プルスキャンの場合、ユーザは、原稿をスキャナのトレイに載せてから情報処理装置に戻ってスキャン指示を入力することから、原稿がスキャナに載せられたまま、スキャン指示を入力するユーザがスキャナの前に居ない状態になる。そのため、他のユーザが、その原稿が放置されたものと勘違いして取り除いてしまうことがあり、ユーザ自身が載せた原稿を、スキャナがスキャンできないという問題が生じ得る。
【課題を解決するための手段】
【0005】
本明細書に開示されるスキャナは、トレイと、画像読取りユニットと、ユーザインタフェースと、通信インタフェースと、メモリと、を備えるスキャナであって、前記スキャナは、前記通信インタフェースを介して、情報処理装置への操作に基づいて前記情報処理装置から送信されるスキャン指示を受信可能であり、前記スキャン指示を受信したことに応じて、プルスキャン処理を実行し、前記プルスキャン処理では、前記トレイに載せられた原稿を前記画像読取りユニットを用いてスキャンして画像データを生成し、生成した前記画像データを、前記通信インタフェースを介して、前記スキャン指示を送信した前記情報処理装置に送信し、前記スキャナはさらに、前記通信インタフェースを介して、前記情報処理装置への操作に基づいて前記情報処理装置から送信されるスキャン予約指示を受信可能であり、原稿が前記トレイに載せられていない状態で、前記スキャン予約指示を受信したことに応じて、前記スキャン予約指示に対応する予約情報を前記メモリに記憶させ、前記スキャナはさらに、原稿が前記トレイに載せられている状態で、前記ユーザインタフェースを介して、前記メモリに記憶された前記予約情報の1つが指定された予約プルスキャン指示を受け付け可能であり、前記予約プルスキャン指示を受け付けたことに応じて、予約プルスキャン処理を実行し、前記予約プルスキャン処理では、前記トレイに載せられた原稿を前記画像読取りユニットを用いてスキャンして画像データを生成し、生成した前記画像データを、前記通信インタフェースを介して、指定された前記予約情報に対応する前記スキャン予約指示を送信した前記情報処理装置に送信する、ように構成されている。
【0006】
本明細書に開示されるスキャナは、情報処理装置からの指示に応じてスキャンを直ぐに開始するスキャン指示とは別に、原稿がトレイに載せられていない状態で情報処理装置から送信されるスキャン予約指示を受信可能である。スキャナは、スキャン予約指示に応じて直ぐにスキャンを開始するのではなく、そのスキャン予約指示に対応する予約情報を記憶する。さらに、スキャナは、予約情報を記憶した後、原稿がトレイに載せられた状態で、スキャナにて、その予約情報が指定された予約プルスキャン指示を受け付けたことに応じてスキャンを開始する。従って、情報処理装置から指示を入力するために、原稿をトレイに載せたままユーザがスキャナを離れて情報処理装置に戻るといった必要がなく、原稿の安全性が高い。
【0007】
上記スキャナの機能を実現するための制御方法、コンピュータプログラム、および当該コンピュータプログラムを格納するコンピュータにて読取可能な記憶媒体も、新規で有用である。
【発明の効果】
【0008】
本明細書に開示される技術によれば、プルスキャンが可能なスキャナにおいて、スキャンを実行できる可能性を高められる技術が実現される。
【図面の簡単な説明】
【0009】
本形態のMFPの概略構成を示すブロック図である。
スキャンアプリ常駐処理の手順を示すフローチャートである。
スキャンアプリ処理の手順を示すフローチャートである。
指示受付画面の例を示す説明図である。
プルスキャン処理の手順を示すフローチャートである。
MFPのホーム画面の例を示す説明図である。
予約指示受信処理の手順を示すフローチャートである。
予約情報の例を示す説明図である。
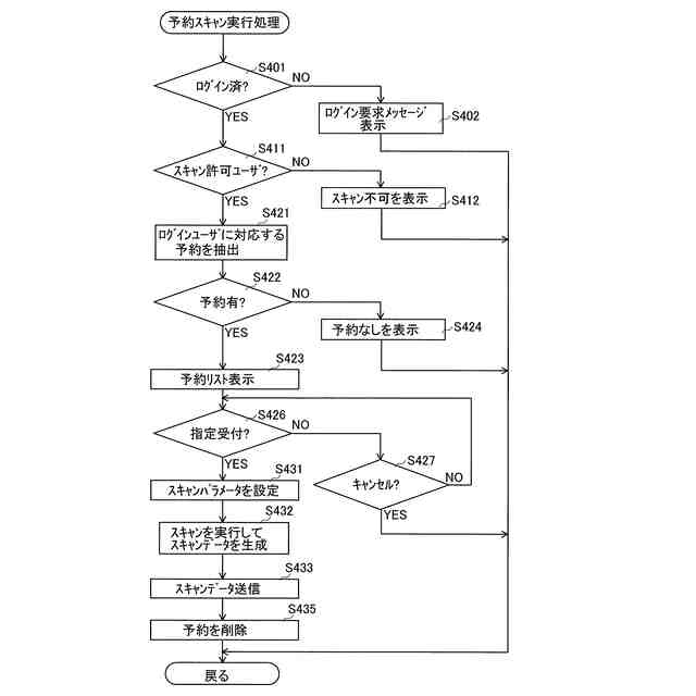
予約スキャン実行処理の手順を示すフローチャートである。
予約リストの例を示す説明図である。
実行指示受信処理の手順を示すフローチャートである。
報知画面の例を示す説明図である。
【発明を実施するための形態】
【0010】
以下、スキャナを具体化した実施の形態について、添付図面を参照しつつ詳細に説明する。本明細書では、スキャン機能と通信機能とを含む複数の機能を実行可能な複合機(以下、「MFP」とする)を開示する。
(【0011】以降は省略されています)
この特許をJ-PlatPat(特許庁公式サイト)で参照する
関連特許
ブラザー工業株式会社
印刷装置
22日前
ブラザー工業株式会社
印刷装置
10日前
ブラザー工業株式会社
スキャナ
25日前
ブラザー工業株式会社
スキャナ
25日前
ブラザー工業株式会社
電子機器
4日前
ブラザー工業株式会社
画像形成装置
25日前
ブラザー工業株式会社
画像形成装置
1日前
ブラザー工業株式会社
画像形成装置
25日前
ブラザー工業株式会社
画像形成装置
25日前
ブラザー工業株式会社
画像形成装置
9日前
ブラザー工業株式会社
画像形成装置
9日前
ブラザー工業株式会社
画像形成装置
9日前
ブラザー工業株式会社
画像形成装置
9日前
ブラザー工業株式会社
シート給送装置
3日前
ブラザー工業株式会社
サポートプログラム
9日前
ブラザー工業株式会社
サポートプログラム
9日前
ブラザー工業株式会社
プリンタおよびプログラム
11日前
ブラザー工業株式会社
プリンタおよびプログラム
11日前
ブラザー工業株式会社
定着装置及び画像形成装置
1日前
ブラザー工業株式会社
インクジェット記録方法及び印刷物
24日前
ブラザー工業株式会社
画像形成方法及びそれに用いられる液体
25日前
ブラザー工業株式会社
画像形成装置、画像形成システム、消耗品
25日前
ブラザー工業株式会社
接着液、画像形成システム、及び画像形成方法
29日前
ブラザー工業株式会社
制御装置、制御方法、及びコンピュータプログラム
29日前
ブラザー工業株式会社
プログラム、データ処理装置、および、データ処理方法
11日前
ブラザー工業株式会社
画像形成装置、画像形成プログラム、及び画像形成方法
29日前
ブラザー工業株式会社
通信システム、サーバ、および、コンピュータプログラム
9日前
ブラザー工業株式会社
カセット
25日前
ブラザー工業株式会社
プリンタ
24日前
ブラザー工業株式会社
制御装置、工作機械、制御方法及びコンピュータプログラム
29日前
ブラザー工業株式会社
制御装置、工作機械、制御方法及びコンピュータプログラム
29日前
ブラザー工業株式会社
工作機械、工作機械の制御方法、及びコンピュータプログラム
29日前
ブラザー工業株式会社
画像形成装置
15日前
ブラザー工業株式会社
ラベル巻付装置
25日前
ブラザー工業株式会社
タンクセット及び液体消費装置
1日前
ブラザー工業株式会社
情報処理プログラム、情報処理装置、情報処理方法、印刷プログラム、印刷装置、及び印刷方法
11日前
続きを見る
他の特許を見る