TOP
|
特許
|
意匠
|
商標
特許ウォッチ
Twitter
他の特許を見る
10個以上の画像は省略されています。
公開番号
2025154672
公報種別
公開特許公報(A)
公開日
2025-10-10
出願番号
2024057797
出願日
2024-03-29
発明の名称
制御装置、工作機械、制御方法及びコンピュータプログラム
出願人
ブラザー工業株式会社
代理人
個人
,
個人
主分類
G05B
19/18 20060101AFI20251002BHJP(制御;調整)
要約
【課題】ユーザの設定無しに、主軸の移動と保持部の制動解除を並行的に実行する制御装置等を提供する。
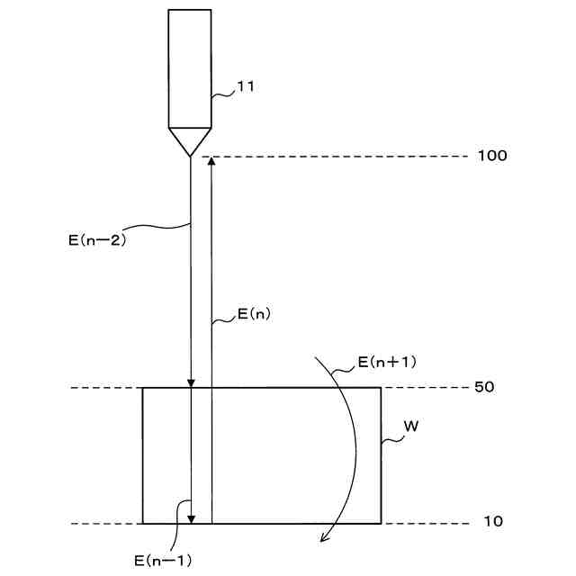
【解決手段】制御装置は、複数の指令を順に読み出して、主軸、ワークを保持する保持部及び保持部を制動する制動部を制御する制御部を備える。制御部は、読み出した指令は切削開始位置から切削終了位置までのワークの切削と主軸の軸方向にてワークに接近する主軸の移動とを示す指令である第一指令であるか否か判定し読み出した指令は第一指令の後の指令であり、軸方向にてワークから離れる主軸の移動を示す指令である第二指令であるか否か判定し第二指令の後の指令である第三指令が保持部の移動を示す指令であるか否か判定する。第三指令が保持部の移動を示す指令であると判定した場合、第二指令の実行時に、主軸が切削開始位置又は前記切削開始位置よりも前記ワークから離れた位置である制動解除位置に到達した際、第二指令及び制動解除を並行的に実行する。
【選択図】図7
特許請求の範囲
【請求項1】
工具を装着する移動可能な主軸と、ワークを保持する移動可能な保持部と、前記保持部に対する制動及び制動解除を行う制動部と、複数の指令を順に読み出して、前記主軸、保持部及び制動部を制御する工作機械の制御装置において、
制御部を備え、
前記制御部は、
読み出した前記指令は、切削開始位置から切削終了位置までの前記ワークの切削と、前記主軸の軸方向にて前記ワークに接近する前記主軸の移動とを示す指令である第一指令であるか否か判定する第一指令判定処理と、
読み出した前記指令は、前記第一指令の後の指令であり、前記軸方向にて前記ワークから離れる前記主軸の移動を示す指令である第二指令であるか否か判定する第二指令判定処理と、
前記第二指令の後の指令である第三指令が前記保持部の移動を示す指令であるか否か判定する第一判定処理と、
前記第一判定処理にて、前記第三指令が前記保持部の移動を示す指令であると判定した場合、前記第二指令の実行時に、前記主軸が前記切削開始位置又は前記切削開始位置よりも前記ワークから離れた位置である制動解除位置に到達した際、前記第二指令及び前記制動解除を並行的に実行する並行実行処理を実行する
制御装置。
続きを表示(約 2,400 文字)
【請求項2】
前記制御部は、前記第一判定処理にて、前記第三指令が前記保持部の移動を示す指令であると判定した場合、制動解除の記憶指示と、前記制動解除位置とを記憶する第一記憶処理と、
前記並行実行処理において、前記第一記憶処理にて記憶した前記制動解除位置に基づいて、前記主軸が前記制動解除位置に到達したか否か判定する第二判定処理と
を実行する
請求項1に記載の制御装置。
【請求項3】
前記制御部は、前記第一指令を読み出した場合、前記切削開始位置の記憶指示と、前記切削開始位置とを記憶する第二記憶処理を実行する
請求項1又は2に記載の制御装置。
【請求項4】
前記制御部は、
前記第二記憶処理の実行後、前記第二指令以外の指令であり、且つ前記主軸の移動を示す指令以外の指令を読み出した場合、前記第二記憶処理にて記憶した前記切削開始位置の記憶指示と、前記切削開始位置とを消去する第一消去処理を実行する
請求項3に記載の制御装置。
【請求項5】
前記制御部は前記第二記憶処理にて前記切削開始位置の記憶指示を記憶した後、前記第一指令の次の指令が、前記第二指令であるか否か判定する第三判定処理と、
前記第三判定処理にて、前記第一指令の次の指令が、前記第二指令でないと判定した場合、前記第一指令の次の指令が前記主軸の移動を示す指令であるか否か判定する第四判定処理と、
前記第四判定処理にて、前記第一指令の次の指令が前記主軸の移動を示す指令でないと判定した場合、
前記第一消去処理において、前記切削開始位置の記憶指示と、前記切削開始位置とを消去する
請求項4に記載の制御装置。
【請求項6】
工具を装着する移動可能な主軸と、
ワークを保持する移動可能な保持部と、
前記保持部に対する制動及び制動解除を行う制動部と、
複数の指令を順に読み出して、前記主軸、保持部及び制動部を制御する制御部を有する制御装置と
を備え、
前記制御部は、
読み出した前記指令は、切削開始位置から切削終了位置までの前記ワークの切削と、前記主軸の軸方向にて前記ワークに接近する前記主軸の移動とを示す指令である第一指令であるか否か判定する第一指令判定処理と、
読み出した前記指令は、前記第一指令の後の指令であり、前記軸方向にて前記ワークから離れる前記主軸の移動を示す指令である第二指令であるか否か判定する第二指令判定処理と、
前記第二指令の後の指令である第三指令が前記保持部の移動を示す指令であるか否か判定する第一判定処理と、
前記第一判定処理にて、前記第三指令が前記保持部の移動を示す指令であると判定した場合、前記第二指令の実行時に、前記主軸が前記切削開始位置又は前記切削開始位置よりも前記ワークから離れた位置である制動解除位置に到達した際、前記第二指令及び前記制動解除を並行的に実行する並行実行処理を実行する工作機械。
【請求項7】
工具を装着する移動可能な主軸と、ワークを保持する移動可能な保持部と、前記保持部に対する制動及び制動解除を行う制動部と、複数の指令を順に読み出して、前記主軸、保持部及び制動部を制御する制御部とを備える工作機械の制御方法において、
前記制御部は、
読み出した前記指令は、切削開始位置から切削終了位置までの前記ワークの切削と、前記主軸の軸方向にて前記ワークに接近する前記主軸の移動とを示す指令である第一指令であるか否か判定する第一指令判定処理と、
読み出した前記指令は、前記第一指令の後の指令であり、前記軸方向にて前記ワークから離れる前記主軸の移動を示す指令である第二指令であるか否か判定する第二指令判定処理と、
前記第二指令の後の指令である第三指令が前記保持部の移動を示す指令であるか否か判定する第一判定処理と、
前記第一判定処理にて、前記第三指令が前記保持部の移動を示す指令であると判定した場合、前記第二指令の実行時に、前記主軸が前記切削開始位置又は前記切削開始位置よりも前記ワークから離れた位置である制動解除位置に到達した際、前記第二指令及び前記制動解除を並行的に実行する並行実行処理を実行する
制御方法。
【請求項8】
工具を装着する移動可能な主軸と、ワークを保持する移動可能な保持部と、前記保持部に対する制動及び制動解除を行う制動部とを備え、複数の指令を順に読み出して、前記主軸、保持部及び制動部を制御する工作機械の制御装置にて実行可能なコンピュータプログラムであって、
前記制御装置に、
読み出した前記指令は、切削開始位置から切削終了位置までの前記ワークの切削と、前記主軸の軸方向にて前記ワークに接近する前記主軸の移動とを示す指令である第一指令であるか否か判定する第一指令判定処理と、
読み出した前記指令は、前記第一指令の後の指令であり、前記軸方向にて前記ワークから離れる前記主軸の移動を示す指令である第二指令であるか否か判定する第二指令判定処理と、
前記第二指令の後の指令である第三指令が前記保持部の移動を示す指令であるか否か判定する第一判定処理と、
前記第一判定処理にて、前記第三指令が前記保持部の移動を示す指令であると判定した場合、前記第二指令の実行時に、前記主軸が前記切削開始位置又は前記切削開始位置よりも前記ワークから離れた位置である制動解除位置に到達した際、前記第二指令及び前記制動解除を並行的に実行する並行実行処理と
を実行させるコンピュータプログラム。
発明の詳細な説明
【技術分野】
【0001】
本技術は、工具を装着する移動可能な主軸、ワークを保持する移動可能な保持部、及び保持部に対する制動解除を行う制動部を制御する制御装置、工作機械、制御方法及びコンピュータプログラムに関する。
続きを表示(約 1,500 文字)
【背景技術】
【0002】
工具を装着する移動可能な主軸、ワークを保持する移動可能な保持部、及び保持部に対する制動及び制動解除を行う制動部を制御する工作機械がある。例えばワークへの穴空け加工を行った後、主軸はワークから離れる方向に移動し、制御部は保持部の制動を解除し、主軸の移動と保持部の移動を並行的に実行する。主軸の座標が、ユーザが設定した閾値に至った場合、制御部は保持部の制動を解除する(特許文献1参照)。
【先行技術文献】
【特許文献】
【0003】
特開2023-151280号公報
【発明の概要】
【発明が解決しようとする課題】
【0004】
特許文献1に係る工作機械は、ユーザが閾値を設定する必要がある。
【0005】
本開示は斯かる事情に鑑みてなされたものであり、ユーザの設定無しに、主軸の移動と保持部の移動を並行的に実行することができる制御装置、工作機械、制御方法及びコンピュータプログラムを提供することを目的とする。
【課題を解決するための手段】
【0006】
本開示の一実施形態に係る制御装置は、工具を装着する移動可能な主軸と、ワークを保持する移動可能な保持部と、前記保持部に対する制動及び制動解除を行う制動部と、複数の指令を順に読み出して、前記主軸、保持部及び制動部を制御する工作機械の制御装置において、制御部を備え、前記制御部は、読み出した前記指令は、切削開始位置から切削終了位置までの前記ワークの切削と、前記主軸の軸方向にて前記ワークに接近する前記主軸の移動とを示す指令である第一指令であるか否か判定する第一指令判定処理と、読み出した前記指令は、前記第一指令の後の指令であり、前記軸方向にて前記ワークから離れる前記主軸の移動を示す指令である第二指令であるか否か判定する第二指令判定処理と、前記第二指令の後の指令である第三指令が前記保持部の移動を示す指令であるか否か判定する第一判定処理と、前記第一判定処理にて、前記第三指令が前記保持部の移動を示す指令であると判定した場合、前記第二指令の実行時に、前記主軸が前記切削開始位置又は前記切削開始位置よりも前記ワークから離れた位置である制動解除位置に到達した際、前記第二指令及び前記制動解除を並行的に実行する並行実行処理を実行する。
【0007】
本開示においては、制御装置は、主軸が、切削開始位置又は前記切削開始位置よりも前記ワークから離れた位置である制動解除位置に到達した際、第二指令及び制動解除を並行的に実行する。
【0008】
本開示の一実施形態に係る制御装置は、前記制御部は、前記第一判定処理にて、前記第三指令が前記保持部の移動を示す指令であると判定した場合、制動解除の記憶指示と、前記制動解除位置とを記憶する第一記憶処理と、前記並行実行処理において、前記第一記憶処理にて記憶した前記制動解除位置に基づいて、前記主軸が前記制動解除位置に到達したか否か判定する第二判定処理とを実行する。
【0009】
本開示においては、制御装置は、第三指令が保持部の移動を示す指令である場合、制動解除位置を記憶し、加工実行時に、記憶した制動解除位置に基づいて、主軸が制動解除位置に到達したか否か判定する。
【0010】
本開示の一実施形態に係る制御装置は、前記制御部は、前記第一指令を読み出した場合、前記切削開始位置の記憶指示と、前記切削開始位置とを記憶する第二記憶処理を実行する。
(【0011】以降は省略されています)
この特許をJ-PlatPat(特許庁公式サイト)で参照する
関連特許
ブラザー工業株式会社
ホルダ
25日前
ブラザー工業株式会社
塗工装置
25日前
ブラザー工業株式会社
スキャナ
21日前
ブラザー工業株式会社
スキャナ
21日前
ブラザー工業株式会社
塗布装置
25日前
ブラザー工業株式会社
塗工装置
25日前
ブラザー工業株式会社
印刷装置
18日前
ブラザー工業株式会社
電子機器
今日
ブラザー工業株式会社
印刷装置
6日前
ブラザー工業株式会社
印刷媒体
25日前
ブラザー工業株式会社
回収装置
25日前
ブラザー工業株式会社
印刷媒体
25日前
ブラザー工業株式会社
印刷媒体
25日前
ブラザー工業株式会社
塗工装置
25日前
ブラザー工業株式会社
画像形成装置
5日前
ブラザー工業株式会社
静電塗工装置
25日前
ブラザー工業株式会社
画像形成装置
25日前
ブラザー工業株式会社
画像形成装置
25日前
ブラザー工業株式会社
画像形成装置
25日前
ブラザー工業株式会社
静電塗工装置
25日前
ブラザー工業株式会社
画像形成装置
25日前
ブラザー工業株式会社
画像形成装置
25日前
ブラザー工業株式会社
分別回収装置
25日前
ブラザー工業株式会社
画像形成装置
25日前
ブラザー工業株式会社
画像形成装置
25日前
ブラザー工業株式会社
画像形成装置
21日前
ブラザー工業株式会社
画像形成装置
21日前
ブラザー工業株式会社
画像形成装置
21日前
ブラザー工業株式会社
画像形成装置
5日前
ブラザー工業株式会社
画像形成装置
5日前
ブラザー工業株式会社
画像形成装置
5日前
ブラザー工業株式会社
画像形成装置
25日前
ブラザー工業株式会社
レーザ加工装置
25日前
ブラザー工業株式会社
燃料電池システム
25日前
ブラザー工業株式会社
燃料電池システム
25日前
ブラザー工業株式会社
サポートプログラム
5日前
続きを見る
他の特許を見る