TOP
|
特許
|
意匠
|
商標
特許ウォッチ
Twitter
他の特許を見る
公開番号
2025153104
公報種別
公開特許公報(A)
公開日
2025-10-10
出願番号
2024055397
出願日
2024-03-29
発明の名称
燃料電池システム
出願人
ブラザー工業株式会社
代理人
個人
主分類
H01M
8/04 20160101AFI20251002BHJP(基本的電気素子)
要約
【課題】燃料電池を起動させるための外部電源の電力量が増加するのを抑制する燃料電池システムを提供する。
【解決手段】燃料電池システム1は、水素及び酸素を反応させて発電し、外部電源の電力低下又は喪失時に電気負荷に電力を供給可能な燃料電池8と、水素を貯蔵し、燃料電池に水素を供給可能な水素吸蔵合金タンク6と、水素吸蔵合金タンク6を温める加熱するヒータ7と、系統電源20により充電可能であり、負荷30に電力を供給可能な蓄電池5と、制御回路4とを備える。制御回路4は、蓄電池5からヒータ7に電力を供給する第1制御処理を実行する。燃料電池システム1では、蓄電池5によりヒータ7に電力を供給可能であるので、通常状態での待機中は、ヒータ7により水素吸蔵合金タンク6を温めず、停電後に蓄電池5から電力をヒータ7に供給して水素吸蔵合金タンク6を温めることができる。
【選択図】図1
特許請求の範囲
【請求項1】
水素及び酸素を反応させて発電し、外部電源の電力低下又は喪失時に電気負荷に電力を供給可能な燃料電池と、
前記水素を貯蔵し、前記燃料電池に前記水素を供給可能な水素貯蔵容器と、
前記水素貯蔵容器を温めるヒータと、
前記外部電源により充電可能であり、前記電気負荷に前記電力を供給可能な蓄電装置と、
制御部と
を備え、
前記制御部は、前記蓄電装置から前記ヒータに前記電力を供給する第1制御処理を実行することを特徴とする燃料電池システム。
続きを表示(約 780 文字)
【請求項2】
前記外部電源から前記ヒータに前記電力を供給可能であり、
前記制御部は、前記外部電源の電力低下又は喪失時に前記蓄電装置から前記ヒータに前記電力を供給する第2制御処理を実行することを特徴とする請求項1に記載の燃料電池システム。
【請求項3】
前記制御部は、前記外部電源から前記電力を受けている時、前記水素貯蔵容器の温度が前記水素の供給温度未満且つ環境温度以上である所定温度となるように前記ヒータを制御する第3制御処理を実行することを特徴とする請求項1又は2に記載の燃料電池システム。
【請求項4】
前記水素貯蔵容器は、吸熱反応によって前記水素を放出する水素吸蔵合金を含むことを特徴とする請求項1又は2に記載の燃料電池システム。
【請求項5】
前記制御部は、前記電気負荷の消費電力が閾値以下の場合、前記閾値超の場合より前記所定温度を低くする第4制御処理を行うことを特徴とする請求項3に記載の燃料電池システム。
【請求項6】
前記制御部は、前記電気負荷の消費電力に応じて前記所定温度を制御する第5制御処理を実行することを特徴とする請求項3に記載の燃料電池システム。
【請求項7】
前記ヒータと前記蓄電装置との少なくとも一方に給電可能な太陽光発電装置を有することを特徴とする請求項1又は2に記載の燃料電池システム。
【請求項8】
前記ヒータと前記蓄電装置との少なくとも一方に給電可能な風力発電装置を有することを特徴とする請求項1又は2に記載の燃料電池システム。
【請求項9】
前記制御部は、前記水素貯蔵容器内の前記水素の圧力に基づいて、前記水素貯蔵容器の温度を求めることを特徴とする請求項1又は2に記載の燃料電池システム。
発明の詳細な説明
【技術分野】
【0001】
本発明は、燃料電池システムに関する。
続きを表示(約 2,100 文字)
【背景技術】
【0002】
特許文献1には、燃料電池を用いた交流無停電電源システムが開示されている。当該交流無停電電源システムでは、商用交流電源の停電発生から規定時間を経過する間は、バッテリが電力を負荷に供給し、その後復電しない場合は、燃料電池が起動されて電力を負荷に供給する。燃料電池に供給される水素は水素吸蔵合金で貯蔵されるため、水素吸蔵合金のタンクの温度が一定未満になると、燃料電池に十分な水素を供給できない。交流無停電電源システムでは、予測ができない停電に備えて、水素吸蔵合金のタンクをヒータで保温して、タンクの温度を一定以上にしている。
【先行技術文献】
【特許文献】
【0003】
特開2015-177576号公報
【発明の概要】
【発明が解決しようとする課題】
【0004】
特許文献1に開示の交流無停電電源システムでは、冬季など環境温度が低い場合には水素吸蔵合金のタンクの温度を一定以上にするためにヒータを動作させる時間が長くなり、外部電源の電力量が増加する場合があるという問題があった。
【0005】
本発明の目的は、燃料電池を起動させるための外部電源の電力量が増加するのを抑制する燃料電池システムを提供することである。
【課題を解決するための手段】
【0006】
本発明の第一態様に係る燃料電池システムは、水素及び酸素を反応させて発電し、外部電源の電力低下又は喪失時に電気負荷に電力を供給可能な燃料電池と、前記水素を貯蔵し、前記燃料電池に前記水素を供給可能な水素貯蔵容器と、前記水素貯蔵容器を温めるヒータと、前記外部電源により充電可能であり、前記電気負荷に前記電力を供給可能な蓄電装置と、制御部とを備え、前記制御部は、前記蓄電装置から前記ヒータに前記電力を供給する第1制御処理を実行する。燃料電池システムは、蓄電装置によりヒータに電力を供給可能であるので、外部電源が喪失してから蓄電装置により水素貯蔵容器を温めることができる。
【図面の簡単な説明】
【0007】
燃料電池システム1の構成の概略を示すブロック図である。
制御回路4のブロック図である。
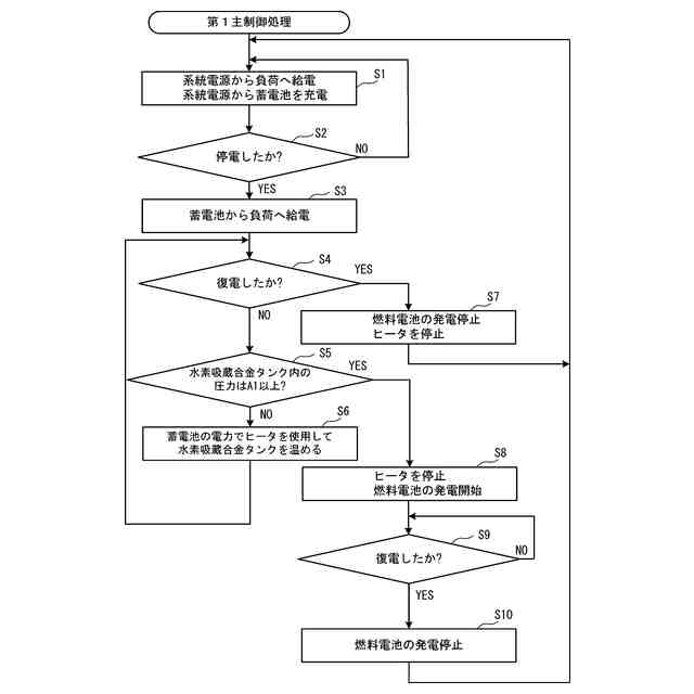
第1主制御処理を示すフローチャートである。
第2主制御処理を示すフローチャートである。
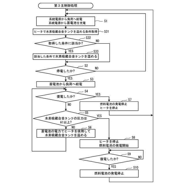
第3主制御処理を示すフローチャートである。
負荷条件テーブル51を示す図である。
第4実施例の燃料電池システム1のブロック図である。
第5実施例の燃料電池システム1のブロック図である。
【発明を実施するための形態】
【0008】
本発明の一実施形態を説明する。参照する図面は、本発明が採用しうる技術的特徴を説明するために用いられる。すなわち、図面に記載されている構成、制御等は、それのみに限定する趣旨ではなく、単なる説明例である。
【0009】
<燃料電池システム1の構成>
図1及び図2を参照して、本実施形態の燃料電池システム1の構成について説明する。図1は、燃料電池システム1の主要な構成を示し、回路の切り替え装置、インターフェース回路、及び駆動回路等は周知であるので省略されている。燃料電池システム1は、系統電源20の停電時に負荷30に電力を供給する。系統電源20の一例は商用電源であり、例えば交流100Vである。燃料電池システム1は、系統電源20が停電していない通常状態において給電線21を経由して系統電源20の電力を負荷30に供給する。以下の説明における「通常状態」とは、系統電源20から電力が供給されている状態である。また、以下の説明における「停電時」とは、系統電源20から電力が供給されず、系統電源20の電力が喪失している状態である。以下の実施形態では、「停電時」を一例に燃料電池システム1の動作を説明するが、「停電時」に限られず、系統電源20の電力が低下した場合にも、「停電時」と同様に、燃料電池システム1から電力を負荷30に供給できる。負荷30の一例は、電力供給を受けて動作する任意の電子機器又は電気機器である。
【0010】
燃料電池システム1は、水素吸蔵合金タンク6及び水素吸蔵合金タンク6から供給される水素により発電する燃料電池8を備える。水素吸蔵合金タンク6は、吸熱反応によって水素を放出する水素吸蔵合金を内部に収納する。従って、水素吸蔵合金により気体と比較して極めて高い水素充填密度を実現することができる。水素吸蔵合金から水素を放出し、燃料電池8に水素を供給可能な供給温度をX1とする。水素吸蔵合金タンク6には、水素吸蔵合金タンク6内の水素の圧力を検出する圧力センサ2及び水素吸蔵合金タンク6を温めるヒータ7が設けられている。また、燃料電池システム1は、制御回路4、温度センサ3、圧力センサ2、電力検出器12、蓄電池5、ACDCコンバータ10、DCACインバータ11、及びDCDCコンバータ9を備える。
(【0011】以降は省略されています)
この特許をJ-PlatPat(特許庁公式サイト)で参照する
関連特許
東ソー株式会社
絶縁電線
14日前
APB株式会社
蓄電セル
12日前
個人
フレキシブル電気化学素子
26日前
日新イオン機器株式会社
イオン源
22日前
株式会社東芝
端子台
6日前
株式会社ユーシン
操作装置
26日前
ローム株式会社
半導体装置
13日前
マクセル株式会社
電源装置
6日前
ローム株式会社
半導体装置
28日前
株式会社GSユアサ
蓄電設備
26日前
太陽誘電株式会社
コイル部品
26日前
株式会社GSユアサ
蓄電装置
7日前
オムロン株式会社
電磁継電器
27日前
株式会社GSユアサ
蓄電装置
7日前
株式会社GSユアサ
蓄電設備
26日前
株式会社ホロン
冷陰極電子源
20日前
トヨタ自動車株式会社
冷却構造
14日前
トヨタ自動車株式会社
バッテリ
12日前
サクサ株式会社
電池の固定構造
26日前
トヨタ自動車株式会社
バッテリ
27日前
日新イオン機器株式会社
基板処理装置
9日前
北道電設株式会社
配電具カバー
12日前
日本特殊陶業株式会社
保持装置
15日前
ノリタケ株式会社
熱伝導シート
26日前
トヨタ自動車株式会社
蓄電装置
7日前
トヨタ自動車株式会社
蓄電装置
26日前
日東電工株式会社
積層体
27日前
日本製紙株式会社
導電性フィルム
27日前
日本無線株式会社
レーダアンテナ
今日
トヨタ自動車株式会社
密閉型電池
8日前
株式会社デンソー
電子装置
9日前
株式会社トクヤマ
シリコンエッチング液
20日前
ローム株式会社
半導体装置
28日前
ローム株式会社
半導体装置
27日前
株式会社トクヤマ
シリコンエッチング液
20日前
住友電装株式会社
コネクタ
14日前
続きを見る
他の特許を見る