TOP
|
特許
|
意匠
|
商標
特許ウォッチ
Twitter
他の特許を見る
10個以上の画像は省略されています。
公開番号
2025153404
公報種別
公開特許公報(A)
公開日
2025-10-10
出願番号
2024055879
出願日
2024-03-29
発明の名称
回収装置
出願人
ブラザー工業株式会社
代理人
個人
,
個人
主分類
B41J
2/175 20060101AFI20251002BHJP(印刷;線画機;タイプライター;スタンプ)
要約
【課題】消耗品容器のリユースを容易にする回収装置を提供する。
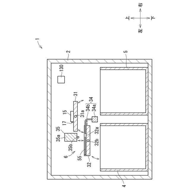
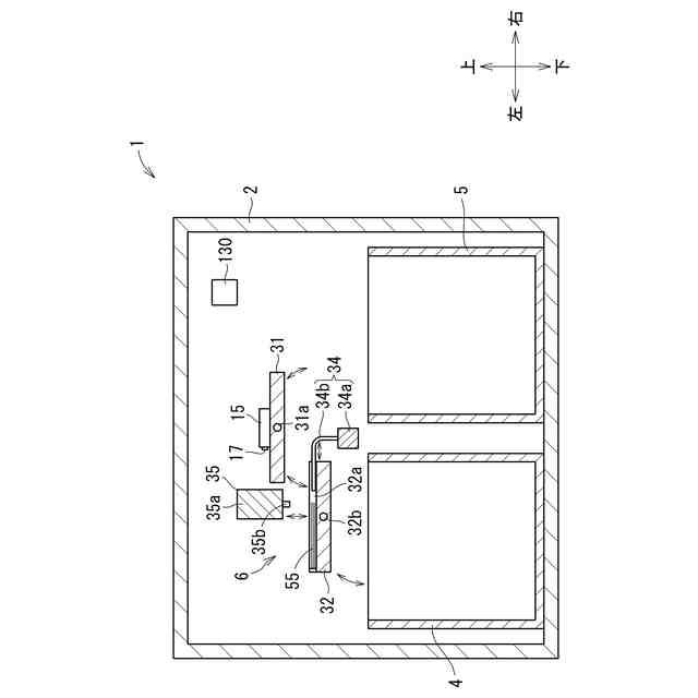
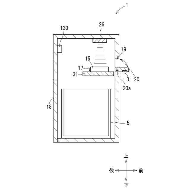
【解決手段】回収装置1は、回収口19を有する回収箱2と、消耗品容器15が備える記憶素子17に記憶された識別情報を読み取る読取部3と、回収口19を通して回収箱2内に入れられた消耗品容器15を個別に包装する包装処理を実行可能な包装手段6と、制御部130と、を備える。制御部130は、上記識別情報に基づいて第1の判定を行ったことを条件に、上記包装処理を包装手段6に実行させる。
【選択図】図4
特許請求の範囲
【請求項1】
回収口を有する回収箱と、
消耗品容器が備える記憶素子に記憶された識別情報を読み取る読取部と、
上記回収口を通して上記回収箱内に入れられた消耗品容器を個別に包装する包装処理を実行可能な包装手段と、
制御部と、を備えており、
上記制御部は、上記識別情報に基づいて第1の判定を行ったことを条件に、上記包装処理を上記包装手段に実行させる回収装置。
続きを表示(約 1,700 文字)
【請求項2】
上記識別情報は、上記消耗品容器が消耗品容器としてリユースされたリユース回数を含んでおり、
上記制御部は、上記第1の判定を行った後、上記リユース回数が所定回数未満であると判定したことを条件に、上記包装処理を上記包装手段に実行させる請求項1に記載の回収装置。
【請求項3】
上記制御部は、上記第1の判定を行った後、上記リユース回数が所定回数未満でないと判定したことを条件に、上記包装処理を上記包装手段に実行させることなく、上記消耗品容器を上記回収箱の底へ向けて落下させる請求項2に記載の回収装置。
【請求項4】
上記回収口を開閉可能な回収扉と、
上記回収扉を開閉する開閉機構と、を備えており、
上記識別情報は、特定のメーカを示す特定メーカ情報または特定のメーカ以外のメーカを示す非特定メーカ情報を含んでおり、
上記読取部は、上記特定メーカ情報を含む上記識別情報を読み取ると、上記識別情報に対応する第1信号を上記制御部に出力し、上記非特定メーカ情報を含む上記識別情報を読み取ると、上記第1信号とは異なる第2信号を上記制御部に出力し、
上記制御部は、
上記読取部から上記特定メーカ情報を含む上記識別情報に対応する第1信号を受信したことを条件に、上記回収扉を開放させる開放処理を上記開閉機構に実行させ、
上記読取部から上記第2信号を受信したことを条件に、上記回収扉を閉塞した状態に維持させる閉塞処理を上記開閉機構に実行させる請求項3に記載の回収装置。
【請求項5】
上記包装手段は、上記消耗品容器を包み込んだフィルム同士を溶着するフィルム溶着装置を有する請求項1から4のいずれかに記載の回収装置。
【請求項6】
上記包装手段は、
上記回収口に入れられた上記消耗品容器が載置される第1載置板と、
上記フィルムによって構成された包装袋を支持する第1支持部と、
上記第1載置板を水平方向に対して傾斜可能な第1傾斜機構と、
上記第1支持部に支持された上記包装袋を水平方向に開口させる開口装置と、を有しており、
上記開口装置が上記包装袋を開口させた後、上記第1傾斜機構が上記第1載置板を水平方向に傾斜させることにより、上記消耗品容器を上記第1載置板から上記包装袋の開口を通して上記包装袋内へ滑り落とした後、上記フィルム溶着装置が上記包装袋のフィルム同士を溶着することによって上記包装袋の開口を封止する請求項5に記載の回収装置。
【請求項7】
上記包装手段は、上記消耗品容器を包み込んだ上記包装袋内の空気を吸引する真空装置を有する請求項6に記載の回収装置。
【請求項8】
上記包装袋は、加熱により収縮するシュリンクフィルムによって構成されており、
上記包装手段は、上記消耗品容器を包み込んだ上記包装袋に向けて熱風を送風する送風装置をさらに備える請求項6に記載の回収装置。
【請求項9】
上記回収箱の内部空間に位置しており、上記包装手段によって個別に包装された上記消耗品容器が収納される第1収納箱と、
上記回収箱の内部空間に位置する第2収納箱と、を備えており、
上記制御部は、上記識別情報に基づいて上記第1の判定とは異なる第2の判定を行ったことを条件に、上記第1傾斜機構に上記第1載置板を水平方向に対して傾斜させることにより、上記消耗品容器を上記第1載置板から上記第2収納箱内へ滑り落とす請求項6に記載の回収装置。
【請求項10】
上記包装手段は、
上記回収口よりも下方に位置しており、上記フィルムによって構成された包装袋を上方に開口させた状態で支持する第2支持部を有しており、
上記回収口に入れられた上記消耗品容器が上記包装袋の開口を通して上記包装袋内へ落下した後、上記フィルム溶着装置が上記包装袋のフィルム同士を溶着することによって上記包装袋の開口を封止する請求項5に記載の回収装置。
(【請求項11】以降は省略されています)
発明の詳細な説明
【技術分野】
【0001】
本開示は、液体が消費された消耗品容器を分別回収する回収装置に関する。
続きを表示(約 1,400 文字)
【背景技術】
【0002】
特許文献1には、本体ケースの前面上側に導入口が形成された液体収容体回収装置が開示されている。液体収容体回収装置では、ユーザは、使用済みのインクカートリッジを導入口に投入する。導入口に投入された使用済みのインクカートリッジは、本体ケース内に収容された収納部に収納される。
【先行技術文献】
【特許文献】
【0003】
特開2005-254604号公報
【発明の概要】
【発明が解決しようとする課題】
【0004】
液体収容体回収装置では、収納部に収納された使用済みのインクカートリッジは、インクカートリッジとしてリユース可能なものも、例えば、損傷によってインクカートリッジとしてリユース不可なものも、収納部に一緒に収納される。このため、例えば、収納部に収納されたインクカートリッジからインクが漏れると、インクカートリッジとしてリユース可能なインクカートリッジの表面にインクが付着することがある。また、トナーカートリッジが収納部に混在する場合、トナーカートリッジから漏れたトナーがリユース可能なインクカートリッジの表面に付着することがある。この場合、リサイクル業者は、収納部に収納されたインクカートリッジをインクカートリッジとしてリユースするときに、インクカートリッジの表面からインクおよびトナーを拭き取り、インクカートリッジの表面を洗浄する必要があるので、インクカートリッジのリユースが困難である。
【0005】
本発明は、前述された事情に鑑みてなされたものであり、その目的は、消耗品容器のリユースを容易にする回収装置に関する。
【課題を解決するための手段】
【0006】
(1)本開示は、回収装置に関する。回収装置は、回収口を有する回収箱と、消耗品容器が備える記憶素子に記憶された識別情報を読み取る読取部と、上記回収口を通して上記回収箱内に入れられた消耗品容器を個別に包装する包装処理を実行可能な包装手段と、制御部と、を備える。上記制御部は、上記識別情報に基づいて第1の判定を行ったことを条件に、上記包装処理を上記包装手段に実行させる。
【0007】
例えば、消耗品容器としてリユース可能な消耗品容器が個別に包装されるので、消耗品容器から液体が漏れても、他の消耗品容器の表面に液体が付着することが抑制される。このため、リサイクル業者は、回収箱に回収された消耗品容器の表面から液体を拭き取ったり、消耗品容器の表面を洗浄したりする作業が軽減されるので、消耗品容器のリユースが容易である。
【0008】
(2)上記識別情報は、上記消耗品容器が消耗品容器としてリユースされたリユース回数を含んでもよい。上記制御部は、上記第1の判定を行った後、上記リユース回数が所定回数未満であると判定したことを条件に、上記包装処理を上記包装手段に実行させてもよい。
【0009】
例えば、消耗品容器としてリユース可能な消耗品容器のみがより確実に個別に包装される。
【0010】
(3)上記制御部は、上記第1の判定を行った後、上記リユース回数が所定回数未満でないと判定したことを条件に、上記包装処理を上記包装手段に実行させることなく、上記消耗品容器を上記回収箱の底へ向けて落下させてもよい。
(【0011】以降は省略されています)
この特許をJ-PlatPat(特許庁公式サイト)で参照する
関連特許
ブラザー工業株式会社
電子機器
1か月前
ブラザー工業株式会社
印刷装置
10日前
ブラザー工業株式会社
印刷装置
1か月前
ブラザー工業株式会社
水塗布装置
26日前
ブラザー工業株式会社
水塗布装置
26日前
ブラザー工業株式会社
水塗布装置
26日前
ブラザー工業株式会社
水塗布装置
26日前
ブラザー工業株式会社
液体吐出装置
19日前
ブラザー工業株式会社
画像形成装置
1か月前
ブラザー工業株式会社
画像形成装置
1か月前
ブラザー工業株式会社
液体吐出装置
12日前
ブラザー工業株式会社
画像形成装置
1か月前
ブラザー工業株式会社
画像形成装置
5日前
ブラザー工業株式会社
画像形成装置
1か月前
ブラザー工業株式会社
液体吐出装置
3日前
ブラザー工業株式会社
液体吐出装置
3日前
ブラザー工業株式会社
液体吐出装置
10日前
ブラザー工業株式会社
画像形成装置
1か月前
ブラザー工業株式会社
液体吐出ヘッド
10日前
ブラザー工業株式会社
液滴吐出ヘッド
12日前
ブラザー工業株式会社
シート給送装置
1か月前
ブラザー工業株式会社
サポートプログラム
1か月前
ブラザー工業株式会社
サポートプログラム
1か月前
ブラザー工業株式会社
印刷カセット収納体
4日前
ブラザー工業株式会社
情報処理プログラム
10日前
ブラザー工業株式会社
定着装置及び画像形成装置
1か月前
ブラザー工業株式会社
タンクおよび液体吐出装置
10日前
ブラザー工業株式会社
工具搬送装置及び工作機械
3日前
ブラザー工業株式会社
プリンタおよびプログラム
1か月前
ブラザー工業株式会社
プリンタおよびプログラム
1か月前
ブラザー工業株式会社
プログラムおよび情報処理装置
10日前
ブラザー工業株式会社
ラベルプリンタおよびプログラム
3日前
ブラザー工業株式会社
プログラム、および、データ処理装置
10日前
ブラザー工業株式会社
画像処理装置及び認証処理プログラム
5日前
ブラザー工業株式会社
サポートプログラムおよび印刷システム
19日前
ブラザー工業株式会社
サポートプログラムおよび印刷システム
10日前
続きを見る
他の特許を見る