TOP
|
特許
|
意匠
|
商標
特許ウォッチ
Twitter
他の特許を見る
10個以上の画像は省略されています。
公開番号
2025153340
公報種別
公開特許公報(A)
公開日
2025-10-10
出願番号
2024055782
出願日
2024-03-29
発明の名称
画像形成装置
出願人
ブラザー工業株式会社
代理人
個人
主分類
G03G
21/18 20060101AFI20251002BHJP(写真;映画;光波以外の波を使用する類似技術;電子写真;ホログラフイ)
要約
【課題】トナーカートリッジを離間位置と接触位置との間で移動させる新たな構造を提供する。
【解決手段】ドロワ2は、スイッチレバー81と、離間バネ83とを有する。スイッチレバー81は、トナーカートリッジ4を離間位置に保持する第1レバー位置と、トナーカートリッジ4を接触位置に保持する第2レバー位置と、の間で、ドロワフレーム50に対して移動可能である。離間バネ83は、スイッチレバー81を、第1レバー位置へ向けて付勢する。したがって、トナーカートリッジ4は、ドロワ2に装着された状態において離間位置に位置する。スイッチレバー81を、離間バネ83の付勢力に反して第1レバー位置から第2レバー位置へ移動させると、トナーカートリッジ4は、離間位置から接触位置へ移動する
【選択図】図15
特許請求の範囲
【請求項1】
画像形成装置であって、
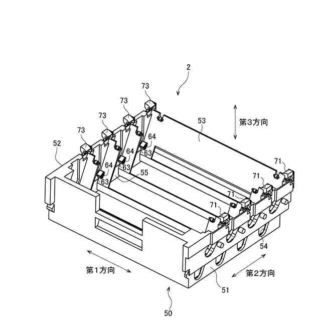
本体フレームと、
前記本体フレームに着脱可能なドロワと、
第1方向に延びるドラム軸について回転可能な感光体ドラムと、
前記ドロワに着脱可能なトナーカートリッジであって、
トナーを収容する筐体であって、前記第1方向に延びる離間ボスを有する筐体と、
前記第1方向に延びる現像軸について回転可能な現像ローラと、
を有するトナーカートリッジと、
を備え、
前記トナーカートリッジは、前記現像ローラが前記感光体ドラムから離れた離間位置と、前記現像ローラが前記感光体ドラムに接触する接触位置との間で移動可能であり、
前記ドロワは、
ドロワフレームと、
前記感光体ドラムに対する前記トナーカートリッジの位置を切り替えるスイッチレバーであって、
前記トナーカートリッジを前記離間位置に保持する第1レバー位置と、
前記トナーカートリッジを前記接触位置に保持する第2レバー位置と、
の間で、前記ドロワフレームに対して移動可能なスイッチレバーと、
前記スイッチレバーを、前記第1レバー位置へ向けて付勢する離間バネと、
を有し、
前記トナーカートリッジは、前記ドロワに装着された状態において前記離間位置に位置し、前記スイッチレバーが前記離間バネの付勢力に反して前記第1レバー位置から前記第2レバー位置へ移動することにより、前記離間位置から前記接触位置へ移動することを特徴とする、画像形成装置。
続きを表示(約 1,700 文字)
【請求項2】
請求項1に記載の画像形成装置であって、
前記スイッチレバーは、前記第1レバー位置と前記第2レバー位置との間で、前記第1方向に延びるレバー軸について回動可能であることを特徴とする、画像形成装置。
【請求項3】
請求項2に記載の画像形成装置であって、
前記ドロワは、
前記ドロワフレームに対して、前記第1方向に交差する第2方向において、第1カム位置と第2カム位置との間で移動可能な直動カム
をさらに有し、
前記直動カムが前記第1カム位置に位置する場合、前記スイッチレバーは前記第1レバー位置に位置し、
前記直動カムが前記第2カム位置に位置する場合、前記スイッチレバーは前記第2レバー位置に位置し、
前記離間バネは、前記直動カムを、前記第2カム位置から前記第1カム位置へ向けて付勢することを特徴とする、画像形成装置。
【請求項4】
請求項3に記載の画像形成装置であって、
前記ドロワは、
前記直動カムと前記スイッチレバーとの間に位置する押圧バネであって、前記直動カムが前記第2カム位置に位置する状態において、前記スイッチレバーを前記第1レバー位置から前記第2レバー位置へ向けて押圧する押圧バネ
をさらに有することを特徴とする、画像形成装置。
【請求項5】
請求項4に記載の画像形成装置であって、
前記現像ローラは、
円筒状の外周面を有する現像ローラ本体と、
前記現像ローラ本体よりも径が小さい円筒状の外周面を有するコロであって、前記現像ローラ本体よりも硬いコロと、
を有することを特徴とする、画像形成装置。
【請求項6】
請求項4に記載の画像形成装置であって、
前記ドロワに着脱可能なドラムカートリッジであって、前記感光体ドラムを有するドラムカートリッジ
を備えることを特徴とする、画像形成装置。
【請求項7】
請求項1に記載の画像形成装置であって、
前記トナーカートリッジは、
前記現像ローラを支持する筐体であって、前記第1方向に延びる離間ボスを有する筐体
をさらに有し、
前記スイッチレバーが、前記第1レバー位置から前記第2レバー位置へ移動すると、前記離間ボスが前記スイッチレバーに押されることにより、前記トナーカートリッジが、前記離間位置から前記接触位置へ移動することを特徴とする、画像形成装置。
【請求項8】
請求項6に記載の画像形成装置であって、
前記ドラムカートリッジは、
前記感光体ドラムへ駆動を入力するためのドラムカップリング
をさらに有し、
前記トナーカートリッジは、
前記現像ローラへ駆動を入力するための現像カップリング
をさらに有し、
前記直動カムは、前記ドラムカップリングおよび前記現像カップリングと、前記第1方向に重ならないことを特徴とする、画像形成装置。
【請求項9】
請求項8に記載の画像形成装置であって、
前記ドラムカートリッジは、前記ドロワに対して、前記第1方向および前記第2方向に交差する第3方向に装着可能であり、
前記トナーカートリッジは、前記ドロワに前記ドラムカートリッジが装着された状態において、前記ドロワに対して前記第3方向に装着可能であり、
前記直動カムは、前記第3方向において、前記ドラムカップリングと前記現像カップリングとの間に位置することを特徴とする、画像形成装置。
【請求項10】
請求項9に記載の画像形成装置であって、
前記感光体ドラムは、前記トナーカートリッジが前記接触位置に位置する状態において、前記現像ローラと接触する外周面を有し、
前記第1方向において、前記ドラムカップリングは、前記直動カムと前記感光体ドラムの前記外周面との間に位置することを特徴とする、画像形成装置。
(【請求項11】以降は省略されています)
発明の詳細な説明
【技術分野】
【0001】
本開示は、画像形成装置に関する。
続きを表示(約 1,700 文字)
【背景技術】
【0002】
従来、レーザプリンタやLEDプリンタ等の電子写真方式の画像形成装置が知られている。従来の画像形成装置については、例えば、特許文献1に記載されている。
【先行技術文献】
【特許文献】
【0003】
特開2019-179132号公報
【発明の概要】
【発明が解決しようとする課題】
【0004】
画像形成装置は、感光体ドラムを有するドラムカートリッジと、感光体ドラムへトナーを供給する現像ローラを有するトナーカートリッジとを備える。ドラムカートリッジおよびトナーカートリッジは、ドロワに装着される。そして、ドラムカートリッジおよびトナーカートリッジが装着されたドロワが、画像形成装置の本体フレームに装着される。
【0005】
この種の画像形成装置は、トナーカートリッジを、現像ローラが感光体ドラムから離れた離間位置と、現像ローラが感光体ドラムに接触する接触位置との間で、移動させる構造を有する。ただし、トナーカートリッジを離間位置と接触位置との間で移動させる構造には、さらなる改良の余地がある。
【0006】
本開示の目的は、トナーカートリッジを離間位置と接触位置との間で移動させる新たな構造を提供することである。
【課題を解決するための手段】
【0007】
第1開示は、画像形成装置であって、本体フレームと、前記本体フレームに着脱可能なドロワと、第1方向に延びるドラム軸について回転可能な感光体ドラムと、前記ドロワに着脱可能なトナーカートリッジであって、トナーを収容する筐体であって、前記第1方向に延びる離間ボスを有する筐体と、前記第1方向に延びる現像軸について回転可能な現像ローラと、を有するトナーカートリッジと、を備え、前記トナーカートリッジは、前記現像ローラが前記感光体ドラムから離れた離間位置と、前記現像ローラが前記感光体ドラムに接触する接触位置との間で移動可能であり、前記ドロワは、ドロワフレームと、前記感光体ドラムに対する前記トナーカートリッジの位置を切り替えるスイッチレバーであって、前記トナーカートリッジを前記離間位置に保持する第1レバー位置と、前記トナーカートリッジを前記接触位置に保持する第2レバー位置と、の間で、前記ドロワフレームに対して移動可能なスイッチレバーと、前記スイッチレバーを、前記第1レバー位置へ向けて付勢する離間バネと、を有し、前記トナーカートリッジは、前記ドロワに装着された状態において前記離間位置に位置し、前記スイッチレバーが前記離間バネの付勢力に反して前記第1レバー位置から前記第2レバー位置へ移動することにより、前記離間位置から前記接触位置へ移動することを特徴とする。
【0008】
第2開示は、第1開示の画像形成装置であって、前記スイッチレバーは、前記第1レバー位置と前記第2レバー位置との間で、前記第1方向に延びるレバー軸について回動可能であることを特徴とする。
【0009】
第3開示は、第2開示の画像形成装置であって、前記ドロワは、前記ドロワフレームに対して、前記第1方向に交差する第2方向において、第1カム位置と第2カム位置との間で移動可能な直動カムをさらに有し、前記直動カムが前記第1カム位置に位置する場合、前記スイッチレバーは前記第1レバー位置に位置し、前記直動カムが前記第2カム位置に位置する場合、前記スイッチレバーは前記第2レバー位置に位置し、前記離間バネは、前記直動カムを、前記第2カム位置から前記第1カム位置へ向けて付勢することを特徴とする。
【0010】
第4開示は、第3開示の画像形成装置であって、前記ドロワは、前記直動カムと前記スイッチレバーとの間に位置する押圧バネであって、前記直動カムが前記第2カム位置に位置する状態において、前記スイッチレバーを前記第1レバー位置から前記第2レバー位置へ向けて押圧する押圧バネをさらに有することを特徴とする。
(【0011】以降は省略されています)
この特許をJ-PlatPat(特許庁公式サイト)で参照する
関連特許
ブラザー工業株式会社
印刷装置
1日前
ブラザー工業株式会社
印刷装置
1か月前
ブラザー工業株式会社
スキャナ
1か月前
ブラザー工業株式会社
印刷装置
1か月前
ブラザー工業株式会社
スキャナ
1か月前
ブラザー工業株式会社
電子機器
25日前
ブラザー工業株式会社
水塗布装置
17日前
ブラザー工業株式会社
水塗布装置
17日前
ブラザー工業株式会社
水塗布装置
17日前
ブラザー工業株式会社
水塗布装置
17日前
ブラザー工業株式会社
画像形成装置
1か月前
ブラザー工業株式会社
画像形成装置
1か月前
ブラザー工業株式会社
液体吐出装置
3日前
ブラザー工業株式会社
液体吐出装置
10日前
ブラザー工業株式会社
画像形成装置
22日前
ブラザー工業株式会社
画像形成装置
1か月前
ブラザー工業株式会社
画像形成装置
1か月前
ブラザー工業株式会社
画像形成装置
1か月前
ブラザー工業株式会社
液体吐出装置
1日前
ブラザー工業株式会社
液体吐出ヘッド
1日前
ブラザー工業株式会社
液滴吐出ヘッド
3日前
ブラザー工業株式会社
シート給送装置
24日前
ブラザー工業株式会社
情報処理プログラム
1日前
ブラザー工業株式会社
サポートプログラム
1か月前
ブラザー工業株式会社
サポートプログラム
1か月前
ブラザー工業株式会社
プリンタおよびプログラム
1か月前
ブラザー工業株式会社
タンクおよび液体吐出装置
1日前
ブラザー工業株式会社
プリンタおよびプログラム
1か月前
ブラザー工業株式会社
定着装置及び画像形成装置
22日前
ブラザー工業株式会社
プログラムおよび情報処理装置
1日前
ブラザー工業株式会社
インクジェット記録方法及び印刷物
1か月前
ブラザー工業株式会社
プログラム、および、データ処理装置
1日前
ブラザー工業株式会社
画像形成方法及びそれに用いられる液体
1か月前
ブラザー工業株式会社
サポートプログラムおよび印刷システム
10日前
ブラザー工業株式会社
サポートプログラムおよび印刷システム
1日前
ブラザー工業株式会社
印刷管理システム、サーバ、印刷管理方法
17日前
続きを見る
他の特許を見る