TOP
|
特許
|
意匠
|
商標
特許ウォッチ
Twitter
他の特許を見る
公開番号
2025153107
公報種別
公開特許公報(A)
公開日
2025-10-10
出願番号
2024055401
出願日
2024-03-29
発明の名称
燃料電池システム
出願人
ブラザー工業株式会社
代理人
個人
主分類
H01M
8/04 20160101AFI20251002BHJP(基本的電気素子)
要約
【課題】外部電源がない場合に、環境温度が低くても燃料電池を起動できるようにする燃料電池システムを提供する。
【解決手段】燃料電池システム1は、水素及び酸素を反応させて発電し、負荷30に電力を供給可能な燃料電池8と、水素を貯蔵し、燃料電池8に水素を供給可能な水素吸蔵合金タンク6と、水素吸蔵合金タンク6を温めるヒータ7と、ヒータ7に電力を供給可能な蓄電池5と、制御回路4とを備えている。制御回路4は、水素吸蔵合金タンク6が燃料電池8に水素を供給できる所定条件を満たさない場合、蓄電池5からヒータ7に電力を供給する第1制御処理を実行する。従って、外部電源がない場合でもヒータ7により水素吸蔵合金タンク6を温めて燃料電池8に水素を供給し、燃料電池8を起動可能とすることができる。
【選択図】図1
特許請求の範囲
【請求項1】
水素及び酸素を反応させて発電し、電気負荷に電力を供給可能な燃料電池と、
前記水素を貯蔵し、前記燃料電池に前記水素を供給可能な水素貯蔵容器と、
前記水素貯蔵容器を温めるヒータと、
前記ヒータに前記電力を供給可能な蓄電装置と、
制御部と
を備え、
前記制御部は、前記水素貯蔵容器が前記燃料電池に前記水素を供給できる所定条件を満たさない場合、前記蓄電装置から前記ヒータに前記電力を供給する第1制御処理を実行することを特徴とする燃料電池システム。
続きを表示(約 1,100 文字)
【請求項2】
前記制御部は、前記蓄電装置から前記ヒータに前記電力を供給している時に、前記蓄電装置から前記電気負荷にも前記電力を供給する第2制御処理を実行することを特徴とする請求項1に記載の燃料電池システム。
【請求項3】
前記制御部は、前記所定条件を満たした場合に、前記燃料電池から前記電気負荷および前記蓄電装置に前記電力を供給する第3制御処理を実行することを特徴とする請求項1又は2に記載の燃料電池システム。
【請求項4】
前記制御部は、前記燃料電池システムの起動時に前記所定条件を満たさない場合、且つ前記蓄電装置の残量が前記所定条件を満たすまで前記ヒータに前記電力を供給するのに必要な残量に満たない場合、前記蓄電装置から前記ヒータに前記電力を供給せずに、前記蓄電装置から前記電気負荷に前記電力を供給する第4制御処理を実行することを特徴とする請求項1又は2に記載の燃料電池システム。
【請求項5】
前記制御部は、前記燃料電池の発電中、前記燃料電池から前記電気負荷への出力が前記燃料電池の定格容量を超える場合には、前記燃料電池から前記電気負荷に前記電力を供給し、且つ前記蓄電装置から前記電気負荷に前記電力を供給する第5制御処理を実行することを特徴とする請求項1又は2に記載の燃料電池システム。
【請求項6】
前記制御部は、前記電気負荷の消費電力が前記燃料電池の定格容量と前記蓄電装置の容量の合計を超える場合には、前記蓄電装置および前記燃料電池から前記電気負荷への前記電力の供給を停止する第6制御処理を実行することを特徴とする請求項1又は2に記載の燃料電池システム。
【請求項7】
前記制御部は、前記第6制御処理において、警告を行う制御を実行することを特徴とする請求項6に記載の燃料電池システム。
【請求項8】
前記蓄電装置には外部電源から前記電力を供給可能であることを特徴とする請求項1又は2に記載の燃料電池システム。
【請求項9】
前記水素貯蔵容器は、吸熱反応によって前記水素を放出する水素吸蔵合金を含むことを特徴とする請求項1又は2に記載の燃料電池システム。
【請求項10】
前記制御部は、前記所定条件を満たすか否かの判断について、前記水素貯蔵容器の温度が前記燃料電池に前記水素を供給できる供給温度未満か、または、前記水素貯蔵容器の前記水素の圧力が前記燃料電池に前記水素を供給できる供給圧力未満かによって判断することを特徴とする請求項1又は2に記載の燃料電池システム。
(【請求項11】以降は省略されています)
発明の詳細な説明
【技術分野】
【0001】
本発明は、燃料電池システムに関する。
続きを表示(約 2,000 文字)
【背景技術】
【0002】
特許文献1には、燃料電池を用いた交流無停電電源システムが開示されている。当該交流無停電電源システムでは、商用交流電源の停電発生から規定時間を経過する間は、バッテリが電力を負荷に供給し、その後復電しない場合は、燃料電池が起動されて電力を負荷に供給する。燃料電池に供給される水素は水素吸蔵合金で貯蔵される。
【先行技術文献】
【特許文献】
【0003】
特開2015-177576号公報
【発明の概要】
【発明が解決しようとする課題】
【0004】
特許文献1に開示の交流無停電電源システムでは、水素吸蔵合金のタンクを温めるヒータには商用交流電源からの電力が供給される。燃料電池を起動させるためには水素吸蔵合金のタンクの温度を規定値以上にする必要があり、冬季など環境温度が低い場合には水素吸蔵合金のタンクの温度を規定値以上にするためにヒータを動作させる必要がある。しかし、外部電源のない場合にはヒータを動作させられず、燃料電池を起動させることができないという問題があった。
【0005】
本発明の目的は、外部電源がない場合に、環境温度が低くても燃料電池を起動できるようにする燃料電池システムを提供することである。
【課題を解決するための手段】
【0006】
本発明の一態様に係る燃料電池システムは、水素及び酸素を反応させて発電し、電気負荷に電力を供給可能な燃料電池と、前記水素を貯蔵し、前記燃料電池に前記水素を供給可能な水素貯蔵容器と、前記水素貯蔵容器を温めるヒータと、前記ヒータに前記電力を供給可能な蓄電装置と、制御部とを備え、前記制御部は、前記水素貯蔵容器が前記燃料電池に前記水素を供給できる所定条件を満たさない場合、前記蓄電装置から前記ヒータに前記電力を供給する第1制御処理を実行する。燃料電池システムは、蓄電装置により水素貯蔵容器を温めるヒータに電力を供給可能であるので、外部電源がない場合でもヒータにより水素貯蔵容器を温めて燃料電池に水素を供給し、燃料電池を起動可能とすることができる。
【図面の簡単な説明】
【0007】
第1実施形態の燃料電池システム1の構成の概略を示すブロック図である。
制御回路4のブロック図である。
電力供給処理を示すフローチャートである。
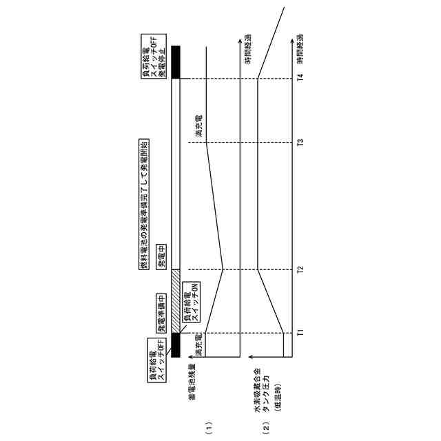
蓄電池5の残量と水素吸蔵合金タンク6内の水素の圧力の状態推移を示すグラフである。
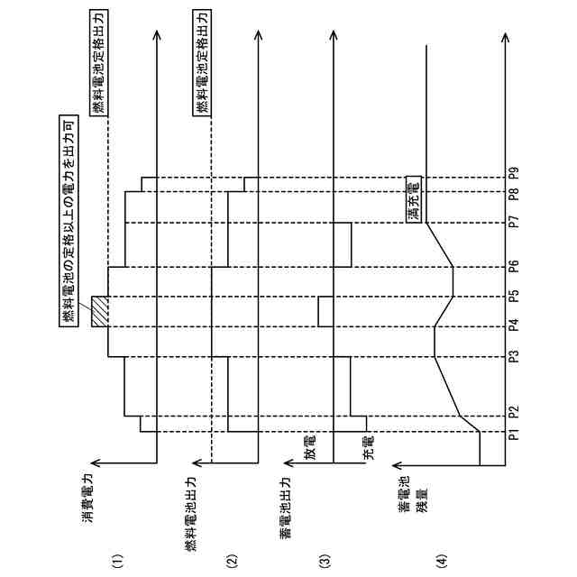
負荷30の消費電力と燃料電池8の出力と蓄電池5の出力及び残量の状態推移を示すグラフである。
第2実施形態の燃料電池システム1のブロック図である。
第3実施形態の燃料電池システム1のブロック図である。
【発明を実施するための形態】
【0008】
本発明の第1実施形態を説明する。参照する図面は、本発明が採用しうる技術的特徴を説明するために用いられる。すなわち、図面に記載されている構成、制御等は、それのみに限定する趣旨ではなく、単なる説明例である。
【0009】
<燃料電池システム1の構成>
図1及び図2を参照して、本実施形態の燃料電池システム1の構成について説明する。燃料電池システム1は、外部電源(系統電源20)がない場合に、環境温度が低くても燃料電池8を起動して負荷30に電力を供給することができる。図1は、燃料電池システム1の主要な構成を示し、スイッチ、回路の切り替え装置、インターフェース回路、及び駆動回路等は周知であるので省略されている。負荷30の一例は、電力供給を受けて動作する任意の電子機器又は電気機器である。
【0010】
燃料電池システム1は、水素吸蔵合金タンク6及び水素吸蔵合金タンク6から供給される水素により発電する燃料電池8を備える。水素吸蔵合金タンク6は、吸熱反応によって水素を放出する水素吸蔵合金を内部に収納し、水素を貯蔵する。従って、水素吸蔵合金により気体と比較して極めて高い水素充填密度を実現することができる。水素吸蔵合金から水素を放出し、燃料電池8に水素を供給可能な供給温度をX1とする。水素吸蔵合金タンク6には、水素吸蔵合金タンク6内の水素の圧力を検出する圧力センサ2及び水素吸蔵合金タンク6を温めるヒータ7が設けられている。また、燃料電池システム1は、制御回路4、温度センサ3、圧力センサ2、電力検出器12、蓄電池5、ACDCコンバータ10、DCACインバータ11、DCDCコンバータ9、ディスプレイ26、スピーカ27、及び操作パネル28を備える。操作パネル28には、負荷給電スイッチ29及び図示しない入力ボタンが設けられている。
(【0011】以降は省略されています)
この特許をJ-PlatPat(特許庁公式サイト)で参照する
関連特許
ブラザー工業株式会社
電子機器
14日前
ブラザー工業株式会社
印刷装置
20日前
ブラザー工業株式会社
水塗布装置
6日前
ブラザー工業株式会社
水塗布装置
6日前
ブラザー工業株式会社
水塗布装置
6日前
ブラザー工業株式会社
水塗布装置
6日前
ブラザー工業株式会社
画像形成装置
11日前
ブラザー工業株式会社
画像形成装置
19日前
ブラザー工業株式会社
画像形成装置
19日前
ブラザー工業株式会社
画像形成装置
19日前
ブラザー工業株式会社
画像形成装置
19日前
ブラザー工業株式会社
シート給送装置
13日前
ブラザー工業株式会社
サポートプログラム
19日前
ブラザー工業株式会社
サポートプログラム
19日前
ブラザー工業株式会社
定着装置及び画像形成装置
11日前
ブラザー工業株式会社
印刷管理システム、サーバ、印刷管理方法
6日前
ブラザー工業株式会社
プログラム、電子装置、方法、及び印刷システム
4日前
ブラザー工業株式会社
情報処理プログラム、情報処理装置、及び情報処理方法
6日前
ブラザー工業株式会社
通信システム、サーバ、および、コンピュータプログラム
19日前
ブラザー工業株式会社
現像カートリッジ
4日前
ブラザー工業株式会社
サポートプログラム
4日前
ブラザー工業株式会社
サポートプログラム
4日前
ブラザー工業株式会社
コンピュータプログラム、データ処理装置、および、シートの製造方法
6日前
ブラザー工業株式会社
タンクセット及び液体消費装置
11日前
ブラザー工業株式会社
情報処理プログラム、情報処理装置、情報処理方法、印刷プログラム、印刷装置、及び印刷方法
21日前
東ソー株式会社
絶縁電線
27日前
APB株式会社
蓄電セル
25日前
個人
フレキシブル電気化学素子
1か月前
日新イオン機器株式会社
イオン源
1か月前
ローム株式会社
半導体装置
1か月前
株式会社東芝
端子台
19日前
株式会社ユーシン
操作装置
1か月前
マクセル株式会社
電源装置
19日前
ローム株式会社
半導体装置
26日前
三菱電機株式会社
回路遮断器
6日前
太陽誘電株式会社
コイル部品
1か月前
続きを見る
他の特許を見る