TOP
|
特許
|
意匠
|
商標
特許ウォッチ
Twitter
他の特許を見る
10個以上の画像は省略されています。
公開番号
2025153379
公報種別
公開特許公報(A)
公開日
2025-10-10
出願番号
2024055843
出願日
2024-03-29
発明の名称
画像形成装置
出願人
ブラザー工業株式会社
代理人
弁理士法人第一テクニカル国際特許事務所
主分類
B41J
29/42 20060101AFI20251002BHJP(印刷;線画機;タイプライター;スタンプ)
要約
【課題】画像形成装置に関して締結されている契約内容を、操作パネルと操作パネル以外の別の手段の両方で確認できるようにする。
【解決手段】プリンタ200は、画像形成部290と、タッチパネル240と、プロセッサ210と、通信インタフェース270と、を備えたプリンタ200であって、プロセッサ210は、プリンタ200を対象とする所定の契約が締結されているか否かを判定するステップS10と、ステップS10で契約が締結されていると判定された場合に、契約の契約内容を、タッチパネル240に表示させるステップS50と、ステップS50で表示された契約内容を、画像形成部290による印刷、通信インタフェース270によるモバイル端末300へのメール送信、及び、タッチパネル240による二次元コード情報の表示、のいずれかで出力するステップS100,S200,S300と、を実行する。
【選択図】図15
特許請求の範囲
【請求項1】
画像形成部と、
パネルと、
制御部と、
通信部と、
を備えた画像形成装置であって、
前記制御部は、
前記画像形成装置を対象とする契約が締結されているか否かを判定する契約判定処理と、
前記契約判定処理で前記契約が締結されていると判定された場合に、前記契約の契約内容を、前記パネルに表示させる契約表示処理と、
前記契約表示処理で表示された前記契約内容を、前記画像形成部による印刷、前記通信部によるユーザ端末へのメール送信、及び、前記パネルによる二次元コード情報の表示、のいずれかで出力する出力処理と、
を実行することを特徴とする画像形成装置。
続きを表示(約 1,100 文字)
【請求項2】
前記制御部は、前記契約判定処理で前記契約が締結されていると判定された場合に、
前記パネルに対する操作に基づき、前記契約表示処理を実行する
ことを特徴とする請求項1に記載の画像形成装置。
【請求項3】
前記制御部は、前記契約判定処理で前記契約が締結されていると判定された場合に、
定められた周期ごとに、前記契約表示処理を実行する
ことを特徴とする請求項1に記載の画像形成装置。
【請求項4】
前記契約内容は、
契約プラン情報、印刷履歴情報、前記契約における支払情報、前記画像形成装置に用いられる消耗品の発送情報を含み、
前記制御部は、さらに、
前記契約表示処理を実行する前に、前記契約プラン情報、前記印刷履歴情報、前記支払情報及び前記発送情報の中から、表示する前記契約内容をユーザに選択させるためのリストを表示するリスト表示処理を実行する
ことを特徴とする請求項2に記載の画像形成装置。
【請求項5】
前記制御部は、さらに、
前記出力処理で前記印刷が選択された場合に、前記契約内容に関わる印刷データの生成が可能か否かを判定する第1判定処理と、
前記第1判定処理で生成可能と判定した場合に、前記印刷データを生成する生成処理と、
前記第1判定処理で生成不可能と判定した場合に、前記印刷データの生成を前記通信部を介してサーバに要求する要求処理と、
を実行することを特徴とする請求項1に記載の画像形成装置。
【請求項6】
前記制御部は、さらに、
前記生成処理または前記要求処理の後に、前記画像形成部により印刷するための用紙に関する用紙条件が満たされているか否かを判定する第2判定処理と、
前記第2判定処理で前記用紙条件を満たさないと判定した場合に、エラーを前記パネルに表示するエラー表示処理と、
前記第2判定処理で前記用紙条件を満たすと判定した場合に、前記印刷データを前記画像形成部により印刷する印刷処理と、
を実行することを特徴とする請求項5に記載の画像形成装置。
【請求項7】
前記契約は、
前記画像形成装置を使って印刷可能な許容印刷枚数を、ユーザが購入する契約である
ことを特徴とする請求項1に記載の画像形成装置。
【請求項8】
前記契約は、
定額で、所定期間の間に前記画像形成装置を使って印刷可能な許容印刷枚数を設定する契約である
ことを特徴とする請求項1に記載の画像形成装置。
発明の詳細な説明
【技術分野】
【0001】
本開示は、契約に基づき動作する画像形成装置に関する。
続きを表示(約 1,900 文字)
【背景技術】
【0002】
特許文献1では、サーバが、契約締結済の印刷装置に対してデータ通信を行う。さらに、サーバが、印刷装置における消耗品の消費量情報を取得する。その後、サーバが、消耗品の消費状況が締結済の契約に対して適正か否かを判断する。
【先行技術文献】
【特許文献】
【0003】
特開2004-199394号公報
【発明の概要】
【発明が解決しようとする課題】
【0004】
上記従来技術では、契約内容は印刷装置の操作パネルに表示されている。しかし、操作パネルが小型である場合、契約内容が確認しにくい可能性がある。
【0005】
本開示の目的は、画像形成装置に関して締結されている契約内容を、操作パネルと操作パネル以外の別の手段の両方で確認できる画像形成装置を提供することにある。
【課題を解決するための手段】
【0006】
上記目的を達成するために、本開示の画像形成装置は、画像形成部と、パネルと、制御部と、通信部と、を備えた画像形成装置であって、前記制御部は、前記画像形成装置を対象とする契約が締結されているか否かを判定する契約判定処理と、前記契約判定処理で前記契約が締結されていると判定された場合に、前記契約の契約内容を、前記パネルに表示させる契約表示処理と、前記契約表示処理で表示された前記契約内容を、前記画像形成部による印刷、前記通信部によるユーザ端末へのメール送信、及び、前記パネルによる二次元コード情報の表示、のいずれかで出力する出力処理と、を実行する。
【0007】
本開示の画像形成装置においては、制御部は、契約判定処理で画像形成装置を対象とする所定の契約が締結されていると判定した場合には、契約表示処理と、出力処理とを実行する。契約表示処理では、契約の契約内容がパネルに表示される。出力処理では、契約表示処理で表示された契約内容が、画像形成部による印刷、通信部によるユーザ端末へのメール送信、及び、パネルによる二次元コード情報の表示、のいずれかで出力される。
これにより、ユーザは、契約内容を、パネルとパネル以外の別の手段の両方で確認できるので、操作パネルが小型である場合でも契約内容を容易に確認することができる。
【発明の効果】
【0008】
本開示によれば、画像形成装置に関して締結されている契約内容を、画像形成装置の操作パネルと操作パネル以外の別の手段の両方で確認することができる。
【図面の簡単な説明】
【0009】
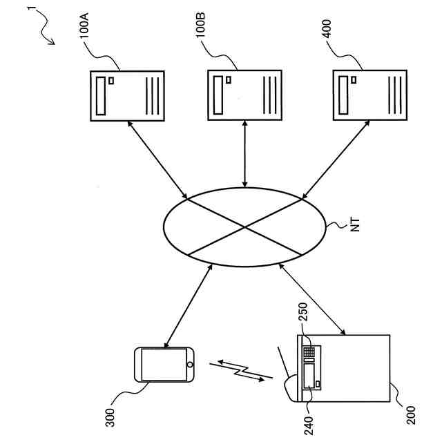
実施形態に係る印刷システムのシステム構成の一例を表すブロック図である。
サーバの構成の一例を表すブロック図である。
プリンタの構成の一例を表すブロック図である。
モバイル端末の構成の一例を表すブロック図である。
印刷サービス提供システムにより提供されるオンデマンド印刷サービスの概要の一例を表す説明図である。
印刷サービス提供システムにより提供されるサブスクリプション印刷サービスの概要の一例を表す説明図である。
タッチパネルに表示されるメイン画面の一例を表す図である。
タッチパネルに表示される設定画面の一例を表す図である。
タッチパネルに表示される契約内容画面の一例を表す図である。
タッチパネルに表示される契約プラン画面の一例を表す図である。
タッチパネルに表示される印刷履歴画面の一例を表す図である。
タッチパネルに表示される出力選択画面の一例を表す図である。
印刷履歴情報が印刷されたシートの一例を表す図である。
タッチパネルに表示される二次元コードの一例を表す図である。
プリンタのプロセッサにより実行される制御手順の一例を表すフローチャートである。
印刷処理における制御手順の一例を表すフローチャートである。
メール送信処理における制御手順の一例を表すフローチャートである。
二次元コード表示処理における制御手順の一例を表すフローチャートである。
変形例においてタッチパネルに表示されるメイン画面の一例を表す図である。
変形例においてプリンタのプロセッサにより実行される制御手順の一例を表すフローチャートである。
【発明を実施するための形態】
【0010】
以下、実施形態について図面を参照しつつ説明する。
(【0011】以降は省略されています)
この特許をJ-PlatPat(特許庁公式サイト)で参照する
関連特許
ブラザー工業株式会社
印刷装置
16日前
ブラザー工業株式会社
印刷装置
4日前
ブラザー工業株式会社
画像形成装置
3日前
ブラザー工業株式会社
画像形成装置
3日前
ブラザー工業株式会社
画像形成装置
19日前
ブラザー工業株式会社
画像形成装置
3日前
ブラザー工業株式会社
画像形成装置
3日前
ブラザー工業株式会社
サポートプログラム
3日前
ブラザー工業株式会社
サポートプログラム
3日前
ブラザー工業株式会社
プリンタおよびプログラム
5日前
ブラザー工業株式会社
プリンタおよびプログラム
5日前
ブラザー工業株式会社
インクジェット記録方法及び印刷物
18日前
ブラザー工業株式会社
プログラム、データ処理装置、および、データ処理方法
5日前
ブラザー工業株式会社
通信システム、サーバ、および、コンピュータプログラム
3日前
ブラザー工業株式会社
プリンタ
18日前
ブラザー工業株式会社
カセット
19日前
ブラザー工業株式会社
画像形成装置
9日前
ブラザー工業株式会社
ラベル巻付装置
19日前
ブラザー工業株式会社
情報処理プログラム、情報処理装置、情報処理方法、印刷プログラム、印刷装置、及び印刷方法
5日前
ブラザー工業株式会社
記録装置、記録装置用消耗品、及び情報処理方法
19日前
個人
箔熱転写装置
1か月前
シヤチハタ株式会社
印判
5か月前
シヤチハタ株式会社
反転式印判
9か月前
三光株式会社
感熱記録材料
6か月前
キヤノン株式会社
記録装置
1か月前
独立行政法人 国立印刷局
印刷物
7か月前
独立行政法人 国立印刷局
記録媒体
9か月前
株式会社リコー
画像形成装置
1か月前
株式会社リコー
液体吐出装置
8か月前
株式会社リコー
液体吐出装置
6か月前
日本製紙株式会社
感熱記録体
8か月前
株式会社リコー
液体吐出装置
9か月前
株式会社リコー
液体吐出装置
8か月前
株式会社リコー
液体吐出装置
2か月前
株式会社リコー
画像形成装置
1か月前
株式会社リコー
印刷システム
1か月前
続きを見る
他の特許を見る